Foram encontradas 120 questões.
- Educação Ambiental
- Politicas Públicas e Aspectos Legais
- Saneamento ambientalResíduos Sólidos
- Saneamento Geral
Em observância aos preceitos da Política Nacional de Resíduos Sólidos, uma empresa resolveu implantar projeto de coleta seletiva e encaminhamento à reciclagem dos resíduos sólidos gerados em seus escritórios. Esses resíduos constituem-se, primordialmente, de papéis, copos descartáveis e resíduos orgânicos do refeitório. Para a eficácia desse projeto, lixeiras de coleta seletiva foram espalhadas por toda a área da empresa, e o conselho responsável pela implantação do projeto iniciou campanha educativa junto aos seus funcionários.
A respeito dessa situação hipotética, julgue o próximo item.
Conforme padrão empregado em coleta seletiva, as lixeiras de cor verde receberão maior quantidade de resíduos na referida empresa.
Provas
Em observância aos preceitos da Política Nacional de Resíduos Sólidos, uma empresa resolveu implantar projeto de coleta seletiva e encaminhamento à reciclagem dos resíduos sólidos gerados em seus escritórios. Esses resíduos constituem-se, primordialmente, de papéis, copos descartáveis e resíduos orgânicos do refeitório. Para a eficácia desse projeto, lixeiras de coleta seletiva foram espalhadas por toda a área da empresa, e o conselho responsável pela implantação do projeto iniciou campanha educativa junto aos seus funcionários.
A respeito dessa situação hipotética, julgue o próximo item.
No refeitório, os resíduos alimentares podem ser encaminhados para compostagem, devendo ser, preferencialmente, segregados dos demais resíduos na fonte geradora.
Provas
A temperatura efetiva e a temperatura operativa estão entre os índices ambientais usados na avaliação do conforto térmico propiciado por um espaço ocupado. Acerca desses dois índices, julgue o item subsequente.
A diferença entre a temperatura efetiva e a temperatura operativa consiste no calor latente resultante da evaporação do suor a partir da pele.
Provas
Acerca de mecânica dos fluidos, julgue os itens de 81 a 88.
Para se determinar o fator de atrito em escoamentos através de condutos, pode-se desconsiderar o efeito da rugosidade superficial se o escoamento acontece em regime laminar, mas não se ocorre em regime turbulento.
Provas
Acerca de mecânica dos fluidos, julgue os itens de 81 a 88.
Considere que seja igual a 1 mm a espessura da camada limite laminar desenvolvida ao longo de uma placa plana horizontal no momento em que a velocidade do escoamento for de 1 m . s-1 na posição x = 0,4 m a partir do bordo de ataque da placa. Nessa situação, se a velocidade do escoamento for reduzida para 0,25 m . s-1 na posição x = 1,6 m, a espessura da camada limite, nessa posição, será de 4 mm.
Provas
Em um ponto de um material isotrópico, cujo elemento de tensões está mostrado na figura a seguir, as tensões principais são σ1 = 190 MPa, σ2 = 90 MPa e σ3 = 0.

Provas
Julgue o próximo item com base nos princípios da mecânica.
Se um corpo rígido gira em torno de um eixo passando pelo seu centro de gravidade, a energia cinética translacional será sempre nula.
Provas
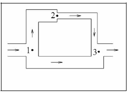
Acerca de mecânica dos fluidos, julgue os itens de 81 a 88.
Considere que a figura abaixo ilustre uma rede de condutos composta por três trechos distintos de tubulação. Nessa rede, se a perda de carga entre os pontos 1 e 2 for de 8 m e a perda de carga entre os pontos 1 e 3 for de 12 m, a perda de carga entre os pontos 2 e 3 será igual a 10 m.

Provas

A figura acima ilustra uma viga engastada, de comprimento L, feita com material de módulo de elasticidade E. A viga tem momento de inércia da secção reta igual a Iz e está submetida a uma carga q distribuída em todo o seu comprimento e a uma carga concentrada P na extremidade B.
Tendo como referência a situação acima, julgue o item subsequente.
Na situação apresentada, o esforço cortante e o momento fletor na extremidade B são nulos.
Provas
Acerca de mecânica dos fluidos, julgue os itens de 81 a 88.
Se um bloco cúbico de lado igual a 10 cm e peso igual a 10 N deslizar em um plano com inclinação de 30º sobre um filme de óleo de espessura igual a 1 mm, com velocidade terminal constante de 4 m . s-1 , então a viscosidade dinâmica do óleo será igual a 1,25 × 10-1 kg . m-1 . s-1 .
Provas
Caderno Container