Foram encontradas 421 questões.
Nas instalações elétricas de baixa tensão, a seção dos condutores de cobre, de aterramento, enterrados em solos ácidos ou alcalinos, e não protegidos contra corrosão, NÃO deve ser inferior a
Provas
Questão presente nas seguintes provas
Nos projetos de alvenaria estrutural com o emprego de blocos de concreto, nos pilares armados, devem-se dispor estribos de
diâmetro mínimo 5 mm, com espaçamento que não exceda a
Provas
Questão presente nas seguintes provas
- Gerenciamento, Planejamento e Controle de Obras
- Orçamento no Planejamento e Controle de Obras na Engenharia Civil
No planejamento e elaboração de orçamento para a construção de paredes de alvenaria de blocos de concreto com espessura
de 19 cm utilizou-se a composição de custos unitários abaixo.
O custo, em reais, para a construção de 140 m2 de alvenaria, é
O custo, em reais, para a construção de 140 m2 de alvenaria, é
Provas
Questão presente nas seguintes provas
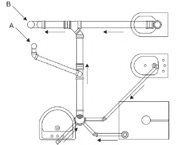
Considere a instalação hidrossanitária da figura abaixo.
A tubulação indicada com a letra A é de
A tubulação indicada com a letra A é de
Provas
Questão presente nas seguintes provas
Considere uma viga de ponte engastada em uma extremidade e a outra apoiada, com 4 m de vão.
Se a viga estiver submetida a um carregamento uniformemente distribuído de 40 kN/m, o valor do momento fletor máximo que traciona as fibras inferiores, em kNm, é
Se a viga estiver submetida a um carregamento uniformemente distribuído de 40 kN/m, o valor do momento fletor máximo que traciona as fibras inferiores, em kNm, é
Provas
Questão presente nas seguintes provas
Considere uma viga biapoiada submetida a uma carga uniformemente distribuída de 20 kN/m representada na figura abaixo.
O momento fletor máximo, em kNm, é
O momento fletor máximo, em kNm, é
Provas
Questão presente nas seguintes provas
Uma obra pública apresentou o projeto abaixo de estaqueamento de um pilar.

Dados do projeto:
- Recalque admissível para a estrutura = 15 mm.
- Carga correspondente ao recalque admissível = 600 kN.
- Carga de ruptura obtida a partir de prova de carga executada no início da obra = 1650 kN.
- Carga do Pilar = 2200 kN.
A carga admissível, desprezando o efeito do tamanho da fundação, é
Provas
Questão presente nas seguintes provas
Para as obras de escavação de um túnel, considere o perfil geotécnico abaixo.
Dados:
- Peso específico natural da areia cinza = 16,0 kN/m3
- Peso específico da argila amarela acima do nível d’água (NA) = 17,0 kN/m3
- Peso específico saturado da argila amarela = 18,5 kN/m3
- Peso específico saturado da areia siltosa cinza = 19,5 kN/m3
Os valores das tensões efetivas, em kPa, nos pontos A, B e C são, respectivamente,
Dados:
- Peso específico natural da areia cinza = 16,0 kN/m3
- Peso específico da argila amarela acima do nível d’água (NA) = 17,0 kN/m3
- Peso específico saturado da argila amarela = 18,5 kN/m3
- Peso específico saturado da areia siltosa cinza = 19,5 kN/m3
Os valores das tensões efetivas, em kPa, nos pontos A, B e C são, respectivamente,
Provas
Questão presente nas seguintes provas
Para as obras de infraestrutura territorial de um município, considere a área abaixo onde se projeta um plano inclinado com
rampa de 2% da estaca 1 para a estaca 5.
Dados: - Quadriculação de 20 em 20 metros. - Projeto de terraplenagem com compensação de terra. - Cota final para volumes de corte e aterro iguais = 42,40 m.
Para a rampa de 2%, as cotas das estacas A-1, A-2, A-3, A-4 e A-5 são, em metros, respectivamente,
Dados: - Quadriculação de 20 em 20 metros. - Projeto de terraplenagem com compensação de terra. - Cota final para volumes de corte e aterro iguais = 42,40 m.
Para a rampa de 2%, as cotas das estacas A-1, A-2, A-3, A-4 e A-5 são, em metros, respectivamente,
Provas
Questão presente nas seguintes provas
Nos sistemas enterrados para condução de esgoto sanitário, em projetos de redes coletoras com tubos de PVC, os Poços de
Visita (PV) devem ser obrigatoriamente usados nas extremidades de sifões invertidos e passagens forçadas e nos casos em que
os órgãos acessórios estiverem em profundidade superior a
Provas
Questão presente nas seguintes provas
Cadernos
Caderno Container