Foram encontradas 539 questões.
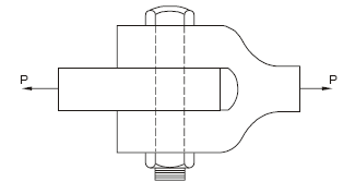
A ligação da figura está unida por um parafuso com diâmetro de 20 mm e submetida a uma força de tração P = 31,42 kN.

Nessas condições, a tensão de cisalhamento no parafuso é
Provas
Para a viga submetida a uma carga concentrada, como ilustrada na figura, a seguir,

o esforço cortante máximo é
Provas
Se uma barra de aço com comprimento de 20 cm alongase 2 mm quando sofre um aumento de temperatura de 50 ºC, então o coeficiente de dilatação térmica do material da barra é
Provas
Considere a ilustração a seguir.

Se a uma barra de aço, cujo comportamento estrutural é ilustrado no gráfico tensão-deformação, com comprimento de 1 m e área da seção transversal de 10 cm2, for tracionada por uma força axial de 20 kN, o seu alongamento será
Provas
A barra rígida da figura, a seguir, é suportada por dois cabos de aço nos pontos A e B e submetida às forças P1 = 5 kN, P2 = 30 kN e P3 = 5 kN.

Se o módulo de elasticidade do aço é 200 GPa e a área da seção transversal dos cabos é 1,6 cm2, o cabo B sofrerá um alongamento de
Provas
A estaca cravada por meio de macaco hidráulico, apoiado sobre estrutura existente ou em construção ou em cargueira, especialmente construída para tal, que não produz impacto ou vibração, é denominada estaca
Provas
Para trabalhos em cavas de fundação, que devem ser pisadas por pessoas, é indispensável que haja espaço de trabalho com largura mínima de
Provas
Com o objetivo de melhorar as condições de estabilidade e reduzir a velocidade de escoamento das águas superficiais do talude, é obrigatório o uso de patamares para escavações com profundidade superior a
Provas
Considere a figura a seguir.

Para que a reação no apoio A da viga da figura seja nula (RA = 0), a carga P aplicada na extremidade do balanço vale
Provas
As areias são solos não coesivos e não plásticos, formados por minerais ou partículas de rochas com diâmetros compreendidos entre
Provas
Caderno Container