Foram encontradas 80 questões.
Analise as afirmações abaixo, que constam nas disposições gerais da Lei 8666.
I - Tanto obras quanto serviços podem ser contratados por empreitada por preço global.
II - Empreitadas por preço unitário só podem ser contratadas para serviços.
III - São consideradas obras, compras e serviços de grande vulto aqueles cujo valor estimado seja superior a 10 vezes o limite estabelecido para licitações na modalidade concorrência.
É(São) verdadeira(s) apenas a(s) afirmativa(s):
Provas
No projeto de uma estrada, a distância entre os pontos P (estaca 21 + 12,50 m) e Q (estaca 12 + 18,40 m), que se encontram num trecho em tangente, vale, em metros:
Provas
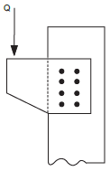
Observe os conectores de pequeno comprimento que fazem a emenda da chapa de ligação que recebe a carga Q, conforme abaixo esquematizado, no trecho de uma estrutura metálica.

Esses conectores estão sujeitos exclusivamente a esforços:
Provas
Text 1
WHY DO WE NEED OIL AND GAS?
Oil and natural gas are an important part of your everyday life. Not only do they give us mobility, they heat and cool our homes and provide electricity. Millions of products are made from oil and gas, including plastics, life-saving medications, clothing, cosmetics, and many other items you may use daily.
In the United States, 97% of the energy that drives the transportation sector (cars, buses, subways, railroads, airplanes, etc.) comes from fuels made from oil. Auto manufacturers are developing cars to run on alternate fuels such as electricity, hydrogen and ethanol. However, the electric batteries need to be charged and the fuel to generate the electricity could be oil or gas. The hydrogen needed for fuel cells may be generated from natural gas or petroleum-based products. Even as alternative fuels are developed, oil will be crucially important to assuring that people can get where they need to be and want to go for the foreseeable future. Unless there is an increase in the penetration of new technologies, alternative fuels are not expected to become competitive with oil for transportation before 2025.
World population is currently around 6 billion people, but is expected to grow to approximately 7.6 billion by 2020. That will mean a huge increase in the demand for transportation fuels, electricity, and many other consumer products made from oil and natural gas.
The world economy runs on these fuels. They improve your quality of life by providing you with transportation, warmth, light, and many everyday products. They enable you to get where you need to go, they supply products you need, and they create jobs. Without them, quality of life would decline and people in developing nations would not be able to improve their standard of living.
http://www.spe.org/spe/jsp/basic/0,1104_1008218_1108884,00.html
Text 2
CONCEPTS OF LEADERSHIP
Good leaders are made, not born. If you have the desire and willpower, you can become an effective leader. Good leaders develop through a never ending process of self-study, education, training, and experience.
To inspire your workers into higher levels of teamwork, there are certain things you must be, know, and do. These do not come naturally, but are acquired through continual work and study. Good leaders are continually working and studying to improve their leadership skills.
Before we get started, let’s define leadership. Leadership is a process by which a person influences others to accomplish an objective and directs the organization in a way that makes it more cohesive and coherent. Leaders carry out this process by applying their leadership attributes, such as beliefs, values, ethics, character, knowledge, and skills. Although your position as a manager, supervisor, lead, etc. gives you the authority to accomplish certain tasks and objectives in the organization, this power does not make you a leader...it simply makes you the boss. Leadership differs in that it makes the followers want to achieve high goals, rather than simply bossing people around.
The basis of good leadership is honorable character and selfless service to your organization. In your employees’ eyes, your leadership is everything you do that effects the organization’s objectives and their well being. Respected leaders concentrate on what they are (such as beliefs and character), what they know (such as job, tasks, and human nature), and what they do (such as implementing, motivating, and providing direction).
http://www.nwlink.com/~donclark/leader/leadcon.html
In the sentence, “Leaders carry out this process by applying their leadership attributes, such as beliefs, values…and skills”, the underlined expression means the same as:
Provas
Text 2
CONCEPTS OF LEADERSHIP
Good leaders are made, not born. If you have the desire and willpower, you can become an effective leader. Good leaders develop through a never ending process of self-study, education, training, and experience.
To inspire your workers into higher levels of teamwork, there are certain things you must be, know, and do. These do not come naturally, but are acquired through continual work and study. Good leaders are continually working and studying to improve their leadership skills.
Before we get started, let’s define leadership. Leadership is a process by which a person influences others to accomplish an objective and directs the organization in a way that makes it more cohesive and coherent. Leaders carry out this process by applying their leadership attributes, such as beliefs, values, ethics, character, knowledge, and skills. Although your position as a manager, supervisor, lead, etc. gives you the authority to accomplish certain tasks and objectives in the organization, this power does not make you a leader...it simply makes you the boss. Leadership differs in that it makes the followers want to achieve high goals, rather than simply bossing people around.
The basis of good leadership is honorable character and selfless service to your organization. In your employees’ eyes, your leadership is everything you do that effects the organization’s objectives and their well being. Respected leaders concentrate on what they are (such as beliefs and character), what they know (such as job, tasks, and human nature), and what they do (such as implementing, motivating, and providing direction).
http://www.nwlink.com/~donclark/leader/leadcon.html
In the sentence, “Leaders carry out this process by applying their leadership attributes, such as beliefs, values…and skills”, the underlined expression means the same as:
Provas
Text 2
CONCEPTS OF LEADERSHIP
Good leaders are made, not born. If you have the desire and willpower, you can become an effective leader. Good leaders develop through a never ending process of self-study, education, training, and experience.
To inspire your workers into higher levels of teamwork, there are certain things you must be, know, and do. These do not come naturally, but are acquired through continual work and study. Good leaders are continually working and studying to improve their leadership skills.
Before we get started, let’s define leadership. Leadership is a process by which a person influences others to accomplish an objective and directs the organization in a way that makes it more cohesive and coherent. Leaders carry out this process by applying their leadership attributes, such as beliefs, values, ethics, character, knowledge, and skills. Although your position as a manager, supervisor, lead, etc. gives you the authority to accomplish certain tasks and objectives in the organization, this power does not make you a leader...it simply makes you the boss. Leadership differs in that it makes the followers want to achieve high goals, rather than simply bossing people around.
The basis of good leadership is honorable character and selfless service to your organization. In your employees’ eyes, your leadership is everything you do that effects the organization’s objectives and their well being. Respected leaders concentrate on what they are (such as beliefs and character), what they know (such as job, tasks, and human nature), and what they do (such as implementing, motivating, and providing direction).
http://www.nwlink.com/~donclark/leader/leadcon.html
According to Text 2 , the difference between bosses and leaders is that:
Provas
Text 2
CONCEPTS OF LEADERSHIP
Good leaders are made, not born. If you have the desire and willpower, you can become an effective leader. Good leaders develop through a never ending process of self-study, education, training, and experience.
To inspire your workers into higher levels of teamwork, there are certain things you must be, know, and do. These do not come naturally, but are acquired through continual work and study. Good leaders are continually working and studying to improve their leadership skills.
Before we get started, let’s define leadership. Leadership is a process by which a person influences others to accomplish an objective and directs the organization in a way that makes it more cohesive and coherent. Leaders carry out this process by applying their leadership attributes, such as beliefs, values, ethics, character, knowledge, and skills. Although your position as a manager, supervisor, lead, etc. gives you the authority to accomplish certain tasks and objectives in the organization, this power does not make you a leader...it simply makes you the boss. Leadership differs in that it makes the followers want to achieve high goals, rather than simply bossing people around.
The basis of good leadership is honorable character and selfless service to your organization. In your employees’ eyes, your leadership is everything you do that effects the organization’s objectives and their well being. Respected leaders concentrate on what they are (such as beliefs and character), what they know (such as job, tasks, and human nature), and what they do (such as implementing, motivating, and providing direction).
http://www.nwlink.com/~donclark/leader/leadcon.html
“To inspire your workers into higher levels of teamwork” means to:
Provas
Text 2
CONCEPTS OF LEADERSHIP
Good leaders are made, not born. If you have the desire and willpower, you can become an effective leader. Good leaders develop through a never ending process of self-study, education, training, and experience.
To inspire your workers into higher levels of teamwork, there are certain things you must be, know, and do. These do not come naturally, but are acquired through continual work and study. Good leaders are continually working and studying to improve their leadership skills.
Before we get started, let’s define leadership. Leadership is a process by which a person influences others to accomplish an objective and directs the organization in a way that makes it more cohesive and coherent. Leaders carry out this process by applying their leadership attributes, such as beliefs, values, ethics, character, knowledge, and skills. Although your position as a manager, supervisor, lead, etc. gives you the authority to accomplish certain tasks and objectives in the organization, this power does not make you a leader...it simply makes you the boss. Leadership differs in that it makes the followers want to achieve high goals, rather than simply bossing people around.
The basis of good leadership is honorable character and selfless service to your organization. In your employees’ eyes, your leadership is everything you do that effects the organization’s objectives and their well being. Respected leaders concentrate on what they are (such as beliefs and character), what they know (such as job, tasks, and human nature), and what they do (such as implementing, motivating, and providing direction).
http://www.nwlink.com/~donclark/leader/leadcon.html
Text 2 affirms that good leaders:
Provas
Text 1
WHY DO WE NEED OIL AND GAS?
Oil and natural gas are an important part of your everyday life. Not only do they giveA) us mobility, they heat and cool our homes and provide electricity. Millions of products are made from oil and gas, including plastics, life-saving medications, clothing, cosmetics, and many other items you may use daily.
In the United States, 97% of the energy that drives the transportation sector (cars, buses, subways, railroads, airplanes, etc.) comes from fuels made from oil. Auto manufacturers are developing cars to run on alternate fuels such as electricityB), hydrogen and ethanol. However, the electric batteriesC) need to be charged and the fuel to generate the electricity could be oil or gas. The hydrogen needed for fuel cells may be generated from natural gas or petroleum-based products. Even as alternative fuels are developedD), oil will be crucially important to assuring that people can get where they need to be and want to go for the foreseeable future. Unless there is an increase in the penetration of new technologies, alternative fuels are not expected to become competitive with oil for transportation before 2025.
World population is currently around 6 billion people, but is expected to grow toE) approximately 7.6 billion by 2020. That will mean a huge increase in the demand for transportation fuels, electricity, and many other consumer products made from oil and natural gas.
The world economy runs on these fuels. They improve your quality of life by providing you with transportation, warmth, light, and many everyday products. They enable you to get where you need to go, they supply products you need, and they create jobs. Without them, quality of life would decline and people in developing nations would not be able to improve their standard of living.
http://www.spe.org/spe/jsp/basic/0,1104_1008218_1108884,00.html
Check the item in which there is a correct correspondence between the underlined words and the idea in italics.
Provas
Text 1
WHY DO WE NEED OIL AND GAS?
Oil and natural gas are an important part of your everyday life. Not only do they give us mobility, they heat and cool our homes and provide electricity. Millions of products are made from oil and gas, including plastics, life-saving medications, clothing, cosmetics, and many other items you may use daily.
In the United States, 97% of the energy that drives the transportation sector (cars, buses, subways, railroads, airplanes, etc.) comes from fuels made from oil. Auto manufacturers are developing cars to run on alternate fuels such as electricity, hydrogen and ethanol. However, the electric batteries need to be charged and the fuel to generate the electricity could be oil or gas. The hydrogen needed for fuel cells may be generated from natural gas or petroleum-based products. Even as alternative fuels are developed, oil will be crucially important to assuring that people can get where they need to be and want to go for the foreseeable future. Unless there is an increase in the penetration of new technologies, alternative fuels are not expected to become competitive with oil for transportation before 2025.
World population is currently around 6 billion people, but is expected to grow to approximately 7.6 billion by 2020. That will mean a huge increase in the demand for transportation fuels, electricity, and many other consumer products made from oil and natural gas.
The world economy runs on these fuels. They improve your quality of life by providing you with transportation, warmth, light, and many everyday products. They enable you to get where you need to go, they supply products you need, and they create jobs. Without them, quality of life would decline and people in developing nations would not be able to improve their standard of living.
http://www.spe.org/spe/jsp/basic/0,1104_1008218_1108884,00.html
In the Text 1, the words “daily” and “currently” could be replaced with, respectively:
Provas
Caderno Container