Foram encontradas 70 questões.
Uma gota de chuva tem massa de 0,05g e cai verticalmente de uma nuvem a 500m de altura em relação ao solo, apenas sujeita à aceleração da gravidade. A gota colide e fica retida em uma placa de aço que se encontra no nível do solo. Sendo sua velocidade inicial nula e desprezando a resistência do ar, a quantidade de movimento transferida da gota para a placa, em kg.m/s, é:
(Dados: aceleração da gravidade = 10m/s2)
Provas
Um equipamento usado em um sistema de proteção emite pulsos sonoros que são refletidos e retornam para o equipamento em forma de eco. Tendo o sistema enviado um pulso e recebido o eco de um obstáculo no tempo de 0,6 s após a sua emissão, é correto afirmar a distância entre o equipamento do sistema de proteção e o obstáculo, em metros, é de:
(Dados: velocidade de propagação do som no ar = 340 m/s)
Provas
Três forças F1, F2 e F3 de módulo igual a 500 N foram aplicadas a três cordas presas a um dinamômetro, que se encontra fixo em uma parede, conforme a figura abaixo.

Considerando-se que as cordas são inelásticas e de massas desprezíveis, a força, em N, medida pelo dinamômetro é:
(Dados: cos 30° = 0,87; sen 30° = 0,50; cos 60° = 0,50; sen 60 = 0,87)
Provas
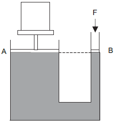
A figura abaixo representa um sistema correspondente a um pequeno macaco hidráulico, sustentando um corpo de massa igual a 20kg. O sistema encontra-se cheio de óleo e os êmbolos A e B possuem massas desprezíveis e seções transversais iguais a 400 cm2 e 10 cm2, respectivamente.

A força F, em newtons, necessária para manter o sistema em equilíbrio é:
(Dados: aceleração da gravidade = 10m/s2)
Provas
Uma carga elétrica puntiforme, com q = 1μC e massa 1x10–7 kg, penetra pelo orifício A de um anteparo, perpendicularmente a um campo magnético uniforme de indução B = 4,0 T, conforme a figura abaixo.

Sabendo-se que a partícula penetra no campo com velocidade de 10,0 m/s, a distância, em metros, do ponto A ao ponto em que a carga colide com o anteparo é:
Provas
Uma fonte emite partículas carregadas que são lançadas perpendicularmente às linhas de força de um campo elétrico uniforme, conforme figura abaixo.

Sobre o comportamento das partículas sob ação do campo elétrico, é correto afirmar que:
Provas
Duas esferas metálicas idênticas, A e B, possuem carga elétrica positiva de mesma intensidade e encontram-se separadas pela distância d. O módulo da força repulsiva que A exerce sobre a esfera B é F. Colocando-se uma esfera C, idêntica às duas primeiras, porém sem carga, em contato com A e, em seguida, afastando-a do sistema, a nova força que B passa a exercer sobre A, mantendo-se a mesma distância d entre A e B, é:
Provas
Dentre as afirmativas abaixo a respeito dos processos de trocas térmicas, assinale aquela que está em DESACORDO com os princípios da Termodinâmica.
Provas
Um gás de massa m sofre um processo termodinâmico, conforme indicado no gráfico abaixo, passando da condição A para a condição B.

O trabalho realizado, em J, é igual a:
Provas
Um corpo de massa 0,5 kg encontra-se encostado em uma mola de 50 cm, conforme a figura abaixo.

A mola, cuja constante é de 400 N/m, foi comprimida até que seu comprimento atingisse 20 cm. Cessada a força que comprime a mola, o corpo foi impulsionado em direção ao topo da rampa (ponto X). Considerando-se que o atrito é nulo, a altura h mínima, em metros, que o plano inclinado deve ter para que o corpo atinja o ponto X sem cair é:
(Dados: aceleração da gravidade = 10 m/s2)
Provas
Caderno Container