Foram encontradas 3.569 questões.
Em uma planta industrial, deseja-se empregar um coletor solar para aquecer água de 25 °C para 35 °C em duas horas. A constante solar incidente no coletor é de 500 !$ \large{W \over m^2} !$ a área do coletor é de 2m2. Supondo que o coletor apresente uma eficiência de 60% e considerando que o calor específico da água vale 4000 !$ \large{J \over kg ºC} !$, o volume de água aquecida, em litros é:
Provas

A figura acima mostra um diagrama tensão x deformação clássico, representativo de um ensaio de tração, conforme preconiza a norma NBR ISO 6892 (Materiais Metálicos – Ensaio de Tração à Temperatura Ambiente). Assinale a alternativa que descreve corretamente as propriedades do material indicadas pelas cotas 14, 17 e 25, respectivamente.
Provas

Um corpo de prova foi usinado a partir de uma chapa de aço para a determinação de suas propriedades mecânicas em um ensaio de tração, conforme a norma NBR ISO 6892 (Materiais Metálicos – Ensaio de Tração à Temperatura Ambiente). Após o ensaio, obteve-se o diagrama tensão x deformação mostrado na figura acima. Pede-se assinalar a resposta que descreve corretamente o fenômeno que ocorre no trecho da curva definido pelas cotas indicadas com os números 23 e 24, e a sua respectiva denominação.
Provas
A partir de uma barra cilíndrica de aço foi usinado um corpo de prova para ensaio de tração segundo a norma NBR ISO 6892. Após o ensaio, observou-se que a curva tensão x deformação do material não apresentou patamar de escoamento bem definido. Assinale a alternativa que descreve o critério utilizado para a determinação da tensão de escoamento, ou tensão convencional de alongamento proporcional deste aço.Segundo esse critério, a tensão é determinada:
Provas
Ensaios de materiais possuem importante papel na caracterização das propriedades mecânicas. Um dos ensaios mais utilizados para esse fim é o Ensaio de Tração, cujo procedimento é preconizado em diversas normas internacionais, tais como ISO, DIN, JIS, ASTM e a norma brasileira NBR ISO 6892.
De acordo com as normas, os relatórios de ensaios de tração devem contemplar algumas informações obrigatórias. Assinale a alternativa que contém duas informações obrigatórias nesses relatórios.
Provas
Em um projeto de dimensionamento preliminar de um tubo, no qual se pretenda utilizar o modelo da Teoria da Elasticidade para Cilindros de Paredes Finas, a tensão normal tangencial média pode ser calculada pela expressão:
!$ σ_t !$ = pdi / 2t onde
!$ σ_t !$ pressão interna;
di – diâmetro interno do tubo;
t – espessura da parede do tubo.
Para se empregar corretamente esta expressão, o critério para se considerar o tubo como sendo de paredes finas é:
Provas
O projeto de vasos de pressão e tubulações que conduzem fluidos a altas pressões, requer cálculos complexos que exigem a aplicação de Teoria de Cascas e/ou do Método de Elementos Finitos. No entanto, a Teoria da Elasticidade Clássica fornece uma solução analítica simples que pode ser aplicada em casos onde, por exemplo, se precisa de uma primeira aproximação do dimensionamento como entrada de dados para cálculos mais sofisticados.
A respeito do modelo clássico da Teoria de Elasticidade para cálculo de tensões em cilindros sujeitos a pressão interna, assinale a alternativa que indica o estado de tensões e a principal hipótese simplificadora do modelo:
| Estado de Tensões |
Hipótese simplificadora do modelo |
Provas
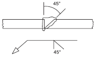
Assinale, dentre as figuras abaixo, aquela que representa corretamente a simbologia de soldagem, de acordo com a norma da American Welding Society (AWS).
Provas
Na soldagem de aços com diferentes níveis de resistência mecânica, por processo de arco elétrico com eletrodo revestido, quais são as recomendações quanto ao eletrodo e aporte térmico?
Provas
Um eixo, apoiado em dois mancais, será submetido a esforços de duas naturezas: flexão alternada (M) e torção constante (T). Na seção de diâmetro d, onde ocorrerão as tensões máximas, existe uma variação geométrica que causará efeito de concentração de tensões (Kf). Assinale a alternativa que expressa o valor das tensões equivalentes média e alternada, pelo critério da máxima energia de distorção (von Mises).
Provas
Caderno Container