Foram encontradas 3.569 questões.
A classe de incêndio identificada pelo fogo em materiais como motores elétricos, transformadores e quadros de distribuição é:
Provas
São agentes físicos que provocam doenças ocupacionais:
Provas
O elemento químico que NÃO contribui para deslocar para a direita o cotovelo da curva TTT, aumentando a temperabilidade dos aços-liga é o:
Provas
Os principais tratamentos térmicos das ligas de alumínio são:
Provas
As estruturas cristalinas da ferrita e da austenita, respectivamente, são:
Provas
Considere o diagrama de fase do aço carbono com 0,8%C na solução sólida eutetóide e 6,7%C na solução sólida de Fe3C.
Em uma liga com 0,2%C à temperatura ambiente, que sofreu resfriamento próximo do equilíbrio, qual a quantidade de perlita?
Provas
Observe a figura abaixo.

Considere o módulo de rigidez igual a 80000 MPa. Qual o ângulo de torção, em radianos, formado no corpo cilíndrico?
Provas
Observe a figura abaixo.

Considere as forças F1 e F2, em N, respectivamente iguais a 1600 e 2400.
Qual a tensão normal, devido a esforço axial, em MPa, na seção transversal da parte B?
Provas
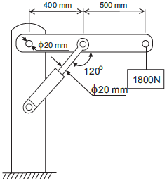
Observe a figura abaixo que representa um guincho composto por uma coluna, uma lança, um atuador hidráulico e pinos nas articulações.

Qual a tensão de cisalhamento, devida a esforço cortante, em MPa, no pino entre a coluna e a lança?
Provas
Quando submetida entre os cilindros de um laminador, uma chapa é solicitada a um esforço do tipo:
Provas
Caderno Container