Foram encontradas 3.569 questões.
Observe a figura abaixo.

Considere as forças F1 e F2, em N, respectivamente iguais a 2.600 e 1.400.
Qual a tensão normal, devido a esforço axial, em MPa, na seção transversal da parte B?
Provas
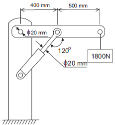
Observe a figura abaixo que representa um guincho composto por uma coluna, uma lança, um atuador hidráulico e pinos nas articulações.

Qual a tensão normal, devido à compressão, em MPa, na haste do atuador hidráulico?
Provas
O tipo de esforço atuante em uma chapa quando esta é submetida entre os cilindros de uma calandra é:
Provas
O pré-aquecimento é uma técnica, utilizada em processos de soldagem, que visa reduzir a velocidade de resfriamento. São objetivos desta técnica:
Provas
Observe a junta soldada abaixo.

A região denominada ZAC (Zona Afetada pelo Calor) ou ZTA (Zona Termicamente Afetada) é identificada em:
Provas
Observe o símbolo abaixo:

Este símbolo é utilizado para representar a seguinte junta soldada:
Provas
O processo de soldagem a arco elétrico que utiliza o eletrodo não consumível é o:
Provas
O cálculo do resultado do ensaio de dureza, expresso pela razão entre a força aplicada no CP e a área da calota esférica deformada, é utilizado no método:
Provas
Para determinar a tensão de escoamento de um material, o ensaio utilizado é o de:
Provas
Os métodos de ensaio de impacto, utilizados para verificar as propriedades dos aços, são:
Provas
Caderno Container