Foram encontradas 3.478 questões.
Supondo que a carga que dará uma vida de 1 milhão de revoluções à pista interna seja de 2700 N, quantos milhões de revoluções dará a vida sob fadiga de um mancal de rolos submetido a uma carga constante de 300 N?
Provas
Sobre alguns dos processos de fabricação mecânica, pode-se afirmar que
I - na extrusão, o material é empurrado contra uma matriz;
II - o produto do forjamento são peças acabadas ou semiacabadas de alta resistência mecânica;
III - na fundição sob pressão, não se utilizam matrizes de areia;
IV - a concentração de alguns elementos nas partes mais frias do molde de areia é denominada de segregação.
São corretas as afirmações
Provas
Um técnico decidiu utilizar uma fresa de 100 mm x 20 mm com 10 dentes, ângulo de saída igual a 18º e ângulo de folga igual a 8º para desbastar uma peça de aço de pressão específica de corte igual a 140 kgf/mm2. Sabe-se que o avanço escolhido foi de 100 mm/min a 30 rpm e a profundidade de corte foi de 4 mm. Considerando o rendimento do motor igual a 90%, o rendimento da correia igual a 90%, o rendimento da máquina igual a 90% e a potência consumida na operação igual a 0,25 CV, qual a potência do motor e a secção total da fita de cavaco?
Provas

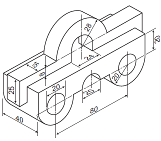
Qual a representação, em 1o diedro, das vistas frontal, lateral esquerda e superior da peça ilustrada acima?
Provas
Um torneiro tem de desbastar um tarugo de !$ varnothing !$ 30 mm x 50 mm para alcançar a dimensão nominal final de 20 mm x 50 mm. Sabendo-se que a rotação escolhida foi de 100 rpm, a profundidade de corte adotada foi de 2,5 mm e a ferramenta avança 1 mm por volta, determine o tempo de operação total e a secção de cavaco.
Provas

Analisando as figuras acima quanto à tolerância geométrica, conclui-se que, em
Provas
A determinação das dimensões nominais e das tolerâncias dos calibradores e contracalibradores de fabricação e recebimento é feita em função dos ajustes padronizados, da dimensão nominal e dos afastamentos admissíveis. Sabendo-se que a usura admissível para o lado PASSA de um calibrador de diâmetro nominal igual a 5 mm é dada pela faixa (2,5 ; 3,5) e que o deslocamento da dimensão do lado PASSA desse mesmo calibrador está na faixa (1,5 ; 2), qual a faixa de desgaste permitida para esse calibrador?
Provas
Pelos dados da tabela de afastamentos acima, o ajuste 24 H6/g7 tem as seguintes características:

|
Ajuste |
Sistema |
Folga (ou interferência) Máxima [!$ mu !$m] |
Folga (ou interferência) Mínima [!$ mu !$m] |
Tolerância de |
Provas
Sobre conceitos básicos da metrologia, analise as afirmativas abaixo.
I - Para que a intercambiabilidade seja obtida, é preciso que as peças sejam fabricadas em uma mesma máquina e por um mesmo operador.
II - Os graus de tolerância IT mais baixos, como o IT2 e o IT3, são reservados para peças de baixa precisão, enquanto os graus de tolerância mais altos são reservados para peças de maior precisão.
III - As tolerâncias de batimento podem ser de três tipos: radial, mista e axial.
IV - No sistema Furo-base, o diâmetro mínimo do furo é sempre igual ao diâmetro nominal do furo.
É correto APENAS o que se afirma em
Provas

As medidas indicadas nos instrumentos ilustrados nas figuras acima são:
Provas
Caderno Container