Foram encontradas 1.925 questões.

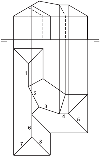
Dentre as arestas identificadas no telhado acima (1 a 8), as que aparecem em VG (Verdadeira Grandeza na projeção horizontal são:
Provas
Questão presente nas seguintes provas
Burle Marx, principal referência nos estudos de paisagismo no Brasil, entende o jardim como um projeto proposto com elementos naturais, referenciados nas “leis que orientam os problemas artísticos”. Segundo o paisagista, ao pensar na solução de um jardim, é necessário que o arquiteto considere os seguintes elementos artísticos:
Provas
Questão presente nas seguintes provas
As diferentes etapas do projeto de um sistema de sinalização para edifício corporativo, ordenadas metodologicamente, compreendem a sequência
Provas
Questão presente nas seguintes provas
Considere as informações abaixo, referentes aos serviços e custos de uma obra, para responder a questão.
S1: R$ 5.000,00
S2: R$ 8.000,00
S3: R$ 10.000,00
S4: R$ 12.000,00
Esses serviços compõem-se das seguintes parcelas: 10% equipamentos, 30% materiais e 60% mão de obra.
Considerando-se que os materiais tiveram um reajuste de 40% nos serviços S1 e S3 e que a mão de obra dos serviços S2 e S4 foi contratada com 30% de desconto, a curva ABC (em ordem crescente de custos) dos serviços passa a ser
Provas
Questão presente nas seguintes provas
Considere as informações abaixo, referentes aos serviços e custos de uma obra, para responder a questão.
S1: R$ 5.000,00
S2: R$ 8.000,00
S3: R$ 10.000,00
S4: R$ 12.000,00
Esses serviços compõem-se das seguintes parcelas: 10% equipamentos, 30% materiais e 60% mão de obra.
Sabendo-se que, no orçamento da obra, do valor destinado aos equipamentos, 20% se referem à manutenção, o custo, em reais, referente aos equipamentos, excluindo-se a manutenção, é
Provas
Questão presente nas seguintes provas
Na arquitetura, a cor pode ser utilizada como ferramenta de comunicação visual. Quando aplicada como fator de segurança, o sistema de aplicação de cores funcionais, para reduzir os riscos de acidentes e acelerar o uso de dispositivos de socorro, tem que
Provas
Questão presente nas seguintes provas
Considere as seguintes sapatas isoladas com suas respectivas medidas da base em metros:
S1: 0,40 !$ \times !$ 1,60
S2: 0,50 !$ \times !$ 1,00
S3: 0,70 !$ \times !$ 1,00
S4: 0,80 !$ \times !$ 1,00
S5: 1,20 !$ \times !$ 1,20
Está(ão) em conformidade com a NBR 6122:2010 (Projeto e execução de fundações), pelo critério da dimensão mínima, a(s) sapata(s)
Provas
Questão presente nas seguintes provas
De acordo com a NBR 6122:2010, para evitar o contato solo–fundação, todas as partes de uma fundação superficial devem ser concretadas com um lastro de concreto
Provas
Questão presente nas seguintes provas
No dimensionamento do poço de sucção (com bomba de sucção constante) em um projeto de estação elevatória de esgoto sanitário, o tempo de detenção média deve ser o menor possível.
De acordo com a NBR 12208:1992 (Projeto de estações elevatórias de esgoto sanitário), o maior valor recomendado, em minutos, é
Provas
Questão presente nas seguintes provas
A diferença de nível entre a superfície do terreno e a geratriz superior externa do coletor, no projeto de rede coletora de esgoto sanitário, é denominada
Provas
Questão presente nas seguintes provas
Cadernos
Caderno Container