Foram encontradas 1.925 questões.
Um navio com coeficiente de seção mestra igual a 0,9 possui comprimento entre perpendiculares, boca e calado, respectivamente iguais a 100, 20 e 4 metros.
Se o volume submerso do navio for igual a 6.300 m3, qual o valor do coeficiente prismático longitudinal?
Provas
Questão presente nas seguintes provas
O centro de carena de um navio caracteriza-se por ser o ponto de aplicação da
Provas
Questão presente nas seguintes provas
O micrômetro de 0 a 25 mm, apresentado na figura abaixo, foi utilizado para medir a espessura da parede de um tubo de aço.

Considerando-se as leituras indicadas nas escalas da bainha e do tambor, qual o valor, em mm, da espessura medida?
Provas
Questão presente nas seguintes provas
O valor do calado de um navio igual a 20 pés e 10 polegadas, quando convertido em metros, corresponde, aproximadamente, a
Provas
Questão presente nas seguintes provas
Em relação aos desenhos técnicos em escala, analise as afirmações a seguir.
I - O valor indicado nas cotas representam as medidas reais do objeto, independente de o mesmo ter sido ampliado ou reduzido no desenho.
II - A escala de redução é aquela onde uma medida linear do objeto real é menor que a sua correspondente medida linear no desenho técnico.
III - As formas e as dimensões angulares do objeto real são mantidas inalteradas nas representações em escala do desenho técnico.
Está correto APENAS o que se afirma em
Provas
Questão presente nas seguintes provas
Considere a representação, em projeção ortográfica, do prisma retangular na figura abaixo.

Correspondem, respectivamente, às vistas superior e lateral esquerda do desenho técnico, no 1º diedro, as posições
Provas
Questão presente nas seguintes provas
A união das peças metálicas é produzida pelo aquecimento e fusão dessas através de um arco elétrico estabelecido entre um eletrodo de tungstênio, não consumível, e as peças a unir. A proteção da poça de fusão e do arco contra a contaminação pela atmosfera é feita por uma nuvem de gás inerte ou mistura de gases inertes.
O processo de soldagem descrito acima é denominado
Provas
Questão presente nas seguintes provas
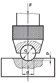
A figura abaixo representa, esquematicamente, um ensaio mecânico destrutivo realizado em um corpo de prova.

O procedimento que consiste em comprimir, por meio de uma carga F, uma esfera de aço temperado, de diâmetro D, sobre uma superfície plana e polida do corpo de prova, durante certo intervalo de tempo, produzindo uma calota esférica de diâmetro d e profundidade p, constitui um ensaio de
Provas
Questão presente nas seguintes provas
Numa junta soldada, a descontinuidade planar caracterizada por uma ponta aguda e uma alta razão comprimento por largura é denominada
Provas
Questão presente nas seguintes provas
A soldagem oxigás é o processo em que a união dos metais é obtida pelo aquecimento desses, com uma chama, até a fusão.
Nesse processo, utiliza-se normalmente como combustível o gás
Provas
Questão presente nas seguintes provas
Cadernos
Caderno Container