Foram encontradas 2.327 questões.
Sobre as etapas do processo de soldagem de tubulações, analise as afirmações a seguir.
I - Todas as juntas de campo, depois de soldadas, inspecionadas e aprovadas, devem ser protegidas pelo revestimento com uma manta de polietileno.
II - Nos cruzamentos, travessias de rios e áreas sujeitas a alagamento, os tubos são soldados por eletroescória de forma a se obter maior proteção para os tubos nesses ambientes.
III - Tie-ins são pontos de ligação entre dois conjuntos previamente lançados, podendo ser entre duas colunas ou entre uma coluna e um cruzamento ou travessia.
IV - A soldagem de tie-ins é sempre executada dentro da vala e entre dois pontos fixos, sendo, por isso, uma soldagem de maior complexidade devido à restrição da junta.
Está correto APENAS o que se afirma em
Provas
Questão presente nas seguintes provas
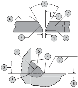
São mostradas abaixo representações de uma junta de topo e de uma junta em ângulo, respectivamente.

Disponível em: http://www.esab.com.br/br/por/Instrucao/biblioteca/
upload/1901103rev0_ApostilaSoldagemTubulacoes.pdf
Acesso em: 6 dez. 2010.
A indicação 2 para a junta de topo e para a junta em ângulo mostra os detalhes conhecidos, respectivamente, como
Provas
Questão presente nas seguintes provas
Durante o processo de soldagem, qual procedimento NÃO é indicado para a redução das deformações?
Provas
Questão presente nas seguintes provas
Na operação de fornos, diversos problemas podem ocorrer. Representa(m) uma preocupação operacional no tocante ao risco de incêndios e explosões a(s)
Provas
Questão presente nas seguintes provas
Em tanques de armazenamento adotados em refinarias de petróleo, o tipo de teto fixo utilizado para os derivados de petróleos mais pesados (como parafina e óleo combustível) e para os produtos químicos (como soda cáustica e amônia) é o
Provas
Questão presente nas seguintes provas


Disponível em: http://www.chdvalvulas.com.br/artigos_tecnicos/caldeiras
Acesso em: 12 jan. 2011. (Adaptado)
As figuras 1 e 2 representam, esquematicamente, caldeiras do tipo
Provas
Questão presente nas seguintes provas
Em um trocador de calor de correntes paralelas, o fluido quente entra a 530 ºC e sai a 330 ºC, e o fluido frio entra a 30 ºC e deverá sair a 230 ºC. A variação média da temperatura em ºC, nesse caso, é igual a
Dado: ln 5 = 1,6
Provas
Questão presente nas seguintes provas
No que se refere às condições de operação e de projeto de vasos de pressão, analise as afirmações a seguir.
I - A pressão máxima de trabalho admissível pode referir-se a cada uma das partes de um vaso ou ao vaso considerado como um todo.
II - O teste hidrostático em vasos de pressão consiste no preenchimento completo do vaso com água ou com outro líquido apropriado, no qual se exerce uma pressão denominada pressão de teste hidrostático.
III - As variações de pressão de operação são sensíveis em qualquer tipo de vaso de pressão.
Está correto o que se afirma em
Provas
Questão presente nas seguintes provas
São materiais adotados em revestimentos internos de vasos de pressão, EXCETO o
Provas
Questão presente nas seguintes provas
Sobre as características e aplicações de alguns tipos de válvulas, afirma-se que as válvulas
Provas
Questão presente nas seguintes provas
Cadernos
Caderno Container