Foram encontradas 650 questões.
Qual das características a seguir diminui a tensão de escoamento de um aço para construção mecânica?
Provas
Questão presente nas seguintes provas
No processo de laminação de aço-carbono, a(o)
Provas
Questão presente nas seguintes provas
Considerando-se as matérias-primas básicas da indústria siderúrgica, analise as afirmativas a seguir.
I - O carvão vegetal atua somente como fornecedor do principal elemento de liga dos produtos siderúrgicos, que é o carbono.
II - O calcário atua como redutor do minério de ferro.
III - O coque atua como fornecedor de calor e carbono para redução do óxido de ferro.
Está correto APENAS o que se afirma em
Provas
Questão presente nas seguintes provas
A figura ilustra um arranjo de conexões em uma tubulação de uma instalação industrial.

Os componentes de tubulação 1, 2, 3, 4 e 5 são utilizados para união entre trechos de tubos ou para a instalação de válvulas.
No arranjo apresentado, o componente
Provas
Questão presente nas seguintes provas
As válvulas de bloqueio são utilizadas em tubulações industriais com a finalidade primordial de permitir a passagem do fluido ou interrompê-lo, não sendo adequadas para a regulagem de um fluxo.
São exemplos de válvulas de bloqueio as válvulas
Provas
Questão presente nas seguintes provas
A união de dois trechos de tubulação em uma instalação hidráulica pode ser realizada segundo diversas concepções de acoplamento.

Os três tipos de união, mostrados nas figuras I, II e III, são, respectivamente,
Provas
Questão presente nas seguintes provas
As figuras ilustram três ferramentas utilizadas para realizar rebaixos, tendo como objetivo eliminar a saliência produzida pela cabeça de um parafuso de fixação.

Um rebaixo cilíndrico e outro cônico podem ser realizados, respectivamente, pelas ferramentas
Provas
Questão presente nas seguintes provas
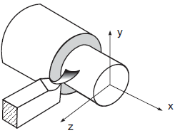
O processo de torneamento de uma peça cilíndrica consiste em três movimentos. Considere os eixos de referência x, y e z indicados na figura.

Os movimentos de avanço e de penetração são obtidos, respectivamente, por
Provas
Questão presente nas seguintes provas
A fim de saber qual o turno de trabalho (1, 2 e 3) é o mais produtivo, a produção de três peças (A, B e C) foi examinada através dos três gráficos apresentados a seguir.

Essa ferramenta de qualidade, que tem por objetivo separar um conjunto de dados de modo a perceber que existe um padrão entre eles, é denominada
Provas
Questão presente nas seguintes provas
O primeiro ensaio não destrutivo a ser utilizado no controle de qualidade de juntas soldadas é o ensaio
Provas
Questão presente nas seguintes provas
Cadernos
Caderno Container