Foram encontradas 60 questões.
Dentro de um tubo horizontal de seção reta igual a 2,0 cm2, como mostrado na figura, flui água a uma pressão de 1,375 × 105 Pa. Ela jorra horizontalmente para o exterior do tubo, que se encontra a uma pressão P0 = 1,000 × 105 Pa, através de um orifício de área igual a 1,0 cm2.

A velocidade de saída da água, em m/s, é
Dados: ρágua = 1,0 × 103 kg/m3
g = 10,0 m/s2
A água é um fluido perfeito.
g = 10,0 m/s2
A água é um fluido perfeito.
Provas
Questão presente nas seguintes provas
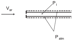
A figura apresenta um tubo de Pitot que mede a velocidade relativa de um fluxo de ar. A pressão Pi é igual à pressão do ponto de estrangulamento em frente ao tubo, enquanto a pressão atmosférica Patm é medida na parte externa (“furada”) do tubo.

Sabendo-se que Pi − Patm = 3,84 kPa, conclui-se que a velocidade relativa do ar, em relação ao tubo, em m/s, é de
Dado: ρar = 1,2 kg/m3
Provas
Questão presente nas seguintes provas
Uma torneira, com área de saída A = 1,0 cm 2, leva 100 s para encher um balde de água de volume V = 10,00 litros. A velocidade de saída vs da água na torneira, em m/s, é de
Provas
Questão presente nas seguintes provas
Uma fonte de tensão contínua com 120 V alimenta uma carga resistiva durante 24 horas. A corrente elétrica foi medida durante esse tempo, resultando no gráfico (corrente x tempo) representado na figura, onde os intervalos de tempo marcados no eixo estão igualmente espaçados.
Qual o total de energia, em kWh, que a carga consumiu da fonte nessas 24 horas?
Provas
Questão presente nas seguintes provas
Ao aplicar uma tensão senoidal dada por V = 150sen(120πt) sobre uma impedância complexa Z, a corrente elétrica resultante foi
!$ I ={15\over \sqrt{2}} \sin {\begin{pmatrix} {120\pi t+ { \pi\over 4}}\end{pmatrix}} !$.
Dessa forma, o valor dessa impedância Z, em Ω, é
Provas
Questão presente nas seguintes provas
A figura mostra um circuito elétrico de corrente contínua.
Para que a corrente I seja nula, o valor de R, em k !$ \Omega !$, é
Provas
Questão presente nas seguintes provas
Quando se aplica um sinal de 1 mV rms na entrada de um amplificador de tensão e, na saída, esse sinal é amplificado para 1 V rms, o ganho desse amplificador, em dB, é
Provas
Questão presente nas seguintes provas

Para que o circuito mostrado na figura funcione corretamente e cumpra com seu objetivo, quais os dois diodos que estarão inversamente polarizados, isto é, que estarão em estado de NÃO condução durante o ciclo negativo da senoide de entrada?
Provas
Questão presente nas seguintes provas
No circuito resistivo da figura, todos os resistores são dados em !$ \Omega !$.
A resistência equivalente [ R eq ] desse circuito, em !$ \Omega !$, é
Provas
Questão presente nas seguintes provas
Três cargas elétricas pontuais estão dispostas em um plano, posicionadas nos vértices de um triangulo equilátero de lado igual a 50 cm, conforme mostra a figura.

Com base nos dados apresentados, qual o valor, em newtons, da componente (Fx) na direção do eixo X, resultante das forças que atuam na carga Q1?
Dado: Valor da constante !$ K={1\over 4\pi \epsilon_0}=10^{10}{\begin{bmatrix} {N.m^2\over c^2}\end{bmatrix}} !$
Provas
Questão presente nas seguintes provas
Cadernos
Caderno Container