Foram encontradas 2.689 questões.
Para a medição de papel, cartolina, couro, borracha e também de dentes de engrenagens, o instrumento adequado é o micrômetro
Provas
Questão presente nas seguintes provas
A potência, normalmente expressa em watt, em dimensões básicas do Sistema Internacional é dada por
Provas
Questão presente nas seguintes provas
A escala de medição contida no cursor móvel do paquímetro é denominada
Provas
Questão presente nas seguintes provas
O tubulão é um tambor horizontal, situado no ponto mais alto do corpo principal da caldeira, ao qual se acham conectados, através de tubos, os coletores, que se encontram em níveis diferentes dentro dessa caldeira.
Além de acumular o vapor, o tubulão recebe também a água de alimentação, que vem da(o)
Provas
Questão presente nas seguintes provas
Um tipo de compressor volumétrico rotativo, de deslocamento positivo, que utiliza dois rotores que giram engrenados um ao outro, e, em sentidos contrários, para produzir pressão, e é muito empregado em aplicações industriais, onde não se requerem elevadas pressões, é o compressor
Provas
Questão presente nas seguintes provas
Um tipo de bomba de deslocamento positivo rotativa, constituída de uma carcaça que define o estator e de um rotor excêntrico em relação à carcaça, é a bomba
Provas
Questão presente nas seguintes provas

A figura acima mostra um arranjo de polias, onde M é a polia motora, P é o rolamento esticador e N é a polia movida. A velocidade nM é constante.
Se a razão entre o diâmetro da polia movida e o diâmetro da polia motora é 3/2, e a razão entre o diâmetro da polia motora e o diâmetro do esticador é 2, as velocidades angulares de N e P, supondo que a correia é sincronizada e não há deslizamentos, são, respectivamente,
Provas
Questão presente nas seguintes provas

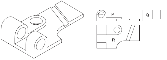
A figura acima e à esquerda representa uma peça em vista isométrica no primeiro diedro.
As vistas P, Q e R, também no primeiro diedro, são:
Provas
Questão presente nas seguintes provas
Em um paquímetro universal para medição de engrenagens, a escala horizontal mede a(o)
Provas
Questão presente nas seguintes provas

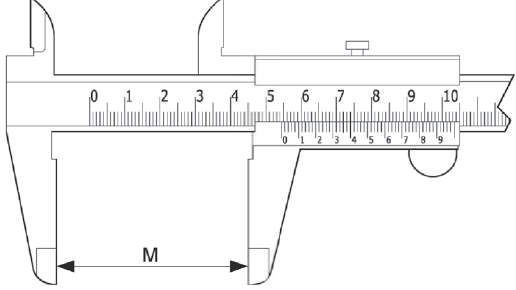
A medida M no paquímetro em milímetros com resolução de 0,02 mm, acima, é
Provas
Questão presente nas seguintes provas
Cadernos
Caderno Container