Magna Concursos

Foram encontradas 175 questões.

2697987 Ano: 2004
Disciplina: Engenharia Mecânica
Banca: CESPE / CEBRASPE
Orgão: Petrobrás
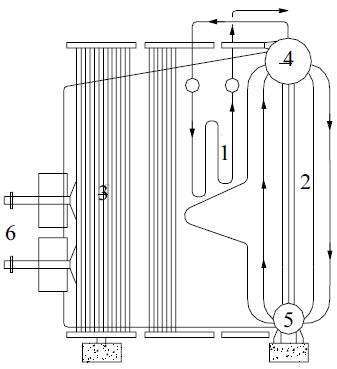
Enunciado 3123636-1
A figura acima mostra o desenho esquemático de uma caldeira aquatubular de alta pressão, que foi montada em uma unidade de craqueamento de petróleo. A caldeira gera vapor superaquecido para ser consumido por uma turbina a vapor. Para promover o escoamento do ar e dos gases, essa caldeira usa o sistema de tiragem forçada. No desenho acima, estão enumeradas as várias partes que foram erigidas, por ocasião da montagem.
Considerando essas informações, julgue o item que se segue.
O feixe tubular indicado por “2” representa a bancada principal de geração de vapor (main bank).
 

Provas

Questão presente nas seguintes provas
2697986 Ano: 2004
Disciplina: Engenharia Mecânica
Banca: CESPE / CEBRASPE
Orgão: Petrobrás
Escoamentos multifásicos são comuns em processos de produção ou refino de petróleo. Nesse tipo de escoamento, dois fluidos em diferentes fases (líquida e gasosa) fluem ao longo de um dado domínio. Para o caso específico de tubulações, dependendo das vazões de líquido (Ql) ou de gás (Qg), o escoamento assume um padrão. Com base nessas informações, julgue o item a seguir.
Em escoamentos bifásicos, a perda de carga em tubulação pode ser corretamente definida somente pelo atrito do fluido na parede.
 

Provas

Questão presente nas seguintes provas
2697966 Ano: 2004
Disciplina: Engenharia Mecânica
Banca: CESPE / CEBRASPE
Orgão: Petrobrás

Em um processo de compressão de um gás (perfeito) hipotético, a eficiência isentrópica do compressor é de 90% e a temperatura de entrada no compressor é de 50 °C. Considerando que a razão de pressão é igual a 9 e o gás (hipotético) possui razão entre os calores específicos próximo de 2 e que em um processo isentrópico, a relação T2 = T1(rp)(y-1)/y (é válida. A partir dessas informações, julgue os seguintes itens.

Os dados fornecidos somente se aplicam a compressores alternativos, que pressupõem sistema termodinâmico fechado. Para compressores centrífugos, por exemplo, a diferença de entalpia entre a entrada e a saída deveria ser empregada na determinação da temperatura de saída.

 

Provas

Questão presente nas seguintes provas
2697961 Ano: 2004
Disciplina: Engenharia Mecânica
Banca: CESPE / CEBRASPE
Orgão: Petrobrás
Acerca dos métodos para medição de pressão, nível, temperatura e vazão, julgue o item a seguir.
Um medidor de nível baseado em ultra-som mede o tempo transcorrido entre a emissão e a recepção da onda refletida na superfície líquida. Assim, no caso de fluidos nãomiscíveis, pode-se medir o nível de cada fluido com esse medidor.
 

Provas

Questão presente nas seguintes provas
2697956 Ano: 2004
Disciplina: Engenharia Mecânica
Banca: CESPE / CEBRASPE
Orgão: Petrobrás
Enunciado 3037092-1
Uma alimentação de vapor, para dois utilizadores em uma central termelétrica, foi executada segundo o projeto ilustrado na figura acima. Nessa interligação, vários acessórios de tubulações foram montados para uma melhor conveniência operacional. O material dos tubos da rede de vapor é o ASTM A106 Gr.B, cuja composição química, segundo o certificado fornecido pela siderúrgica, possuía os seguintes percentuais: 0,29% C; 0,90% Mn; 0,30% Si; 0,03% P; 0,03% S.
Com relação ao projeto e à seleção de material dessa alimentação, julgue o item subseqüente.
Os tubos desse trecho de rede foram ligados entre si por meio de soldas de topo.
 

Provas

Questão presente nas seguintes provas
2697953 Ano: 2004
Disciplina: Engenharia Mecânica
Banca: CESPE / CEBRASPE
Orgão: Petrobrás
Uma caldeira operou por cinco anos ininterruptamente. Após esse tempo, foi inspecionada por um técnico, para se determinar o real estado de limpeza das superfícies de troca de calor. A inspeção foi dividida em duas partes: a primeira inspecionou as superfícies do lado do fogo (fire sides) e a segunda inspecionou as do lado da água (water sides). A inspeção do lado do fogo encontrou uma camada de fuligem generalizada de 2 mm de altura e a inspeção do lado da água revelou a presença de incrustações duras (salt scale) nas paredes internas dos tubos.
Com base nessa situação, julgue o item seguinte.
A fuligem generalizada encontrada dentro da fornalha, em uma caldeira fora de operação, poderia ser retirada por lavagem com água alcalina aquecida.
 

Provas

Questão presente nas seguintes provas
2697946 Ano: 2004
Disciplina: Engenharia Mecânica
Banca: CESPE / CEBRASPE
Orgão: Petrobrás
Acerca das características dos sistemas de controle, julgue o item que se segue.
Em um sistema de primeira ordem, não é possível medir o tempo de assentamento da função.
 

Provas

Questão presente nas seguintes provas
2697942 Ano: 2004
Disciplina: Engenharia Mecânica
Banca: CESPE / CEBRASPE
Orgão: Petrobrás
Acerca das características dos sistemas de controle, julgue o item que se segue.
A função de transferência de um processo é o modelo matemático das variáveis do controlador usado.
 

Provas

Questão presente nas seguintes provas
2697941 Ano: 2004
Disciplina: Engenharia Mecânica
Banca: CESPE / CEBRASPE
Orgão: Petrobrás
Acerca das características dos sistemas de controle, julgue o item que se segue.
O produto da função de transferência do processo pela temperatura desejada, ou set-point, fornece o valor da temperatura lida no sensor, desde que estes sinais estejam representados por suas transformadas no domínio s.
 

Provas

Questão presente nas seguintes provas
2697940 Ano: 2004
Disciplina: Engenharia Mecânica
Banca: CESPE / CEBRASPE
Orgão: Petrobrás
Acerca das características dos sistemas de controle, julgue o item que se segue.
Para se obter a função de transferência de determinado processo, deve-se representá-lo a partir de transformadas de Fourier.
 

Provas

Questão presente nas seguintes provas