Foram encontradas 100 questões.
Julgue o item a seguir, relacionados a propriedades e características de agregados utilizados na confecção de concretos.
Os fillers são agregados graúdos, com diâmetros dos grãos superiores a 1,2 mm, utilizados na confecção de concretos.
Provas
Julgue o item que se segue, relacionados a instalações elétricas prediais.
O interruptor do tipo four-way permite comandar o circuito elétrico de vários pontos diferentes.
Provas
A trabalhabilidade do concreto fresco pode ser entendida como a propriedade do concreto fresco que identifica a sua maior ou menor aptidão para ser empregado com determinada finalidade em uma obra, sem perda de sua homogeneidade. Com relação a ensaios para a avaliação da trabalhabilidade de concretos, julgue o item a seguir.
No ensaio de escorregamento (flow test), a trabalhabilidade do concreto fresco é avaliada em função do deslocamento, ou não, de uma massa de concreto colocada sobre uma superfície lisa inclinada de 30º com a horizontal.
Provas
Os sistemas de drenagem e os filtros são de fundamental importância para o desempenho de obras de terra. Com relação a tais sistemas, julgue o item que se segue.
Em um filtro constituído de várias camadas de materiais granulares, as camadas devem ser ordenadas de tal forma que o fluido, no seu movimento através do filtro, se desloque sempre da camada com maior tamanho de grãos para a de menor tamanho de grãos.
Provas

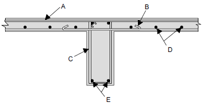
A figura acima apresenta esquematicamente a seção transversal de lajes contínuas e de uma viga de apoio de um prédio residencial no meio do vão da viga. As letras de A a E indicam componentes das armaduras da viga ou das lajes. Com relação a tais componentes, julgue o item seguinte.
O componente indicado pela letra A representa a armadura negativa das lajes.
Provas
Julgue o item a seguir, relacionados a propriedades e características de agregados utilizados na confecção de concretos.
A presença de argila, mica, materiais carbonosos e sais em areias aumenta a resistência e a durabilidade de concretos produzidos com tais areias.
Provas
Julgue o item a seguir, relacionados a propriedades e características de agregados utilizados na confecção de concretos.
A massa específica aparente de um agregado é a massa total da unidade de volume do agregado no estado em que esse volume se encontra no instante da medição.
Provas
A trabalhabilidade do concreto fresco pode ser entendida como a propriedade do concreto fresco que identifica a sua maior ou menor aptidão para ser empregado com determinada finalidade em uma obra, sem perda de sua homogeneidade. Com relação a ensaios para a avaliação da trabalhabilidade de concretos, julgue o item a seguir.
No ensaio de Kelly, uma massa de 15 kg em forma de meia esfera, com diâmetro de 15 cm, penetra, por ação do próprio peso, na massa de concreto fresco.
Provas

A figura acima apresenta esquematicamente a seção transversal de lajes contínuas e de uma viga de apoio de um prédio residencial no meio do vão da viga. As letras de A a E indicam componentes das armaduras da viga ou das lajes. Com relação a tais componentes, julgue o item seguinte.
O componente indicado pela letra C representa um estribo da viga.
Provas

Considere o esquema típico de entrada de água em edifícios apresentado na figura acima. Com relação a esse esquema, julgue o item seguinte.
O componente indicado pela letra C é o hidrômetro.
Provas
Caderno Container