Foram encontradas 680 questões.
Disciplina: Engenharia de Telecomunicações
Banca: CESPE / CEBRASPE
Orgão: PF
Julgue os itens que se seguem acerca dos sistemas de geração e de transmissão de energia elétrica.
Sempre que ocorre uma perturbação do tipo curto-circuito em uma linha de transmissão é necessário retirar a linha de serviço até que o problema seja investigado e corrigido.
Provas
Disciplina: Engenharia de Telecomunicações
Banca: CESPE / CEBRASPE
Orgão: PF
Apesar dos grandes avanços na tecnologia das telecomunicações, os princípios de transmissão e recepção a longas distâncias continuam sendo basicamente os mesmos. Acerca dos sistemas de comunicação, julgue os itens a seguir.
No Brasil, as freqüências utilizadas pela telefonia móvel celular restringem-se às faixas entre 800 MHz e 900 MHz.
Provas
Disciplina: Engenharia de Telecomunicações
Banca: CESPE / CEBRASPE
Orgão: PF
Apesar dos grandes avanços na tecnologia das telecomunicações, os princípios de transmissão e recepção a longas distâncias continuam sendo basicamente os mesmos. Acerca dos sistemas de comunicação, julgue os itens a seguir.
A modulação é um processo em que um sinal denominado portadora age de modo a variar alguma característica do sinal modulante, resultando em um sinal modulado.
Provas
Disciplina: Engenharia de Telecomunicações
Banca: CESPE / CEBRASPE
Orgão: PF
Apesar dos grandes avanços na tecnologia das telecomunicações, os princípios de transmissão e recepção a longas distâncias continuam sendo basicamente os mesmos. Acerca dos sistemas de comunicação, julgue os itens a seguir.
Os sistemas de transmissão analógicos são menos suscetíveis a interferências que os sistemas digitais, porém, são mais sensíveis a ruídos.
Provas
Disciplina: Engenharia de Telecomunicações
Banca: CESPE / CEBRASPE
Orgão: PF
Apesar dos grandes avanços na tecnologia das telecomunicações, os princípios de transmissão e recepção a longas distâncias continuam sendo basicamente os mesmos. Acerca dos sistemas de comunicação, julgue os itens a seguir.
O que caracteriza a transmissão digital é que as formas de onda em todo o sistema possuem toda a informação original a ser reproduzida no destino.
Provas
Disciplina: Engenharia de Telecomunicações
Banca: CESPE / CEBRASPE
Orgão: PF

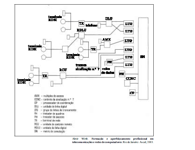
A figura acima mostra a arquitetura de uma central de comutação RDSI (rede digital de serviço integrado). Acerca das centrais de comutação, julgue os itens subseqüentes, tendo por referência a figura apresentada.
As centrais de comutação em tandem são utilizadas para encaminhar tráfegos interurbanos.
Provas
Disciplina: Engenharia de Telecomunicações
Banca: CESPE / CEBRASPE
Orgão: PF

A figura acima mostra a arquitetura de uma central de comutação RDSI (rede digital de serviço integrado). Acerca das centrais de comutação, julgue os itens subseqüentes, tendo por referência a figura apresentada.
O LTG é responsável pelo tratamento das mensagens do sistema.
Provas
Disciplina: Engenharia de Telecomunicações
Banca: CESPE / CEBRASPE
Orgão: PF

A figura acima mostra a arquitetura de uma central de comutação RDSI (rede digital de serviço integrado). Acerca das centrais de comutação, julgue os itens subseqüentes, tendo por referência a figura apresentada.
A tarifação dos serviços RDSI é realizada por software em um sistema de processamento remoto.
Provas
Disciplina: Engenharia de Telecomunicações
Banca: CESPE / CEBRASPE
Orgão: PF

A figura acima mostra a arquitetura de uma central de comutação RDSI (rede digital de serviço integrado). Acerca das centrais de comutação, julgue os itens subseqüentes, tendo por referência a figura apresentada.
Uma central RDSI pode ser usada como provedor de serviços de Internet.
Provas
Disciplina: Engenharia de Telecomunicações
Banca: CESPE / CEBRASPE
Orgão: PF
Os dispositivos especiais do tipo DSL e XSL são utilizados como acessórios de tecnologia de acesso de comunicação em banda larga através de redes metálicas. Eles são conhecidos pelas siglas ADSL (asymmetric digital subscriber line), VDSL (very high data rate digital subscriber line), HDSL (high data digital subscriber line), DSL (digital subscriber line), SDSL (synmetric digital subscriber line) e MSDSL (multi-rate symmetric DSL). Com referência a esses dispositivos, julgue os itens que se seguem.
Interconexões entre sistemas PBX e entroncamentos entre centrais são aplicações típicas das linhas digitais do tipo HDSL.
Provas
Caderno Container