Foram encontradas 60 questões.
A figura a seguir ilustra um tipo de estrutura usada em construção civil.

Essa estrutura corresponde a um muro
Provas
Determinada amostra de solo possui a seguinte composição:

Sabendo-se que o peso específico da água é 1kg/dm³ e o peso específico do solo é de 1,8kg/dm³ , o índice de vazios e o teor de umidade deste solo valem, respectivamente,
Provas
Relacione a classificação granulométrica dos solos com o diâmetro médio dos seus grãos:
1. Silte
2. Areia
3. Argila
( ) entre 0,06mm e 2,0mm
( ) menor do que 0,002mm
( ) entre 0,002mm e 0,06mm
Assinale a opção que indica a relação correta, na ordem apresentada.
Provas
Analise o desenho a seguir:

Em um levantamento topográfico, o conjunto de segmentos de retas que possuem os pontos P1, P2, P3, P4 e OPP como vértices, conforme mostrado no desenho acima, é chamado de
Provas
A figura a seguir mostra um instrumento usado em levantamentos topográficos planimétricos ou altimétricos.

Este instrumento é conhecido como
Provas
No programa AutoCad, aplicou-se o comando Line por meio da seguinte sequência:
Command: Line
From point: 0,0
To point: 0,5
To point: (1)
To point: @11,0
To point: 15,0 To point: 0,0
To point: Enter (encerra o comando)
Sabendo que a figura gerada é uma poligonal fechada, a instrução (1) foi:
Provas
A partir da figura (1), gerou-se a figura (2) no programa AutoCad utilizando o comando ARRAY e a caixa de diálogo apresentada a seguir.

Sabendo que o afastamento horizontal entre as cadeiras é de 1 e o afastamento vertical vale 2, o tipo de array executado e os valores indicados pelos números (1) a (5) na caixa de diálogo são
Provas
Provas
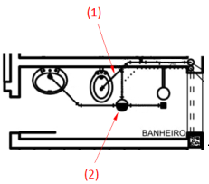
A figura a seguir apresenta a instalação sanitária do banheiro de uma edificação.

Provas
A figura a seguir apresenta a instalação sanitária do banheiro de uma edificação.

Provas
Caderno Container