Foram encontradas 1.096 questões.
Os componentes de instalações hidráulicas são variáveis e cada um possui uma função específica. Nesse contexto, associe as colunas:
Coluna 1
A.(__) Sulco.
B.(__) Registro de utilização.
C.(__) Barrilete.
Coluna 2
I - Cavidade destinada a acomodar tubulações de água, aberta ou pré-moldada, de modo a não afetar a resistência da parte do edifício na qual é executada e onde o acesso só pode se dar pela destruição da cobertura ou das coberturas.
II - Componente instalado na tubulação e destinado a controlar a vazão da água utilizada, geralmente empregam-se registros de pressão ou válvula-globo em sub-ramais.
III - Tubulação que se origina no reservatório e da qual derivam as colunas de distribuição, quando o tipo de abastecimento é indireto. No caso de tipo de abastecimento direto, pode ser considerado como a tubulação diretamente ligada ao ramal predial ou diretamente ligada à fonte de abastecimento particular.
Assinale a alternativa que apresenta a correta associação entre as colunas:
Provas
Um Encanador, ao analisar um projeto de água fria e quente para realizar suas atividades, deparou-se com algumas abreviações/simbologias. Dentre elas, estavam REQ; CB; EXTR e RP. Assinale a alternativa CORRETA que corresponde, respectivamente, à legenda para essas abreviações/simbologias:
Provas
No mercado, existem vários tipos de válvulas com funcionalidades diferentes, para fechamento, para regulagem, para controle, para fluxo de direção, para segurança (alívio) e para redução de pressão. A respeito de válvulas de fluxo em uma só direção, assinale a alternativa CORRETA:
Provas
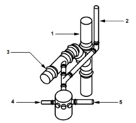
Em um desenho de detalhamento das tubulações de esgoto de um prédio, estava a seguinte imagem:

Assinale a alternativa que se refere à nomenclatura CORRETA dos pontos numerados, considerando que se trata do esgoto do banheiro do primeiro pavimento:
Provas
O desenho de tubulação das instalações prediais é feito por meio de representações baseadas nos princípios das projeções ortogonais. A este respeito, analise as afirmações a seguir:
I - Planta é uma vista superior da tubulação.
II - Elevações são vistas de frente e laterais da tubulação.
III - Perspectiva é o desenho isométrico ou perspectiva paralela da tubulação.
IV - Os desenhos em detalhes representam o tubo em escala, isto é, dando a sua grossura desenhada pela bitola e as conexões e válvulas como se fossem desenhos reais desses acessórios.
É CORRETO o que se afirma em:
Provas
A simbologia gráfica é muito utilizada nos projetos hidrossanitários para sinalizar um tipo de tubulação. Analise a tabela a seguir que apresenta a descrição e o símbolo utilizado nos projetos hidrossanitários:

Assinale a alternativa que apresenta a correlação CORRETA do símbolo apresentado com a descrição:
Provas
Nas instalações de uma torneira, chuveiro, etc, deve-se levar em consideração alguns cuidados. Dos cuidados descritos a seguir, assinale a alternativa CORRETA:
Provas
A junta soldável é caracterizada pela união da ponta de um tubo com a bolsa de uma conexão de PVC ou com a bolsa de outro tubo por meio de soldagem a frio, utilizando adesivo apropriado à base de solvente orgânico, nessa execução devem ser adotados alguns procedimentos. Assinale a alternativa CORRETA:
Provas
A limpeza de um reservatório tem ser realizada periodicamente para manter a integridade da água que está sendo armazenada e possui de 16 a 20 passos. Analise alguns deles citados a seguir e assinale a alternativa CORRETA:
Provas
Para instalação correta de uma torneira, são necessárias algumas ferramentas. Assinale a alternativa CORRETA:
Provas
Caderno Container