Foram encontradas 80 questões.
Lançado em 1953, este romance envelheceu bem menos que a maior parte da ficção científica de sua década. Em vez de projetar no futuro problemas e preconceitos de seu tempo, especulou sobre o futuro de nossa espécie de uma maneira que ainda soa intrigante.
(CartaCapital, 24 mar. 2010.)
Com relação a esse texto, considere as seguintes inferências:
1. A maior parte da ficção científica da década de 50 já está ultrapassada.
2. O livro previu que o futuro de nossa espécie seria como hoje.
3. O livro vê o presente de hoje de forma preconceituosa.
Estão corretas as inferências apresentadas nos itens:
Provas
Uma pergunta que todos estão se fazendo e fazendo aos outros é: quem vencerá a copa do Mundo na África do Sul? Impossível responder conscientemente, ainda que os brasileiros esperem mais uma vez a vitória da nossa seleção sobre os rivais. Possuímos, sem dúvida, todas as condições para sonhar com isso: a tradição da camisa canarinho, a qualidade dos nossos jogadores, o respeito dos adversários e a atratividade política e econômica do futebol nacional por todo o planeta, o que potencialmente poderá nos favorecer, caso tenhamos dificuldades nas primeiras fases da competição.
Estamos, porém, longe de ser os favoritos absolutos. Primeiro porque é puro ilusionismo imaginar que determinada seleção possa chegar ao mundial como se tivesse uma das mãos na taça - o torneio tem características diversas das de um campeonato. Caso houvesse jogos em turno e returno, certamente as melhores equipes - entre elas, a brasileira - teriam todas as condições de ganhar o título.
A copa do mundo é, porém, muito mais uma “feira" de futebol, na qual os diversos “fabricantes" apresentam os seus últimos modelos para comercializá-los mundo afora. Dessa forma, o aspecto técnico é colocado em segundo plano. Vale única e exclusivamente a conquista, não importando de que forma possa ser alcançada.
Mesmo em meio a todas as dúvidas do futebol - um esporte propício a surpresas, já que não exige regularidade para um time vencer -, podem-se analisar algumas possibilidades sob a ótica da limitada lógica desse esporte. E, diante disso, vislumbramos concorrentes da Copa da África do Sul. Mas antes temos de refletir sobre o que temos visto nos últimos meses, ainda que até junho muita coisa possa se modificar.
(Sócrates, em CartaCapital, 31 mar. 2010, p. 83.)
Provas
Chegou a coleção Folha Decoração e Design
São ideias que cabem perfeitamente na sua casa.
Até em kitinetes.
Dado o seu propósito, assinale a alternativa que interpreta corretamente a ambiguidade nele presente.
Provas
O guitarrista americano B. B. King tem 84 anos, sofre de diabetes há mais de duas décadas, é hipertenso e odeia ginástica. Nos últimos anos, o excesso de peso lhe trouxe problemas no joelho, que o obrigaram a tocar sentado. Mas a saúde claudicante não lhe tirou o prazer de subir ao palco. Ele “reduziu o ritmo", ainda que faça mais de 100 apresentações por ano. Na segunda quinzena do mês, desembarca no Brasil para shows no Rio, em São Paulo e em Brasília. “Há uma atividade física que não abandono, andar de um saguão de aeroporto para outro", diz. São apresentações imperdíveis. Ele criou um estilo próprio, com staccati e vibratos delicados, que nos anos 50 foram assimilados por artistas de rock. Sua música atravessou o oceano e influenciou artistas como Keith Richards e Eric Clapton, que na década seguinte invadiram as paradas de sucesso americanas. B. B. King é o último pioneiro vivo do blues. (...)
(Revista Veja, 3 mar. 2010, p. 130.)
Assinale a alternativa que contém uma inferência correta desse texto.
Provas
A pergunta que mais me fazem quando dou palestras, ou mesmo quando me mandam emails, é se acredito em Deus. Quando respondo que não acredito, vejo um ar de confusão, às vezes até de medo, no rosto da pessoa: “Mas como o senhor consegue dormir à noite?".
Não há nada de estranho em perguntar a um cientista sobre suas crenças. Afinal, ao seguirmos a velha rixa entre a ciência e a religião, vemos que, à medida em que a ciência foi progredindo, foi também ameaçando a presença de Deus no mundo. Mesmo o grande Newton via um papel essencial para Deus na natureza: Ele interferiria para manter o cosmo em xeque, de modo que os planetas não desenvolvessem instabilidades e acabassem todos amontoados no centro, junto ao Sol. Porém, logo ficou claro que esse Deus era desnecessário, que a natureza podia cuidar de si mesma. O Deus que interferia no mundo transformou-se no Deus criador: após criar o mundo, deixou-o à mercê de suas leis. Mas nesse caso, o que seria Deus? Se essa tendência continuasse, a ciência tornaria Deus desnecessário?
Foi nessa tensão que surgiu a crença de que a agenda da Ciência é roubar Deus das pessoas. Um número espantoso de pessoas acha mesmo que esse é o objetivo dos cientistas, acabar com a crença no mundo. Os livros de Richard Dawkins e outros cientistas ateus militantes, que acusam os que creem de viverem num estado de delírio permanente, não ajudam em nada a situação. Mas será isso mesmo o que a ciência pretende? Será que esses fundamentalistas ateus falam por todos os cientistas?
De modo algum. Eu conheço muitos cientistas religiosos que não veem qualquer conflito entre a sua ciência e sua crença. Para eles, quanto mais entendem o Universo, mas admiram a obra do seu Deus. (São vários.) Mesmo que essa não seja a minha posição, respeito os que creem. A ciência não tem uma agenda contra a religião. Ela se propõe simplesmente a interpretar a natureza, expandindo nosso conhecimento do mundo natural. Sua missão é aliviar o sofrimento humano, aumentando o conforto das pessoas, desenvolvendo técnicas de produção avançadas, ajudando no combate às doenças. O “resto", a bagagem humana que acompanha e inspira o conhecimento (e que às vezes o atravanca), não vem da ciência como corpo de saber, mas dos homens e das mulheres que se dedicam ao seu estudo.
É óbvio que, como já afirmava Einstein, crer num Deus que interfere nos afazeres humanos é incompatível com a visão da ciência de que a natureza procede de acordo com leis que, bem ou mal, podemos compreender. O problema se torna sério quando a religião se propõe a explicar fenômenos naturais. Dizer que o mundo tem menos de 7.000 anos ou que somos descendentes diretos de Adão e Eva, que por sua vez, foram criados por Deus, é equivalente a viver no século 16 ou antes disso. A insistência em negar os avanços e as descobertas da ciência é, francamente, inaceitável. Por exemplo, um número enorme de pessoas se recusa a aceitar que o homem pousou na Lua. Quando ouço isso, fico horrorizado. Esse feito, como tantos outros, deveria ser celebrado como um dos marcos da civilização, motivo de orgulho para todos nós.
Podemos dizer que existem dois tipos de pessoa: os naturalistas e os sobrenaturalistas. Os sobrenaturalistas veem forças ocultas por trás dos afazeres dos homens, vivendo escravizados por medos apocalípticos e crenças inexplicáveis. Os naturalistas aceitam que nunca teremos todas as respostas. Mas, em vez de temer o desconhecido, abraçam essa ignorância como um desafio e não uma prisão. É por isso que eu durmo bem à noite.
(Marcelo Gleiser, Folha de S. Paulo, 28 mar. 2010, p. M-4.)
Provas

Determine o coeficiente de permeabilidade do solo, medido nesse sistema, considerando Q = 0,2 cm³/s, h = 40 cm, L = 20 cm, A = 30 cm2.
Provas

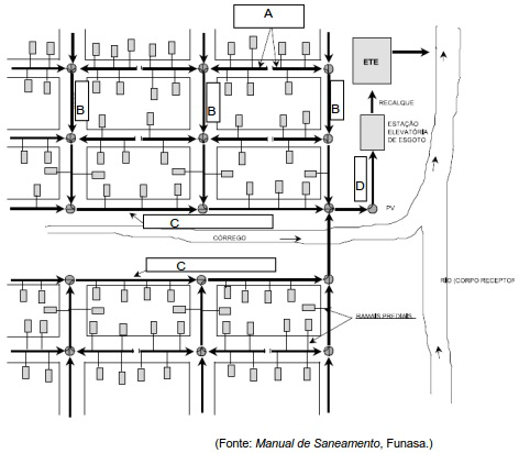
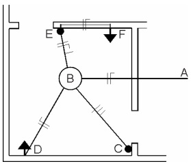
As letras A, B, C e D referem-se, respectivamente, a:
Provas
O enunciado a seguir é referência para a questão
Você foi contratado para elaborar o cronograma parcial de uma obra de uma edificação com 6 pavimentos e fundação. A programação do cronograma foi feita de acordo com os dados da tabela abaixo, na qual são informados:
- as atividades;
- os respectivos tempos de execução;
- a condição de início da atividade 2;
- as distâncias (folgas) mínimas que devem existir entre a execução das atividades 3 e 4 e as imediatamente anteriores, expressas em semanas, sendo as folgas expressas para cada pavimento.

Notas:
A sequência de execução é obrigatoriamente a de 1 a 4, como consta na tabela.
Cada atividade deverá ser contínua, conforme tempos de execução informados.
Cada atividade será realizada por equipes diferentes.
Considere apenas semanas inteiras.
As equipes não podem ficar ociosas na obra.
Provas
O enunciado a seguir é referência para a questão
Você foi contratado para elaborar o cronograma parcial de uma obra de uma edificação com 6 pavimentos e fundação. A programação do cronograma foi feita de acordo com os dados da tabela abaixo, na qual são informados:
- as atividades;
- os respectivos tempos de execução;
- a condição de início da atividade 2;
- as distâncias (folgas) mínimas que devem existir entre a execução das atividades 3 e 4 e as imediatamente anteriores, expressas em semanas, sendo as folgas expressas para cada pavimento.

Notas:
A sequência de execução é obrigatoriamente a de 1 a 4, como consta na tabela.
Cada atividade deverá ser contínua, conforme tempos de execução informados.
Cada atividade será realizada por equipes diferentes.
Considere apenas semanas inteiras.
As equipes não podem ficar ociosas na obra.
Provas

Provas
Caderno Container