Foram encontradas 417 questões.
Disciplina: TI - Sistemas Operacionais
Banca: VUNESP
Orgão: Pref. Francisco Morato-SP
No servidor web Apache 2.4, o arquivo que provê um meio de efetuar alterações de configuração por diretório, de forma distribuída, é o:
Provas
Disciplina: TI - Banco de Dados
Banca: VUNESP
Orgão: Pref. Francisco Morato-SP
No sistema gerenciador de banco de dados Microsoft SQL Server 2019, os comandos para realizar uma cópia de um banco de dados e para restaurar a cópia realizada são, respectivamente,
Provas
Disciplina: TI - Banco de Dados
Banca: VUNESP
Orgão: Pref. Francisco Morato-SP
Considerando o sistema gerenciador de bancos de dados MySQL (v. 8.0), o comando para reparar uma tabela, com a opção de reparar somente o arquivo de índices, é:
Provas
Disciplina: TI - Banco de Dados
Banca: VUNESP
Orgão: Pref. Francisco Morato-SP
Considere a seguinte tabela de um banco de dados relacional:
Produto (Código, Nome, Sobrenome, Nascimento)
A consulta SQL para criar um índice de nome Ind1, sobre o atributo Nome da tabela Produto é:
Provas
Disciplina: TI - Banco de Dados
Banca: VUNESP
Orgão: Pref. Francisco Morato-SP
Considere a seguinte tabela de um banco de dados relacional:
Paciente (CPF, Nome, Cidade, Peso, Profissão)
A consulta SQL para obter o nome dos pacientes, da cidade de Santos, com peso igual a 70 kg e com profissão Vendedor, é:
Provas
Disciplina: TI - Banco de Dados
Banca: VUNESP
Orgão: Pref. Francisco Morato-SP
O conceito de normalização de tabelas de bancos de dados relacionais desempenha papel de grande importância no projeto dessas estruturas, sendo correto afirmar que a condição para que uma tabela esteja na primeira forma normal é que
Provas
Disciplina: TI - Banco de Dados
Banca: VUNESP
Orgão: Pref. Francisco Morato-SP
Considere o seguinte diagrama entidade-relacionamento para servir para o projeto de um banco de dados relacional:

Nesse diagrama entidade-relacionamento há a representação de
Provas
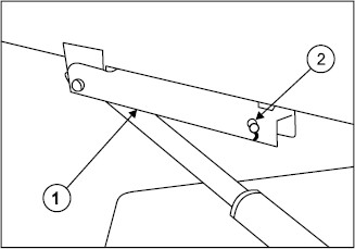
Disciplina: Engenharia Mecânica
Banca: VUNESP
Orgão: Pref. Francisco Morato-SP
A barra em destaque (2), utilizada principalmente durante a manutenção da máquina, é denominada de barra

Provas
Disciplina: Engenharia Mecânica
Banca: VUNESP
Orgão: Pref. Francisco Morato-SP
Antes de operar qualquer tipo de máquina de terraplanagem, o operar deve sempre realizar o “check list”, para que elas não gerem falhas ao
Provas
Disciplina: Engenharia Mecânica
Banca: VUNESP
Orgão: Pref. Francisco Morato-SP
Antes de operar a retroescavadeira, o operador observa a lâmpada piloto a seguir, que indica para ele o acoplamento e desacoplamento do sistema de

Provas
Caderno Container