Foram encontradas 50 questões.
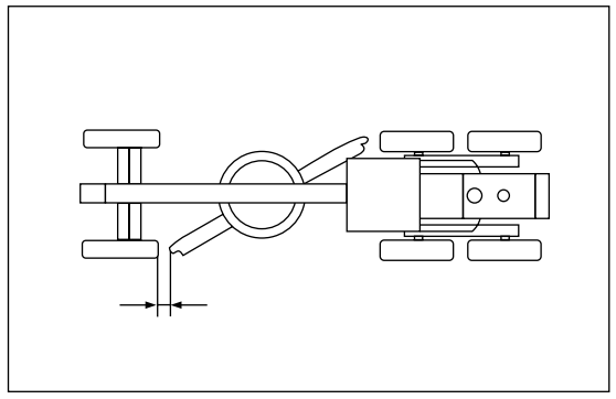
Observe a imagem da máquina a seguir.

Na alavanca de avanço do rolo compactador existe um interruptor, conforme a imagem, que deve ser acionado somente com a máquina em movimento para
Provas
Durante a operação de escavação com escavadeira hidráulica, recomenda-se manter o braço de penetração e o braço de elevação mais esticado possível, tanto para escavar como para bascular com o objetivo de
Provas
Observe o procedimento que o operador está executando com uma escavadeira hidráulica representada na imagem.

De acordo com a imagem, o operador está executando a
Provas
Observe a seguinte imagem.

Em situações de operação com escavadeira em terreno com muito barro, recomenda-se lubrificar com maior frequência o ponto apresentado na imagem e, nesse caso, o período recomendado é
Provas
Observe a imagem.

Em uma operação de escavação com retroescavadeira John Deere 310J, ao acionar a alavanca da esquerda para a posição “C” e a alavanca da direita para a posição “H”, conforme a imagem, ocorrerá
Provas
Na operação de pá carregadeira, ao se aproximar de um monte de entulho e deixar cair a caçamba repentinamente no solo, o impacto provocará
Provas
No momento de destravamento da cela da motoniveladora, pode ocorrer o bloqueio do pino no seu alojamento e, para desbloqueá-lo, o operador deverá
Provas
Observe as imagens.

Na motoniveladora, ao acionar simultaneamente as alavancas indicadas pelas setas, conforme as imagens, para a posição “c” e posição ”a”, com a cela destravada e a lâmina apoiada no solo, ocorrerá
Provas
Analise a imagem que apresenta o painel de instrumentos da motoniveladora Jhon Deere 670G.

O instrumento indicado pela seta, conforme a imagem, informa para o operador
Provas
Observe a motoniveladora representada na imagem a seguir.

A posição da lâmina em relação aos pneus e a altura de segurança em relação ao solo é um padrão recomendado para efetuar
Provas
Caderno Container