Foram encontradas 120 questões.
No projeto de um edifício público, deve ser prevista uma escada para vencer uma altura de 3,2 m com 20 degraus. O piso, ou seja, a largura do degrau, deverá estar compreendido entre
Provas
A treliça da figura está submetida a uma carga vertical de 20 kN em D.

Em kN, as força atuantes nas barras AB e AC são em módulo, respectivamente, iguais a
Provas
A viga inclinada da figura está submetida a uma carga concentrada de 8 kN e a uma carga uniformemente distribuída de 2 kN/m.

O momento fletor máximo que atua nessa viga é de
Provas
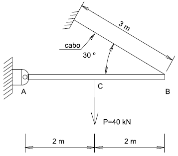
A viga rígida da figura está apoiada no ponto A e pendurada no ponto B por meio de um cabo de aço com área da seção transversal de 2 cm2.

Se o módulo de elasticidade do aço é 200 GPa, então, após aplicação de uma carga concentrada de 40 kN no ponto C, o cabo sofre o alongamento de
Provas
A figura representa a seção transversal de uma laje nervurada de concreto armado, construída com 2 vigas simplesmente apoiadas, com vão de 8 m.

Para o dimensionamento da armadura das vigas como seção T, a largura colaborante a ser considerada no cálculo é de
Provas
Para a construção de um edifício de vários pavimentos de estrutura metálica com altura dos pilares de 28 m, deve-se observar que o deslocamento horizontal no topo desses pilares em relação à base não ultrapasse
Provas
A estaca armada e preenchida com argamassa de cimento e areia, moldada in loco, executada por perfuração rotativa ou rotopercussiva, revestida integralmente, no trecho em solo, por um conjunto de tubos metálicos recuperáveis é denominada estaca
Provas
Em relatório de sondagem de simples reconhecimento do solo com o ensaio de penetração padronizado, também denominado Standard Penetration Test, SPT, que tem por finalidade obter os índices de resistência à penetração do solo em uma determinada cota da sondagem, forneceu os seguintes números de golpes por penetração: 08/15, 09/14 e 12/15. O resultado da cravação nessa cota é
Provas
Em projeto e execução de instalações de esgoto sanitário residencial, os ramais de descarga de lavatórios e pias de cozinha devem possuir, correta e respectivamente, diâmetros nominais mínimos DN de
Provas
No projeto de prevenção de combate a incêndio, deve-se prever a instalação de portas corta-fogo para saída de emergência em caixas de escadas de edifícios de múltiplos pavimentos. A largura do vão-luz dessas portas deve possuir medidas mínima e máxima, correta e respectivamente, de
Provas
Caderno Container