Foram encontradas 50 questões.
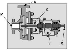
A figura a seguir ilustra uma bomba centrífuga utilizada em uma embarcação.

(Fonte: Marinha do Brasil, Diretoria de Portos e Costas, “Máquinas e Equipamentos Auxiliares”)
O bocal de descarga dessa bomba está indicado pela letra
Provas
O aparelho que é utilizado para medir a velocidade de um navio é denominado de
Provas
A maior causa de morte em sobrevivência no mar é a diminuição da temperatura do corpo, causada pela exposição do náufrago a ambientes frios, como por exemplo quando está em imersão em água fria.
Dentre os equipamentos relacionados a seguir, o que é mais efetivo para evitar esse tipo de morte é
Provas
“É bastante inconveniente desobedecer às ordens médicas”.
Nessa frase, a palavra desobedecer mostra o prefixo des- com valor de negação, equivalente a não.
Assinale a opção em que a palavra sublinhada mostra esse mesmo valor.
Provas
Em relação à rotação de serviço, os motores à diesel de propulsão marítima podem ser classificados como sendo de baixa, média e alta rotação.
Para realizar essa classificação, a unidade de medida empregada é conhecida pela sigla
Provas
Nos motores de combustão interna a 4 tempos, os processos ocorrem na seguinte ordem:
Provas
“Bem-aventuradas as pessoas que nada esperam, porque não ficarão decepcionadas.”
As pessoas não ficarão decepcionadas porque
Provas
Disciplina: Segurança Privada e Transportes
Banca: FGV
Orgão: Pref. Manaus-AM
No atendimento de primeiros socorros a um acidentado com parada do coração, a massagem cardíaca deve ser realizada em um ritmo de, aproximadamente,
Provas
“A doença é o preço que a alma paga por ocupar o corpo, como o aluguel que o inquilino paga pelo apartamento em que mora.”
Há uma relação lógica entre as palavras aluguel e inquilino; a mesma relação se repete na seguinte dupla de palavras:
Provas
Analise as informações descritas nos itens a seguir, referentes a itens da operação de uma embarcação.
I. Operacionalidade das máquinas principais, auxiliares e de emergência.
II. Controles do sistema de automação das máquinas e equipamentos
III. Pressão e temperatura dos diversos fluidos usados nos sistemas.
As informações que devem ser incluídas no Diário de Máquinas da embarcação são as contidas nos itens
Provas
Caderno Container