Foram encontradas 824 questões.
2442419
Ano: 2012
Disciplina: Legislação Específica das Agências Reguladoras
Banca: BIO-RIO
Orgão: Pref. Mesquita-RJ
Disciplina: Legislação Específica das Agências Reguladoras
Banca: BIO-RIO
Orgão: Pref. Mesquita-RJ
Provas:
A água é considerada um recurso natural renovável, e a Agência Nacional de Águas (ANA) desenvolveu o Programa Produtor de Água, com foco no estímulo à política de Pagamento por Serviços Ambientais voltado à proteção hídrica no Brasil.
Marque a alternativa com o perfil de projetos que o Programa Produtor de Água apoia, orienta e certifica.
Provas
Questão presente nas seguintes provas
As paredes de alvenaria podem ser construídas, por exemplo, com tijolos cerâmicos ou blocos de concreto. A opção que apresenta uma vantagem do uso de blocos vazados de concreto simples em relação aos tijolos comuns maciços é:
Provas
Questão presente nas seguintes provas
O jornalista que atua como assessor de imprensa deve:
Provas
Questão presente nas seguintes provas
É uma marca importante na trajetória histórica das políticas sociais no Brasil:
Provas
Questão presente nas seguintes provas
Os objetivos fundamentais da educação ambiental incluem os a seguir listados, EXCETO UM. Assinale-o.
Provas
Questão presente nas seguintes provas
2442328
Ano: 2012
Disciplina: Direito Constitucional
Banca: BIO-RIO
Orgão: Pref. Mesquita-RJ
Disciplina: Direito Constitucional
Banca: BIO-RIO
Orgão: Pref. Mesquita-RJ
Provas:
A investidura em cargo ou emprego público depende de aprovação prévia em concurso público de provas ou de provas e títulos, de acordo com a natureza e a complexidade do cargo ou emprego. O prazo de validade do concurso público é de até:
Provas
Questão presente nas seguintes provas
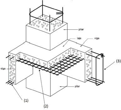
ATENÇÃO: A figura abaixo apresenta, esquematicamente, uma estrutura de concreto armado. Sobre essa estrutura, responda à questão.

As armaduras indicadas com os números (1) e (2) têm como função resistir, respectivamente:
Provas
Questão presente nas seguintes provas
A titulação para veículos impressos deve obedecer à regra de:
Provas
Questão presente nas seguintes provas
Dentre as variações linguísticas que podem ser operadas na FALA, temos um exemplo do uso do padrão informal na seguinte alternativa:
Provas
Questão presente nas seguintes provas
Ao ser enviada uma mensagem de correio eletrônico (e-mail) a partir de um programa (como por exemplo, ao Outlook Express), podemos preencher e utilizar, no momento do envio, os seguintes campos, EXCETO:
Provas
Questão presente nas seguintes provas
Cadernos
Caderno Container