Foram encontradas 30 questões.
942101
Ano: 2016
Disciplina: Ética na Administração Pública
Banca: Pref. Montes Claros-MG
Orgão: Pref. Montes Claros-MG
Disciplina: Ética na Administração Pública
Banca: Pref. Montes Claros-MG
Orgão: Pref. Montes Claros-MG
Provas:
A respeito da Lei n.º 3177/2003 que estabelece o Código de Ética Profissional do Servidor Público do Poder Executivo Municipal, marque a alternativa CORRETA.
Provas
Questão presente nas seguintes provas
936307
Ano: 2016
Disciplina: Desenho Técnico e Industrial
Banca: Pref. Montes Claros-MG
Orgão: Pref. Montes Claros-MG
Disciplina: Desenho Técnico e Industrial
Banca: Pref. Montes Claros-MG
Orgão: Pref. Montes Claros-MG
Provas:
Segundo NBR 6492/1994, os tipos de linhas utilizados em desenho de arquitetura, listados abaixo, estão corretos, EXCETO
Provas
Questão presente nas seguintes provas
936268
Ano: 2016
Disciplina: Português
Banca: Pref. Montes Claros-MG
Orgão: Pref. Montes Claros-MG
Disciplina: Português
Banca: Pref. Montes Claros-MG
Orgão: Pref. Montes Claros-MG
Provas:
TEXTO 01
A medicina não sabe como muitos remédios funcionam. E alguns simplesmente não funcionam.
Você provavelmente já tomou paracetamol quando estava com febre. Já deve ter usado algum relaxante muscular para aliviar dores no corpo. Quem sabe tenha tomado isotretinoína, na adolescência, para tratar acne. Ou faça uso, hoje, de algum antidepressivo. Mas esses medicamentos têm uma característica em comum que você não conhece: seu “mecanismo de ação não é plenamente conhecido”. Leia bulas de remédio e você encontrará essa frase em muitos, mas muitos deles. Ela significa que a ciência não sabe, com exatidão, o que eles fazem dentro do organismo. Sabe quais são seus efeitos (tanto os desejados quanto os colaterais), comprova sua eficácia e segurança, geralmente possui teorias sobre o mecanismo de ação. Mas, a rigor, não sabe como aquilo funciona. Só sabe, empiricamente, que funciona. Ela também sabe que alguns remédios, inclusive, não funcionam. Ou até funcionam, mas da mesma forma que uma pílula de farinha funcionaria: como placebo.
Um estudo de 2014 que avaliou antidepressivos concluiu que a maioria deles era indistinguível do placebo. Em tese, esses remédios deveriam aumentar os níveis de serotonina e/ou dopamina no cérebro. Algumas das drogas estudadas, entretanto, não demonstraram superioridade clinicamente significativa ao placebo (pílulas inócuas, sem efeito). Os pacientes que tomaram placebo também apresentaram níveis aumentados de serotonina – só que ela foi produzida pelo próprio organismo, sem nenhum medicamento.
(Fonte: Revista Super Interessante, edição 358, março 2016, p. 35. Adaptado.)
De acordo com o Texto 01, é CORRETO afirmar:
Provas
Questão presente nas seguintes provas
935021
Ano: 2016
Disciplina: Desenho Técnico e Industrial
Banca: Pref. Montes Claros-MG
Orgão: Pref. Montes Claros-MG
Disciplina: Desenho Técnico e Industrial
Banca: Pref. Montes Claros-MG
Orgão: Pref. Montes Claros-MG
Provas:
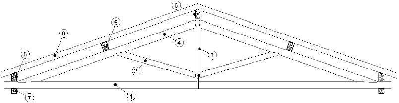
A figura abaixo representa as diversas peças da estrutura de um telhado. A questão deve ser respondida de acordo esta figura.

Caibro é o nome da peça de número
Provas
Questão presente nas seguintes provas
931757
Ano: 2016
Disciplina: Desenho Técnico e Industrial
Banca: Pref. Montes Claros-MG
Orgão: Pref. Montes Claros-MG
Disciplina: Desenho Técnico e Industrial
Banca: Pref. Montes Claros-MG
Orgão: Pref. Montes Claros-MG
Provas:
Com relação aos formatos padronizados para o Desenho Técnico, dividindo-se a área do padrão A2 pela área do padrão A4, encontra-se o resultado:
Provas
Questão presente nas seguintes provas
923083
Ano: 2016
Disciplina: Desenho Técnico e Industrial
Banca: Pref. Montes Claros-MG
Orgão: Pref. Montes Claros-MG
Disciplina: Desenho Técnico e Industrial
Banca: Pref. Montes Claros-MG
Orgão: Pref. Montes Claros-MG
Provas:
Qual deve ser a distância mínima entre uma abertura (janela) e a divisa do terreno?
Provas
Questão presente nas seguintes provas
923057
Ano: 2016
Disciplina: Desenho Técnico e Industrial
Banca: Pref. Montes Claros-MG
Orgão: Pref. Montes Claros-MG
Disciplina: Desenho Técnico e Industrial
Banca: Pref. Montes Claros-MG
Orgão: Pref. Montes Claros-MG
Provas:
Observe a planta de telhado abaixo.

Espigão está identificado pelo número
Provas
Questão presente nas seguintes provas
910441
Ano: 2016
Disciplina: Português
Banca: Pref. Montes Claros-MG
Orgão: Pref. Montes Claros-MG
Disciplina: Português
Banca: Pref. Montes Claros-MG
Orgão: Pref. Montes Claros-MG
Provas:
TEXTO 02
Lama da Samarco deixa mais de três toneladas de peixes mortos no Rio Doce
Os impactos causados pela lama com rejeitos de minérios que escoou no mar pelo Rio Doce após o rompimento da barragem no município mineiro de Mariana começaram a ser avaliados. [...] Os pesquisadores divulgaram as primeiras análises feitas nas águas do Rio Doce e do mar, na foz do rio.
Mais de 600 amostras foram coletadas em vários pontos da foz do Rio Doce e também do mar. Segundo os pesquisadores, três toneladas de peixes morreram no rio e outros 500 kg no mar, próximo à sua foz.
A causa da morte dos animais, entretanto, não é a contaminação do rio e sim a falta de oxigênio que a presença do rejeito da barragem provoca na água. “Por serem resíduos muito finos, houve uma queda total de oxigênio”, explicou Joça Tomé, coordenador do Instituto Chico Mendes (ICMBio) no Estado.
Outro fato que chamou a atenção dos estudiosos foi a grande redução na diversidade de espécies de algas, o principal alimento dos peixes. De acordo com o pesquisador Alex Bastos, a diminuição pode desequilibrar o ecossistema a longo prazo.
A pesquisa mostrou, ainda, que quantidade de partículas de ferro, alumínio, cromo e manganês na água atualmente é três vezes maior do que o máximo já verificado antes. Os estudiosos realizaram três viagens para coletar as amostras: duas no navio de pesquisas da Marinha do Brasil outra numa embarcação do Instituto Chico Mendes. [...]
Há três meses os pesquisadores iniciaram as análises do material e ainda serão precisos outros seis meses para a concluir desse primeiro estudo. No total, 40 pesquisadores da UFES, do Instituto Estadual do Meio Ambiente e do ICMBio participam do monitoramento da região, por tempo indeterminado.
Para os estudiosos, ainda não é possível calcular quanto tempo vão durar os impactos no rio e no mar e nem como os ecossistemas serão transformados.
(Disponível em: <http://www.folhavitoria.com.br/geral/noticia/2016/02/lama-da-samarco-deixa-mais-de-tres-toneladasde- peixes-mortos-no-rio-doce.html>. Acesso em: 6 fev. 2016. Adaptado.)
O que a lama da barragem de Fundão, através do Rio Doce, despejou no mar, segundo o Texto 02? Assinale a alternativa CORRETA.
Provas
Questão presente nas seguintes provas
906032
Ano: 2016
Disciplina: Desenho Técnico e Industrial
Banca: Pref. Montes Claros-MG
Orgão: Pref. Montes Claros-MG
Disciplina: Desenho Técnico e Industrial
Banca: Pref. Montes Claros-MG
Orgão: Pref. Montes Claros-MG
Provas:
A figura abaixo representa as diversas peças da estrutura de um telhado. A questão deve ser respondida de acordo esta figura.

Contrafrechal é o nome da peça de número
Provas
Questão presente nas seguintes provas
892961
Ano: 2016
Disciplina: Desenho Técnico e Industrial
Banca: Pref. Montes Claros-MG
Orgão: Pref. Montes Claros-MG
Disciplina: Desenho Técnico e Industrial
Banca: Pref. Montes Claros-MG
Orgão: Pref. Montes Claros-MG
Provas:
A figura abaixo representa as diversas peças da estrutura de um telhado. A questão deve ser respondida de acordo esta figura.

Frechal é o nome da peça de número
Provas
Questão presente nas seguintes provas
Cadernos
Caderno Container