Foram encontradas 817 questões.
Dentre as atribuições estabelecidas ao ACS no controle da dengue, temos:
Provas
Lavar as mãos com frequência, principalmente após ir ao banheiro e antes de comer, usar álcool em gel para desinfetar as mãos com frequência, ensinar as crianças a não levar objetos à boca pode prevenir qual condição?
Provas
Assinale a alternativa que indica corretamente o nível de medidas preventivas que visa à melhoria da qualidade dos cuidados prestados aos pacientes, porém com foco no cuidador, de onde emergem os cuidados.
Provas
A vacinação é de grande importância para o controle de diversas doenças infecciosas.
Já ao nascer, de acordo com o Programa Nacional de Imunização, devem ser realizadas as seguintes vacinas:
Provas
Assinale a alternativa que indica corretamente uma característica da Pílula anticoncepcional combinada.
Provas
Está voltada para a inclusão das pessoas com deficiência em toda a rede de serviços do Sistema Único de Saúde (SUS) e caracteriza-se por reconhecer a necessidade de implementar o processo de respostas às complexas questões que envolvem a atenção à saúde das pessoas com deficiência no Brasil.
Essa afirmativa se refere a qual política?
Provas
Assinale a alternativa correta sobre a saúde dos Adolescentes.
Provas
É uma atribuição específica do Agente Comunitário de Saúde, segundo a Política Nacional de Atenção Básica:
Provas
Segundo a Política Nacional de Atenção Básica, é a diretriz que pressupõe a continuidade da relação de cuidado, com construção de vínculo e responsabilização entre profissionais e usuários ao longo do tempo e de modo permanente e consistente, acompanhando os efeitos das intervenções em saúde e de outros elementos na vida das pessoas , evitando a perda de referências e diminuindo os riscos de iatrogenia que são decorrentes do desconhecimento das histórias de vida e da falta de coordenação do cuidado.
Provas
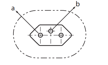
Em instalações elétricas, os plugues e tomadas para uso doméstico são padronizados e os bornes possuem posições específicas em relação aos cabos, conforme representação esquemática abaixo.

As identificações acima a e b estão relacionadas, respectivamente, aos cabos:
Provas
Caderno Container