Foram encontradas 40 questões.
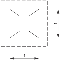
Uma nova escola será construída no município e será necessário construir 18 pilares. Cada pilar terá uma fundação de 1 m2 conforme a figura abaixo. Considerando que, para a construção de cada fundação, será necessária uma escavação de no mínimo 30 cm a mais para garantir a trabalhabilidade dos funcionários, e que a profundidade de escavação para cada fundação será de 2,30 m, assinale a alternativa que indica o volume de solo a ser escavado para construir as fundações de todos os pilares.

Provas
Questão presente nas seguintes provas
Vários são os tipos de fundações utilizadas para a construção de casas, edifícios, pontes e viadutos, além de outras.
Assinale a alternativa que apresenta apenas exemplos de fundações superficiais.
Provas
Questão presente nas seguintes provas
Ler com atenção o texto abaixo e responder o que se pede.
Texto
Os erros mais comuns de quem estuda para concursos públicos.
Se você tinha facilidade para estudar para provas quando estava na escola, nada garante que saiba como se preparar para um concurso público.
É que os processos seletivos para conquistar uma vaga na máquina pública são muito mais complexos - e diferentes entre si - do que os exames acadêmicos a que somos submetidos ao longo da vida.
Para começar, diz Nestor Távora, coordenador do curso preparatório LFG, há um elemento único, desconhecido pela maioria das pessoas, que faz toda a diferença para o sucesso do candidato: o edital.
O problema é que o documento, que compila informações como a sequência, o conteúdo e o peso de cada prova, não recebe atenção suficiente da maioria dos candidatos. “Parece um erro bobo, mas muita gente já começa a abrir os livros sem ter familiaridade com o edital, o que compromete toda a sua estratégia de estudo”, diz Távora.
Mas as falhas na preparação para a grande prova vão muito além disso. Veja a seguir as mais frequentes, segundo professores ouvidos por EXAME.com:
1. Não estabelecer um ritmo para os estudos. A preparação para um concurso público pode ser tão cansativa quanto uma bateria de exercícios na academia. Por isso, calibrar a intensidade e a frequência das sessões de estudo é fundamental. De acordo com Távora, alguns candidatos vão ao esgotamento total num único dia, só para depois passar semanas sem tocar nos livros. “Você precisa planejar um cronograma que seja, ao mesmo tempo, constante e saudável”, afirma o professor.
2. Estudar por materiais “duvidosos”. Pela pressa ou desconhecimento, é comum que o concurseiro confie em livros, videoaulas e cursos de má qualidade. “Além de incompletos, eles podem não estar atualizados de acordo com as últimas retificações do edital”, diz Rodrigo Menezes, diretor do site Concurso Virtual. Estudar por material desatualizado é “cair em casca de banana na certa”, segundo Rodrigo Lelis, professor do Universo do Concurso. Isso porque os avaliadores "adoram" fazer pegadinhas que envolvam a mudança trazida por uma lei recentemente atualizada.
3. Começar a preparação só depois da publicação do edital. De acordo com Marcus Bittencourt, advogado da União e professor do Damásio Educacional, muitos candidatos esperam a publicação do edital para abrir os livros. O problema é que o documento costuma sair poucos meses antes da primeira prova do concurso - um prazo muito curto para a preparação. Por isso, é melhor começar a estudar com base em editais anteriores. “Quando for publicado o novo, você terá tempo para fazer as adaptações necessárias e revisar os pontos já estudados, dando ênfase nas disciplinas de maior peso”, explica o professor.
4. Não distribuir bem as matérias ao longo da semana. Segundo Távora, muitos candidatos estudam de forma aleatória e caótica. O risco dessa atitude é chegar à prova sem ter coberto todos os assuntos mais importantes de cada área. Não adianta estudar só as matérias que você adora, porque assuntos importantes vão ficar de fora. Também não vale se dedicar apenas aos conteúdos mais difíceis, diz o professor, porque você vai se cansar. A melhor tática é estabelecer para a semana um “mix de disciplinas” completo, equilibrado e minimamente agradável.
5. Desconhecer a banca examinadora. Cada concurso é um universo com regras próprias. A maior parte das peculiaridades de cada processo seletivo se deve ao estilo dos avaliadores. Se você desconhece o estilo e as preferências dos seus avaliadores, horas e horas de estudo podem ser desperdiçadas. Enquanto algumas bancas gostam de elaborar provas enxutas e apegadas ao texto da lei, outras preferem exames mais longos e baseados em jurisprudência, exemplifica Távora. A Cespe/UnB, por exemplo, é uma banca que costuma elaborar exames em que cada resposta errada anula uma certa. Ignorar as regras de contagem de pontos, nesse caso, é fatal.
6. Estudar até a exaustão. No afã de conquistar a aprovação, muita gente estuda de manhã, à tarde e à noite, sem pausas. “É uma grande loucura”, diz Lelis, do Universo do Concurso. “É uma rotina que acaba com o equilíbrio emocional e gera muito estresse”. Segundo o professor, qualidade vale mais do que quantidade: é preferível estudar pouco, mas com afinco, do que passar por horas e horas debruçado sobre os livros. “O candidato exausto e estressado tem muito mais chances de ter um 'branco' ou até passar mal no dia da prova”, afirma o professor.
7. Não treinar. Outro erro frequente é restringir a sua preparação à leitura da matéria. “Claro que você precisa estudar textos, doutrinas e leis, mas não pode acreditar que isso será suficiente”, afirma Távora. Fazer exercícios e simulados é fundamental para a aprovação, e não só para testar o seu conhecimento. O treino também ajuda a se preparar para o formato das questões e dominar o tempo disponível para resolvê-las.
8. Estudar pensando em curto prazo. Segundo Rodrigo Menezes, diretor do site Concurso Virtual, outro erro frequente é esquecer que alguns editais demoram anos para ser publicados. A depender do seu objetivo, é preciso estudar com o foco no longo prazo.” O ideal para esse caso é usar técnicas de resumo e revisões para que o conteúdo não seja esquecido após um tempo”, afirma o especialista.
Disponível em: >http://exame.abril.com.br/carreira/noticias/os-erros-mais-
comuns-de-quem-estuda-para-concursos-publicos. <. Data da consulta: 23/02/2016.
A presença do pronome VOCÊ no texto dá a este um caráter de:
Provas
Questão presente nas seguintes provas
Ler com atenção cada um dos textos abaixo e responder o que se pede.
Texto I
Os erros mais comuns de quem estuda para concursos públicos.
Se você tinha facilidade para estudar para provas quando estava na escola, nada garante que saiba como se preparar para um concurso público.
É que os processos seletivos para conquistar uma vaga na máquina pública são muito mais complexos - e diferentes entre si - do que os exames acadêmicos a que somos submetidos ao longo da vida.
Para começar, diz Nestor Távora, coordenador do curso preparatório LFG, há um elemento único, desconhecido pela maioria das pessoas, que faz toda a diferença para o sucesso do candidato: o edital.
O problema é que o documento, que compila informações como a sequência, o conteúdo e o peso de cada prova, não recebe atenção suficiente da maioria dos candidatos. “Parece um erro bobo, mas muita gente já começa a abrir os livros sem ter familiaridade com o edital, o que compromete toda a sua estratégia de estudo”, diz Távora.
Mas as falhas na preparação para a grande prova vão muito além disso. Veja a seguir as mais frequentes, segundo professores ouvidos por EXAME.com:
1. Não estabelecer um ritmo para os estudos. A preparação para um concurso público pode ser tão cansativa quanto uma bateria de exercícios na academia. Por isso, calibrar a intensidade e a frequência das sessões de estudo é fundamental. De acordo com Távora, alguns candidatos vão ao esgotamento total num único dia, só para depois passar semanas sem tocar nos livros. “Você precisa planejar um cronograma que seja, ao mesmo tempo, constante e saudável”, afirma o professor.
2. Estudar por materiais “duvidosos”. Pela pressa ou desconhecimento, é comum que o concurseiro confie em livros, videoaulas e cursos de má qualidade. “Além de incompletos, eles podem não estar atualizados de acordo com as últimas retificações do edital”, diz Rodrigo Menezes, diretor do site Concurso Virtual. Estudar por material desatualizado é “cair em casca de banana na certa”, segundo Rodrigo Lelis, professor do Universo do Concurso. Isso porque os avaliadores "adoram" fazer pegadinhas que envolvam a mudança trazida por uma lei recentemente atualizada.
3. Começar a preparação só depois da publicação do edital. De acordo com Marcus Bittencourt, advogado da União e professor do Damásio Educacional, muitos candidatos esperam a publicação do edital para abrir os livros. O problema é que o documento costuma sair poucos meses antes da primeira prova do concurso - um prazo muito curto para a preparação. Por isso, é melhor começar a estudar com base em editais anteriores. “Quando for publicado o novo, você terá tempo para fazer as adaptações necessárias e revisar os pontos já estudados, dando ênfase nas disciplinas de maior peso”, explica o professor.
4. Não distribuir bem as matérias ao longo da semana. Segundo Távora, muitos candidatos estudam de forma aleatória e caótica. O risco dessa atitude é chegar à prova sem ter coberto todos os assuntos mais importantes de cada área. Não adianta estudar só as matérias que você adora, porque assuntos importantes vão ficar de fora. Também não vale se dedicar apenas aos conteúdos mais difíceis, diz o professor, porque você vai se cansar. A melhor tática é estabelecer para a semana um “mix de disciplinas” completo, equilibrado e minimamente agradável.
5. Desconhecer a banca examinadora. Cada concurso é um universo com regras próprias. A maior parte das peculiaridades de cada processo seletivo se deve ao estilo dos avaliadores. Se você desconhece o estilo e as preferências dos seus avaliadores, horas e horas de estudo podem ser desperdiçadas. Enquanto algumas bancas gostam de elaborar provas enxutas e apegadas ao texto da lei, outras preferem exames mais longos e baseados em jurisprudência, exemplifica Távora. A Cespe/UnB, por exemplo, é uma banca que costuma elaborar exames em que cada resposta errada anula uma certa. Ignorar as regras de contagem de pontos, nesse caso, é fatal.
6. Estudar até a exaustão. No afã de conquistar a aprovação, muita gente estuda de manhã, à tarde e à noite, sem pausas. “É uma grande loucura”, diz Lelis, do Universo do Concurso. “É uma rotina que acaba com o equilíbrio emocional e gera muito estresse”. Segundo o professor, qualidade vale mais do que quantidade: é preferível estudar pouco, mas com afinco, do que passar por horas e horas debruçado sobre os livros. “O candidato exausto e estressado tem muito mais chances de ter um 'branco' ou até passar mal no dia da prova”, afirma o professor.
7. Não treinar. Outro erro frequente é restringir a sua preparação à leitura da matéria. “Claro que você precisa estudar textos, doutrinas e leis, mas não pode acreditar que isso será suficiente”, afirma Távora. Fazer exercícios e simulados é fundamental para a aprovação, e não só para testar o seu conhecimento. O treino também ajuda a se preparar para o formato das questões e dominar o tempo disponível para resolvê-las.
8. Estudar pensando em curto prazo. Segundo Rodrigo Menezes, diretor do site Concurso Virtual, outro erro frequente é esquecer que alguns editais demoram anos para ser publicados. A depender do seu objetivo, é preciso estudar com o foco no longo prazo.” O ideal para esse caso é usar técnicas de resumo e revisões para que o conteúdo não seja esquecido após um tempo”, afirma o especialista.
Disponível em: >http://exame.abril.com.br/carreira/noticias/os-erros-mais-
comuns-de-quem-estuda-para-concursos-publicos. <. Data da consulta: 23/02/2016.
Texto II

Disponível em: >https://www.google.com.br/search?q=charges+sobre+concursos+
publicos&espv=2&biw=1366&bih=667&tbm=isch&imgil=Qav7f1mV-<. Data da consulta: 23/02/2016.
Leia com atenção as assertivas acerca dos textos I e II e em seguida responda o que se pede.
I. Embora tratem da mesma temática, concurso público, os textos I e II abordam distintas vertentes do tema: o primeiro se refere às estratégias e metodologias de estudo para passar nos concursos. O foco está nestes; já no segundo texto, passar nos concursos é meio para se atingir os fins: ser funcionário público.
II. As temáticas são completamente distintas. O primeiro se refere às estratégias e metodologias de estudo para passar nos concursos. O foco está nestes; já no segundo texto, o foco está no sonho de ser funcionário público, prescindindo o candidato, para tal, dos concursos públicos.
III. Por se enquadrarem em categorias de gêneros textuais completamente distintos - um em prosa, outro tirinha, misto de verbal e não verbal – os textos acima não poderiam, a princípio, tratar do mesmo tema.
IV. As eventuais falhas de estudo e preparação para concursos públicos, mostradas no texto I, não são diagnosticadas por autoridades no assunto, daí a razão de não poderem ser levadas a sério pelos concurseiros.
Está CORRETO apenas o que se afirma em:
Provas
Questão presente nas seguintes provas
No Brasil, desde o dia 1º de julho de 2011, a NBR 14136 (baseada na norma internacional IEC 60906-1) é o padrão oficial de tomadas elétricas. Segundo o novo padrão, assinale a alternativa que indica a posição adequada dos fios na nova tomada.

Provas
Questão presente nas seguintes provas
Na sentença “Não faça, por favor !”, se mudarmos a posição da vírgula para antes do verbo fazer, é CORRETO afirmarmos que:
Provas
Questão presente nas seguintes provas
Ler com atenção o texto abaixo e responder o que se pede.
Texto
Os erros mais comuns de quem estuda para concursos públicos.
Se você tinha facilidade para estudar para provas quando estava na escola, nada garante que saiba como se preparar para um concurso público.
É que os processos seletivos para conquistar uma vaga na máquina pública são muito mais complexos - e diferentes entre si - do que os exames acadêmicos a que somos submetidos ao longo da vida.
Para começar, diz Nestor Távora, coordenador do curso preparatório LFG, há um elemento único, desconhecido pela maioria das pessoas, que faz toda a diferença para o sucesso do candidato: o edital.
O problema é que o documento, que compila informações como a sequência, o conteúdo e o peso de cada prova, não recebe atenção suficiente da maioria dos candidatos. “Parece um erro bobo, mas muita gente já começa a abrir os livros sem ter familiaridade com o edital, o que compromete toda a sua estratégia de estudo”, diz Távora.
Mas as falhas na preparação para a grande prova vão muito além disso. Veja a seguir as mais frequentes, segundo professores ouvidos por EXAME.com:
1. Não estabelecer um ritmo para os estudos. A preparação para um concurso público pode ser tão cansativa quanto uma bateria de exercícios na academia. Por isso, calibrar a intensidade e a frequência das sessões de estudo é fundamental. De acordo com Távora, alguns candidatos vão ao esgotamento total num único dia, só para depois passar semanas sem tocar nos livros. “Você precisa planejar um cronograma que seja, ao mesmo tempo, constante e saudável”, afirma o professor.
2. Estudar por materiais “duvidosos”. Pela pressa ou desconhecimento, é comum que o concurseiro confie em livros, videoaulas e cursos de má qualidade. “Além de incompletos, eles podem não estar atualizados de acordo com as últimas retificações do edital”, diz Rodrigo Menezes, diretor do site Concurso Virtual. Estudar por material desatualizado é “cair em casca de banana na certa”, segundo Rodrigo Lelis, professor do Universo do Concurso. Isso porque os avaliadores "adoram" fazer pegadinhas que envolvam a mudança trazida por uma lei recentemente atualizada.
3. Começar a preparação só depois da publicação do edital. De acordo com Marcus Bittencourt, advogado da União e professor do Damásio Educacional, muitos candidatos esperam a publicação do edital para abrir os livros. O problema é que o documento costuma sair poucos meses antes da primeira prova do concurso - um prazo muito curto para a preparação. Por isso, é melhor começar a estudar com base em editais anteriores. “Quando for publicado o novo, você terá tempo para fazer as adaptações necessárias e revisar os pontos já estudados, dando ênfase nas disciplinas de maior peso”, explica o professor.
4. Não distribuir bem as matérias ao longo da semana. Segundo Távora, muitos candidatos estudam de forma aleatória e caótica. O risco dessa atitude é chegar à prova sem ter coberto todos os assuntos mais importantes de cada área. Não adianta estudar só as matérias que você adora, porque assuntos importantes vão ficar de fora. Também não vale se dedicar apenas aos conteúdos mais difíceis, diz o professor, porque você vai se cansar. A melhor tática é estabelecer para a semana um “mix de disciplinas” completo, equilibrado e minimamente agradável.
5. Desconhecer a banca examinadora. Cada concurso é um universo com regras próprias. A maior parte das peculiaridades de cada processo seletivo se deve ao estilo dos avaliadores. Se você desconhece o estilo e as preferências dos seus avaliadores, horas e horas de estudo podem ser desperdiçadas. Enquanto algumas bancas gostam de elaborar provas enxutas e apegadas ao texto da lei, outras preferem exames mais longos e baseados em jurisprudência, exemplifica Távora. A Cespe/UnB, por exemplo, é uma banca que costuma elaborar exames em que cada resposta errada anula uma certa. Ignorar as regras de contagem de pontos, nesse caso, é fatal.
6. Estudar até a exaustão. No afã de conquistar a aprovação, muita gente estuda de manhã, à tarde e à noite, sem pausas. “É uma grande loucura”, diz Lelis, do Universo do Concurso. “É uma rotina que acaba com o equilíbrio emocional e gera muito estresse”. Segundo o professor, qualidade vale mais do que quantidade: é preferível estudar pouco, mas com afinco, do que passar por horas e horas debruçado sobre os livros. “O candidato exausto e estressado tem muito mais chances de ter um 'branco' ou até passar mal no dia da prova”, afirma o professor.
7. Não treinar. Outro erro frequente é restringir a sua preparação à leitura da matéria. “Claro que você precisa estudar textos, doutrinas e leis, mas não pode acreditar que isso será suficiente”, afirma Távora. Fazer exercícios e simulados é fundamental para a aprovação, e não só para testar o seu conhecimento. O treino também ajuda a se preparar para o formato das questões e dominar o tempo disponível para resolvê-las.
8. Estudar pensando em curto prazo. Segundo Rodrigo Menezes, diretor do site Concurso Virtual, outro erro frequente é esquecer que alguns editais demoram anos para ser publicados. A depender do seu objetivo, é preciso estudar com o foco no longo prazo.” O ideal para esse caso é usar técnicas de resumo e revisões para que o conteúdo não seja esquecido após um tempo”, afirma o especialista.
Disponível em: >http://exame.abril.com.br/carreira/noticias/os-erros-mais-
comuns-de-quem-estuda-para-concursos-publicos. <. Data da consulta: 23/02/2016.
A expressão sublinhada em “Estudar por materiais 'duvidosos'” pode significar, no contexto:
Provas
Questão presente nas seguintes provas
Utilizando o software AutoCAD (um dos softwares mais utilizados na área de edificações), assinale a alternativa que indica a sequência CORRETA para interligar as linhas do ponto A ao ponto B.

Provas
Questão presente nas seguintes provas
Os atalhos de teclado consistem na combinação de duas ou mais teclas para execução de uma determinada tarefa. No Windows Explorer do Microsoft Windows 7, em português, quais teclas de atalho devem ser combinadas para alterar o tamanho e a aparência dos ícones de arquivos e pastas?
Provas
Questão presente nas seguintes provas
Acerca do MS-Office Word 2010, em português, assinale a alternativa INCORRETA:
Provas
Questão presente nas seguintes provas
Cadernos
Caderno Container