Foram encontradas 40 questões.
Fundações são os elementos estruturais com função de transmitir as cargas da estrutura ao terreno onde ela se
apoia. Classificam-se em diretas e indiretas, de acordo com a forma de transferência de cargas da estrutura para
o solo. Sobre essa temática, marque V para as afirmativas verdadeiras e F para as falsas.
( ) As fundações indiretas podem ser subdivididas em rasas e profundas. ( ) Fundações diretas transferem as cargas para camadas de solo capazes de suportá-las, sem deformar-se exageradamente. ( ) As fundações diretas são todas profundas, devido às dimensões das peças estruturais. ( ) Fundações indiretas transferem as cargas por efeito de atrito lateral do elemento com o solo e por efeito de ponta.
Assinale a sequência correta.
( ) As fundações indiretas podem ser subdivididas em rasas e profundas. ( ) Fundações diretas transferem as cargas para camadas de solo capazes de suportá-las, sem deformar-se exageradamente. ( ) As fundações diretas são todas profundas, devido às dimensões das peças estruturais. ( ) Fundações indiretas transferem as cargas por efeito de atrito lateral do elemento com o solo e por efeito de ponta.
Assinale a sequência correta.
Provas
Questão presente nas seguintes provas
Quanto às propriedades físicas do som, analise as assertivas.
I - O som é um fenômeno vibratório resultante de variações da pressão no ar. Essas variações de pressão se dão em torno da pressão atmosférica e se propagam longitudinalmente, à velocidade de 344 m/s para 20º C. II - Frequência (f) é o número de oscilações por minuto do movimento vibratório do som. Para uma onda sonora em propagação, é o número de ondas que passam por um determinado referencial em um intervalo de tempo. III - Qualquer fenômeno capaz de causar ondas de pressão no ar é considerado uma fonte sonora. Pode ser um corpo sólido em vibração, uma explosão ou um vazamento de gás à alta pressão. IV - O ruído é um som de baixa complexibilidade, resultante da superposição desarmônica de sons provenientes de várias fontes. Seu espectro sempre será uma confusa composição de harmônicas sem qualquer classificação ou ordem de composição.
Está correto o que se afirma em
I - O som é um fenômeno vibratório resultante de variações da pressão no ar. Essas variações de pressão se dão em torno da pressão atmosférica e se propagam longitudinalmente, à velocidade de 344 m/s para 20º C. II - Frequência (f) é o número de oscilações por minuto do movimento vibratório do som. Para uma onda sonora em propagação, é o número de ondas que passam por um determinado referencial em um intervalo de tempo. III - Qualquer fenômeno capaz de causar ondas de pressão no ar é considerado uma fonte sonora. Pode ser um corpo sólido em vibração, uma explosão ou um vazamento de gás à alta pressão. IV - O ruído é um som de baixa complexibilidade, resultante da superposição desarmônica de sons provenientes de várias fontes. Seu espectro sempre será uma confusa composição de harmônicas sem qualquer classificação ou ordem de composição.
Está correto o que se afirma em
Provas
Questão presente nas seguintes provas
Considerando o exposto na NBR 9077, que trata de saídas de emergência em edifícios, qual dos modelos de
corrimão, ilustrados a seguir, é considerado “não aceitável” para instalação em saídas de emergência?
Provas
Questão presente nas seguintes provas
Para projetar proteções solares, é necessário o conhecimento da máscara de sombra que cada tipo de brise
proporciona. Sobre essa temática, assinale a máscara de sombra correspondente ao brise vertical infinito.
Provas
Questão presente nas seguintes provas
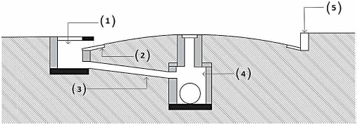
Um sistema de drenagem de águas pluviais é composto por uma série de unidades e dispositivos hidráulicos para os
quais existe uma terminologia própria. Sobre essa temática, analise a ilustração a seguir.

Assinale a alternativa que denomina corretamente os dispositivos hidráulicos numerados na ilustração.

Assinale a alternativa que denomina corretamente os dispositivos hidráulicos numerados na ilustração.
Provas
Questão presente nas seguintes provas
Qualquer terreno com declividade está exposto aos efeitos das chuvas. O alagamento ou a erosão dependerá da
natureza do solo, de sua permeabilidade, de sua inclinação e de como se encontra coberto. Sobre essa temática,
marque V para as afirmativas verdadeiras e F para as falsas.
( ) Se a declividade é pequena, o terreno alaga facilmente; se é grande, a água que o percorre adquire velocidade e produz erosão. ( ) Qualquer declividade está exposta à erosão, dependendo da natureza do material, do ângulo de inclinação e da cobertura vegetal. ( ) Quando coberto por vegetação rasteira densa e firme ou outro tipo de planta, o terreno em declive geralmente é instável. ( ) A grama pode ser um elemento vegetal importante na estabilização de encostas, na medida que dificulta a erosão do solo.
Assinale a sequência correta.
( ) Se a declividade é pequena, o terreno alaga facilmente; se é grande, a água que o percorre adquire velocidade e produz erosão. ( ) Qualquer declividade está exposta à erosão, dependendo da natureza do material, do ângulo de inclinação e da cobertura vegetal. ( ) Quando coberto por vegetação rasteira densa e firme ou outro tipo de planta, o terreno em declive geralmente é instável. ( ) A grama pode ser um elemento vegetal importante na estabilização de encostas, na medida que dificulta a erosão do solo.
Assinale a sequência correta.
Provas
Questão presente nas seguintes provas
O uso irracional dos sistemas de iluminação artificial pode causar impactos indesejáveis no meio ambiente,
como danos à flora, desorientação dos animais, além do consumo excessivo de energia. É fundamental o
conhecimento aprofundado sobre as lâmpadas e sistemas de iluminação para desenvolver projetos de
iluminação mais conscientes. A coluna de cima apresenta grandezas relacionadas à luminotécnica e a de baixo, o conceito de cada uma. Numere a coluna de baixo de acordo com a de cima.
1 - Intensidade Luminosa 2 - Fluxo Luminoso 3 - Índice de Reprodução de Cor 4 - Temperatura de Cor 5 - Iluminância
( ) Indica o fluxo luminoso de uma fonte de luz que incide sobre uma superfície situada a certa distância desta fonte. ( ) É a radiação total da fonte luminosa, entre os limites de comprimento de onda 380 nm e 780 nm. ( ) Fluxo Luminoso irradiado na direção de um determinado ponto. ( ) Descreve uma determinada fonte de luz pela comparação com a cor de um corpo negro à medida que se altera sua temperatura. ( ) Capacidade de a luz incidente reproduzir com fidelidade as cores dos objetos.
Marque a sequência correta.
1 - Intensidade Luminosa 2 - Fluxo Luminoso 3 - Índice de Reprodução de Cor 4 - Temperatura de Cor 5 - Iluminância
( ) Indica o fluxo luminoso de uma fonte de luz que incide sobre uma superfície situada a certa distância desta fonte. ( ) É a radiação total da fonte luminosa, entre os limites de comprimento de onda 380 nm e 780 nm. ( ) Fluxo Luminoso irradiado na direção de um determinado ponto. ( ) Descreve uma determinada fonte de luz pela comparação com a cor de um corpo negro à medida que se altera sua temperatura. ( ) Capacidade de a luz incidente reproduzir com fidelidade as cores dos objetos.
Marque a sequência correta.
Provas
Questão presente nas seguintes provas
O sistema formal descrito no Livro 1 do tratado de Vitrúvio está fundamentado na noção de composição realizada a
partir de elementos, podendo-se agrupar os termos da teoria em dois grandes grupos: o de princípios, que
determinam condições para excelência arquitetônica, e o de procedimentos, que auxiliam o arquiteto no controle do
projeto. A coluna de cima apresenta alguns desses princípios de composição e a de baixo a definição de cada
um. Numere a coluna de baixo de acordo com a de cima.
1 - Equilíbrio 2 - Escala 3 - Ênfase 4 - Ritmo
( ) Está associado à maneira que os elementos estão dispostos no ambiente, identificando-o como uma unidade. ( ) Pressupõe a coexistência de elementos dominantes e subordinados na composição de um interior. ( ) É um fluxo de movimento que pode ser medido ou controlado e geralmente é produzido por uma ordenação de vários elementos diferentes. ( ) Refere-se ao tamanho de uma coisa relacionada a um padrão conhecido ou a uma constante conhecida.
Marque a sequência correta.
1 - Equilíbrio 2 - Escala 3 - Ênfase 4 - Ritmo
( ) Está associado à maneira que os elementos estão dispostos no ambiente, identificando-o como uma unidade. ( ) Pressupõe a coexistência de elementos dominantes e subordinados na composição de um interior. ( ) É um fluxo de movimento que pode ser medido ou controlado e geralmente é produzido por uma ordenação de vários elementos diferentes. ( ) Refere-se ao tamanho de uma coisa relacionada a um padrão conhecido ou a uma constante conhecida.
Marque a sequência correta.
Provas
Questão presente nas seguintes provas
O vento influencia significativamente na ambiência dos espaços arquitetônicos e urbanos e, consequentemente,
na sensação térmica de seus usuários. Por meio de adequada proposta urbano-arquitetônica e paisagística, é
possível amenizar efeitos indesejáveis, visto que a vegetação permite controlar a direção e a velocidade do
vento. Sobre a temática, assinale a assertiva correta.
Provas
Questão presente nas seguintes provas
509569
Ano: 2018
Disciplina: Ética e Regulação Profissional
Banca: UFMT
Orgão: Pref. Várzea Grande-MT
Disciplina: Ética e Regulação Profissional
Banca: UFMT
Orgão: Pref. Várzea Grande-MT
Provas:
Quanto às obrigações gerais presentes no Código de Ética e Disciplina do Conselho de Arquitetura e
Urbanismo do Brasil, analise as afirmativas a seguir.
I - Estabelece como regra que o arquiteto e urbanista deve responsabilizar-se pelas tarefas ou trabalhos executados por seus auxiliares, equipes, ou sociedades profissionais que estiverem sob sua administração ou direção, e assegurar que atuem em conformidade com os melhores métodos e técnicas. II - Recomenda que o arquiteto e urbanista deve aprimorar seus conhecimentos nas áreas relevantes para a prática profissional, por meio de capacitação continuada, visando à elevação dos padrões de excelência da profissão. III - Recomenda que o arquiteto e urbanista deve declarar-se impedido de assumir responsabilidades profissionais que extrapolem os limites de suas atribuições, habilidades e competências, em seus respectivos campos de atuação. IV - Estabelece como regra que o arquiteto e urbanista deve defender o direito de crítica intelectual fundamentada sobre as artes, as ciências e as técnicas da Arquitetura e Urbanismo, colaborando para o seu aperfeiçoamento e desenvolvimento.
Está correto o que se afirma em
I - Estabelece como regra que o arquiteto e urbanista deve responsabilizar-se pelas tarefas ou trabalhos executados por seus auxiliares, equipes, ou sociedades profissionais que estiverem sob sua administração ou direção, e assegurar que atuem em conformidade com os melhores métodos e técnicas. II - Recomenda que o arquiteto e urbanista deve aprimorar seus conhecimentos nas áreas relevantes para a prática profissional, por meio de capacitação continuada, visando à elevação dos padrões de excelência da profissão. III - Recomenda que o arquiteto e urbanista deve declarar-se impedido de assumir responsabilidades profissionais que extrapolem os limites de suas atribuições, habilidades e competências, em seus respectivos campos de atuação. IV - Estabelece como regra que o arquiteto e urbanista deve defender o direito de crítica intelectual fundamentada sobre as artes, as ciências e as técnicas da Arquitetura e Urbanismo, colaborando para o seu aperfeiçoamento e desenvolvimento.
Está correto o que se afirma em
Provas
Questão presente nas seguintes provas
Cadernos
Caderno Container