Foram encontradas 531 questões.
Os hidrômetros, para garantia de bom funcionamento, são certificados pelo (a)
Provas
Questão presente nas seguintes provas
Observe a figura.

As rótulas do cilindro de levantamento das lâminas devem ser lubrificadas com graxa sob pressão, a cada

As rótulas do cilindro de levantamento das lâminas devem ser lubrificadas com graxa sob pressão, a cada
Provas
Questão presente nas seguintes provas
As alavancas da figura a seguir acionam os implementos da motoniveladora.

Esses implementos atuam por meio de um sistema

Esses implementos atuam por meio de um sistema
Provas
Questão presente nas seguintes provas
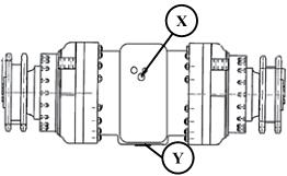
A figura apresenta o eixo traseiro da motoniveladora.

As letras X e Y correspondem, correta e respectivamente a

As letras X e Y correspondem, correta e respectivamente a
Provas
Questão presente nas seguintes provas
Observe a ilustração.

Essa figura apresenta a manutenção preventiva realizada com jato de ar pressurizado no sistema de

Essa figura apresenta a manutenção preventiva realizada com jato de ar pressurizado no sistema de
Provas
Questão presente nas seguintes provas
O grau de responsabilidade de cada profissional está de acordo com
Provas
Questão presente nas seguintes provas
Entre os componentes de espectrômetro de absorção atômica (AAS), está o sistema de atomização, que pode ser feita em chama, em tubo acoplado aquecido a gerador de hidretos, através da geração de vapor, e eletrotermicamente.
Em um laboratório de análises, o AAS é equipado com um forno de grafite. Isso quer dizer que, nesse equipamento, a atomização é realizada pelo sistema
Em um laboratório de análises, o AAS é equipado com um forno de grafite. Isso quer dizer que, nesse equipamento, a atomização é realizada pelo sistema
Provas
Questão presente nas seguintes provas
Para responder à questão , considere as informações e o gráfico apresentados a seguir.
No desenvolvimento de um método de análise dos hormônios estrógenos mais comumente encontrados em amostras de água, por cromatografia líquida de alta eficiência, pesquisadores estudaram o comportamento de amostras de estrógenos adicionadas a cartuchos preenchidos com dois tipos de adsorventes (C18 e OPT), e condicionados segundo quatro diferentes procedimentos (P1 a P4). Esse estudo foi feito com base na determinação da percentagem de recuperação dos analitos, conforme apresentado no gráfico seguinte.
O esquema apresentado a seguir descreve as etapas do processo de preparação de amostras a serem analisadas por cromatografia líquida de alta eficiência.No desenvolvimento de um método de análise dos hormônios estrógenos mais comumente encontrados em amostras de água, por cromatografia líquida de alta eficiência, pesquisadores estudaram o comportamento de amostras de estrógenos adicionadas a cartuchos preenchidos com dois tipos de adsorventes (C18 e OPT), e condicionados segundo quatro diferentes procedimentos (P1 a P4). Esse estudo foi feito com base na determinação da percentagem de recuperação dos analitos, conforme apresentado no gráfico seguinte.

Sabendo que, no estudo realizado, os materiais usados para o preenchimento dos cartuchos eram derivados de sílica (C18) ou polímeros de poliamida (OPT), é correto afirmar que a etapa de retenção das amostras de estrógenos nesses dois adsorventes é controlada principalmente por
Provas
Questão presente nas seguintes provas
Do espectro IV de uma substância desconhecida de fórmula C9 H10 O, foram obtidas as informações apresentadas na tabela:
Intensidade Frequência (cm–1 )
forte 3 100
média 2 900
média 2 800
forte 1 710
média 1 600
média 1 475
média 1 465
média 1 450
média 1 375
Com base nessas informações, a substância desconhecida pode se corretamente identificada como sendo
Intensidade Frequência (cm–1 )
forte 3 100
média 2 900
média 2 800
forte 1 710
média 1 600
média 1 475
média 1 465
média 1 450
média 1 375
Com base nessas informações, a substância desconhecida pode se corretamente identificada como sendo
Provas
Questão presente nas seguintes provas
Para responder à questão , leia o texto seguinte.
Pesou- se 500 mg de solo em um erlenmeyer de capacidade para 125 mL. Adicionou- se 10 mL de solução de ácido nítrico (1:1) ao erlenmeyer e este foi tampado com vidro relógio. O conjunto foi aquecido a aproximadamente 95 °C, em uma placa de aquecimento, por 15 minutos, sem ebulição. Em seguida, foram adicionados 5 mL de ácido nítrico concentrado e o material foi colocado sob refluxo por 1 h. Adicionou- se 2 mL de água deionizada e 8 mL de água oxigenada, deixando em reação por 1 h. Por último, adicionouse 5 mL de ácido clorídrico concentrado e 10 mL de água deionizada, colocando sob refluxo por 15 minutos. Após esfriar, o material foi transferido quantitativamente, lavando- se o erlenmeyer com pequenas proporções de ácido clorídrico (1:100) para um funil com papel de filtro faixa azul (filtração lenta) e o filtrado coletado em balão volumétrico de 50 mL. Após completar o volume, foram feitas as determinações dos teores de metais utilizando um espectrômetro de emissão ótica com plasma induzido.
(www.iac.sp.gov.br.dissertacoes/Thabata Godoy.pdf. Fragmento. Acesso em abril de 2014.
Sabendo que a solução analisada continha metais pesados, tais como Cd, Cr, Cu, Ni, Pb e Zn, tanto na forma livre quanto ionizada, é correto afirmar que a solução final deve ser descartadaPesou- se 500 mg de solo em um erlenmeyer de capacidade para 125 mL. Adicionou- se 10 mL de solução de ácido nítrico (1:1) ao erlenmeyer e este foi tampado com vidro relógio. O conjunto foi aquecido a aproximadamente 95 °C, em uma placa de aquecimento, por 15 minutos, sem ebulição. Em seguida, foram adicionados 5 mL de ácido nítrico concentrado e o material foi colocado sob refluxo por 1 h. Adicionou- se 2 mL de água deionizada e 8 mL de água oxigenada, deixando em reação por 1 h. Por último, adicionouse 5 mL de ácido clorídrico concentrado e 10 mL de água deionizada, colocando sob refluxo por 15 minutos. Após esfriar, o material foi transferido quantitativamente, lavando- se o erlenmeyer com pequenas proporções de ácido clorídrico (1:100) para um funil com papel de filtro faixa azul (filtração lenta) e o filtrado coletado em balão volumétrico de 50 mL. Após completar o volume, foram feitas as determinações dos teores de metais utilizando um espectrômetro de emissão ótica com plasma induzido.
(www.iac.sp.gov.br.dissertacoes/Thabata Godoy.pdf. Fragmento. Acesso em abril de 2014.
Provas
Questão presente nas seguintes provas
Cadernos
Caderno Container