Foram encontradas 120 questões.

Um fazendeiro proprietário de 18 km² de terras resolveu reparti-las entre seus dois filhos. Para tal, representou suas terras em um sistema cartesiano de coordenadas ortogonais xOy, em que o km é a unidade de medida em ambos os eixos. Nesse sistema de referência, a fazenda corresponde a um triângulo de vértices A(0, 9), B(0, 18) e C(4, 9), conforme apresentado na figura precedente. Para fazer a divisão, ele vai usar uma cerca que, no modelo, será paralela ao eixo y, ou seja, uma reta de equação x = k, em que k é uma constante.
A respeito dessa situação hipotética, julgue o próximo item.
Sabendo-se que o baricentro de um triângulo é o ponto de intersecção das medianas, então a distância do baricentro do triângulo que representa a propriedade à origem do sistema de coordenadas é inferior a 12 km.
Provas

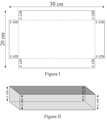
Uma caixa retangular sem tampa será construída a partir da retirada de 4 quadrados de lado x cm de comprimento dos cantos de uma folha de papelão retangular de dimensões 30 cm × 20 cm, conforme mostra a figura I precedente. A figura II representa a caixa, após dobrarem-se as abas perpendicularmente à folha. O paralelepípedo reto (sem uma das faces) obtido tem altura de x cm.
A partir dessa situação, julgue o item a seguir.
Se A(x) é o valor da área da base da caixa (paralelepípedo), em
que A(0) = 600 cm² é o valor da área da folha antes da retirada
dos quadrados, então ![]()
Provas

Uma caixa retangular sem tampa será construída a partir da retirada de 4 quadrados de lado x cm de comprimento dos cantos de uma folha de papelão retangular de dimensões 30 cm × 20 cm, conforme mostra a figura I precedente. A figura II representa a caixa, após dobrarem-se as abas perpendicularmente à folha. O paralelepípedo reto (sem uma das faces) obtido tem altura de x cm.
A partir dessa situação, julgue o item a seguir.
O volume da caixa obtida será máximo se ![]()
Provas

Uma caixa retangular sem tampa será construída a partir da retirada de 4 quadrados de lado x cm de comprimento dos cantos de uma folha de papelão retangular de dimensões 30 cm × 20 cm, conforme mostra a figura I precedente. A figura II representa a caixa, após dobrarem-se as abas perpendicularmente à folha. O paralelepípedo reto (sem uma das faces) obtido tem altura de x cm.
A partir dessa situação, julgue o item a seguir.
Se x = 1, então o volume da caixa obtida será inferior a 0,5 L.
Provas

Uma caixa retangular sem tampa será construída a partir da retirada de 4 quadrados de lado x cm de comprimento dos cantos de uma folha de papelão retangular de dimensões 30 cm × 20 cm, conforme mostra a figura I precedente. A figura II representa a caixa, após dobrarem-se as abas perpendicularmente à folha. O paralelepípedo reto (sem uma das faces) obtido tem altura de x cm.
A partir dessa situação, julgue o item a seguir.
O valor de x, para que a área total retirada dos cantos da folha seja igual à área que permanece na folha, é superior a 8.
Provas

Uma caixa retangular sem tampa será construída a partir da retirada de 4 quadrados de lado x cm de comprimento dos cantos de uma folha de papelão retangular de dimensões 30 cm × 20 cm, conforme mostra a figura I precedente. A figura II representa a caixa, após dobrarem-se as abas perpendicularmente à folha. O paralelepípedo reto (sem uma das faces) obtido tem altura de x cm.
A partir dessa situação, julgue o item a seguir.
A função d(x) que expressa o comprimento das diagonais da
caixa em termos da variável x é
, em que 0 < x < 10.
Provas

A figura precedente, no sistema cartesiano de coordenadas ortogonais xOy, representa a trajetória de um móvel em movimento circular uniforme no sentido anti-horário, com velocidade angular constante ω, em radiano por segundo. A posição da projeção, em metros, de um ponto dessa trajetória no eixo x chama-se elongação e descreve um movimento harmônico simples. A máxima elongação (chamada de amplitude) equivale ao raio do círculo do movimento circular. A equação que associa a elongação em função do tempo é expressa por E(t) = Acosφ(t) = Acos(φ₀ + ωt), em que φ₀ e A são, respectivamente, a fase e a amplitude da elongação.
Tendo como referência essas informações e considerando um móvel cuja equação da elongação seja E(t) = 6 cos
, julgue o item seguinte.
O máximo valor, em módulo, que a aceleração da elongação
atingirá será de ![]()
Provas

A figura precedente, no sistema cartesiano de coordenadas ortogonais xOy, representa a trajetória de um móvel em movimento circular uniforme no sentido anti-horário, com velocidade angular constante ω, em radiano por segundo. A posição da projeção, em metros, de um ponto dessa trajetória no eixo x chama-se elongação e descreve um movimento harmônico simples. A máxima elongação (chamada de amplitude) equivale ao raio do círculo do movimento circular. A equação que associa a elongação em função do tempo é expressa por E(t) = Acosφ(t) = Acos(φ₀ + ωt), em que φ₀ e A são, respectivamente, a fase e a amplitude da elongação.
Tendo como referência essas informações e considerando um móvel cuja equação da elongação seja E(t) = 6 cos
, julgue o item seguinte.
A amplitude da referida elongação é igual a 3 m.
Provas

A figura precedente, no sistema cartesiano de coordenadas ortogonais xOy, representa a trajetória de um móvel em movimento circular uniforme no sentido anti-horário, com velocidade angular constante ω, em radiano por segundo. A posição da projeção, em metros, de um ponto dessa trajetória no eixo x chama-se elongação e descreve um movimento harmônico simples. A máxima elongação (chamada de amplitude) equivale ao raio do círculo do movimento circular. A equação que associa a elongação em função do tempo é expressa por E(t) = Acosφ(t) = Acos(φ₀ + ωt), em que φ₀ e A são, respectivamente, a fase e a amplitude da elongação.
Tendo como referência essas informações e considerando um móvel cuja equação da elongação seja E(t) = 6 cos
, julgue o item seguinte.
A velocidade da elongação, em função do tempo, é expressa
por ![]()
Provas
A respeito de números reais e números complexos, julgue o item subsecutivo.
Se a, b e c forem números reais não negativos,
então ![]()
Provas
Caderno Container