Foram encontradas 60 questões.
Observe os esquemas abaixo de vários tipos de válvulas.
Indique, na sequência correta, os respectivos nomes dessas válvulas.

| Válvulas | ||||
| 1 | 2 | 3 | 4 | 5 |
Provas
Analise o texto abaixo.
A função dos queimadores de gases é fazer com que o ..I.. em contato o tempo e à temperatura suficientes para ocorrer a reação de combustão. Uma vez que a maioria das reações de combustão ocorre na fase ..II.. , o contato eficiente depende de ..III.. .
Para completá-lo corretamente, I, II e III devem ser preenchidas, respectivamente, por:
Provas
A densidade relativa é definida como a relação entre a massa de um certo volume de gás e a massa de igual volume de ar em condições padrão de temperatura e pressão (25 °C e 1 atm). Considerando a densidade relativa do ar 1,00, a densidade relativa do gás natural, fica entre
Provas
É chamada de limite de inflamabilidade ou explosividade a quantidade de gás combustível necessário para a queima. Esta varia para cada produto e é dimensionada através de duas constantes: o Limite Inferior de Inflamabilidade (LII) e o Limite Superior de Inflamabilidade (LSI). Limite Inferior de Inflamabilidade é a
Provas
A cadeia produtiva do gás natural pode ser apresentada em dois grandes blocos. Um deles congrega atividades relacionadas à obtenção do produto em si e um outro com atividades relacionadas à aplicação direta do produto, focalizando seus usos. As atividades relacionadas à obtenção do produto são:
I. Explotação
II. Exploração
III. Produção
IV. Processamento
V. Transporte e Armazenamento
VI. Distribuição
A sequência correta dessas atividades é:
Provas
Considere as vistas ortográficas:

A perspectiva que atende as vistas ortográficas apresentadas no desenho é:
Provas
É INCORRETO afirmar que o fator que potencializa a ação degradante da corrosão, é a
Provas
Analise o esquema abaixo.

Nos esforços atuantes no esquema apresentado,
Provas
Sobre as características das roscas NPT e BSP, utilizadas em tubulações de gás, é correto o que se afirma em:
Provas
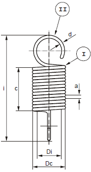
Considere o esquema abaixo.

O tipo de mola e os elementos I e II, respectivamente, são:
Provas
Caderno Container