Foram encontradas 60 questões.
Algumas alterações, que induzem à perda da estrutura
dentária, apresentam imagens radiolúcidas, pois deixam passar
mais facilmente os feixes de raios X.
As lesões não cariosas também representam a perda de estrutura dentária, mas por questões não relacionadas à cárie.
Dessa forma, assinale o item que exemplifica corretamente um exemplo de tal lesão.
As lesões não cariosas também representam a perda de estrutura dentária, mas por questões não relacionadas à cárie.
Dessa forma, assinale o item que exemplifica corretamente um exemplo de tal lesão.
Provas
Questão presente nas seguintes provas
No que se refere a radiologia odontológica e anatomia
radiográfica intrabucal, sinalize o item correto.
Provas
Questão presente nas seguintes provas
A técnica radiográfica oclusal é assim denominada devido
ao posicionamento do filme radiográfico/sensor paralelo às
superfícies oclusais dos dentes ou rebordo alveolar.
Dessa forma, assinale o item verdadeiro sobre a técnica supracitada.
Dessa forma, assinale o item verdadeiro sobre a técnica supracitada.
Provas
Questão presente nas seguintes provas
Os filmes radiográficos utilizados em odontologia possuem
emulsão dupla, para “acelerar” a sua sensibilização. Assim,
quando observamos uma imagem radiográfica, estamos na
verdade olhando para duas imagens idênticas sobrepostas,
tanto para as radiografias intraorais quanto para as extraorais.
Sobre fatores relativos a processamento radiológico e componentes que alteram contraste e densidade, identifique a alternativa verídica.
Sobre fatores relativos a processamento radiológico e componentes que alteram contraste e densidade, identifique a alternativa verídica.
Provas
Questão presente nas seguintes provas
- Protocolos de Exames de Medicina NuclearBases Físicas e Tecnológicas
- Protocolos de Exames de Medicina NuclearTécnicas Radiográficas em Tomografia Computadorizada
O ambiente onde é realizada a Ressonância Magnética (RM)
cria riscos potenciais não apenas para o paciente examinado,
mas também para os familiares que o acompanham e para os
profissionais de saúde.
Sobre considerações de segurança e a realização do exame supracitado, assinale o que for verídico.
Sobre considerações de segurança e a realização do exame supracitado, assinale o que for verídico.
Provas
Questão presente nas seguintes provas
A densitometria mineral óssea é um teste de triagem usado
no diagnóstico acurado e no seguimento de pacientes, após a
instituição de terapia para osteoporose ou osteopenia.
A absorciometria com raios X de dupla energia é tipicamente realizada sobre 2 partes específicas do corpo.
Conforme o enunciado, assinale o item que cita corretamente os respectivos locais anatômicos.
A absorciometria com raios X de dupla energia é tipicamente realizada sobre 2 partes específicas do corpo.
Conforme o enunciado, assinale o item que cita corretamente os respectivos locais anatômicos.
Provas
Questão presente nas seguintes provas
Sobre a composição do equipamento de densitometria
óssea, assinale o item correto.
Provas
Questão presente nas seguintes provas
Todas as mamas são compostas por gordura, tecido
fibroglandular e tecido conjuntivo (ligamentos suspensores da
mama).
No que se refere a mamografia, há sinais básicos de doenças de mama que podem ser observados no exame.
De acordo com o enunciado, sinalize a alternativa que contempla corretamente os sinais supracitados em questão.
No que se refere a mamografia, há sinais básicos de doenças de mama que podem ser observados no exame.
De acordo com o enunciado, sinalize a alternativa que contempla corretamente os sinais supracitados em questão.
Provas
Questão presente nas seguintes provas
O exame mais amplamente estudado e utilizado de imagem
da mama é a mamografia. Sobre tal exame, identifique o item
correto.
Provas
Questão presente nas seguintes provas
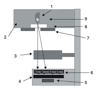
A mamografia é uma forma particular de radiografia que
trabalha com níveis de radiação entre intervalos específicos com
a finalidade de registrar imagens da mama para diagnosticar a
eventual presença de estruturas que indiquem uma doença,
com especial importância para o câncer.
O conhecimento sobre o mamógrafo é imprescindível para a realização de tal exame. De acordo com o assunto, analise a imagem abaixo e, posteriormente, assinale o item que consta o número correspondente a localização correta do chassi.
Fonte:CAMARGO, Renato; CAMPOS, Alessandra Pacini de. Ultrassonografia, Mamografia e Densitometria óssea. Rio de Janeiro: Érica, 2015. E-book. p.20.
O conhecimento sobre o mamógrafo é imprescindível para a realização de tal exame. De acordo com o assunto, analise a imagem abaixo e, posteriormente, assinale o item que consta o número correspondente a localização correta do chassi.
Fonte:CAMARGO, Renato; CAMPOS, Alessandra Pacini de. Ultrassonografia, Mamografia e Densitometria óssea. Rio de Janeiro: Érica, 2015. E-book. p.20.
Provas
Questão presente nas seguintes provas
Cadernos
Caderno Container