Foram encontradas 60 questões.

A partir da leitura do texto e da charge a seguir, analise as proposições que se colocam:
I. A charge corrobora o tema central do texto.
PORQUE
II. Mostra o incentivo à cultura ocorrendo na prática.

Fonte: https://br.pinterest.com/pin/411868328419265417/.
A respeito dessas preposições, assinale a alternativa correta.
Provas
- SintaxeTermos Integrantes da Oração
- MorfologiaAdjetivos
- MorfologiaSubstantivos
- SemânticaSinônimos e Antônimos
- Interpretação de Textos

Considerando a palavra “resiliência” (l. 35), analise as assertivas a seguir e assinale V, se verdadeiras, ou F, se falsas.
( ) O substantivo “resiliência” poderia ser substituído, sem prejuízo ao sentido do texto, por “suscetibilidade”.
( ) Caso a palavra se referisse a um objeto concreto, poder-se-ia tomar seu significado como “elástico”.
( ) O adjetivo formado a partir desse substantivo é invariável.
A ordem correta de preenchimento dos parênteses, de cima para baixo, é:
Provas
Provas
Provas
De acordo com a Lei nº 14.133/2021, analise as assertivas abaixo:
I. As contratações realizadas no âmbito das repartições públicas sediadas no exterior obedecerão às peculiaridades locais e aos princípios básicos estabelecidos nesta Lei, na forma de regulamentação específica a ser editada por ministro de Estado.
II. Esta Lei aplica-se somente à alienação e concessão de direito real de uso de bens; compra, inclusive por encomenda; locação; concessão e permissão de uso de bens públicos e prestação de serviços, inclusive os técnico-profissionais especializados.
III. Não se subordinam ao regime desta Lei contratos que tenham por objeto operação de crédito, interno ou externo, e gestão de dívida pública, incluídas as contratações de agente financeiro e a concessão de garantia relacionadas a esses contratos; e contratações sujeitas a normas previstas em legislação própria.
Quais estão corretas?
Provas
Provas
Em relação aos sistemas prediais de água fria e água quente, analise as assertivas abaixo, assinalando V, se verdadeiras, ou F, se falsas.
( ) A documentação do projeto dos sistemas prediais de água fria e água quente deve contemplar, dentre outros, a simultaneidade de uso e vazões de projeto dos pontos de utilização e especificação para operação e controle de componentes elétricos.
( ) Quando o abastecimento de água potável provier de rede pública de distribuição, as exigências da concessionária também devem ser obedecidas. Isto se aplica só quando do projeto e execução de um novo sistema predial de água fria e água quente.
( ) A vazão a considerar no abastecimento do reservatório deve ser suficiente para a reposição total do volume destinado ao consumo diário de água em até 3h. No caso de residências unifamiliares, o tempo de reposição deve ser de até 2h.
( ) A limitação da velocidade do escoamento não se aplica a trechos onde comprovadamente a tubulação não fique sujeita a golpes de aríete e seja dotada de meios adequados de isolação acústica ou esteja alojada em local que minimize ou impeça a transmissão de ruídos.
A ordem correta de preenchimento dos parênteses, de cima para baixo, é:
Provas
De acordo com o livro “Estruturas, uma Abordagem Arquitetônica” (1997), os elementos estruturais podem ser classificados em lineares, de superfície e de volume. Sobre o disposto, analise as assertivas abaixo:
I. Elementos linares são gerados por uma superfície plana na qual o baricentro percorre uma curva plana, ou reversa, cujo comprimento é consideravelmente maior que as dimensões da superfície. São exemplos a viga e o pilar.
II. Elementos de superfície caracterizam-se por duas dimensões consideravelmente maiores que a terceira. São exemplos a viga-parede e a casca.
III. Nos elementos de volume, as três dimensões são consideráveis e, em geral, as cargas são predominantemente compressivas. São exemplos os blocos de fundação.
Quais estão corretas?
Provas
Sobre a representação gráfica, analise as assertivas abaixo:
I. A linha contínua com zigue-zague estreita tem aplicação em limites de vistas ou cortes parciais interrompidos.
II. A linha tracejada estreita é aplicada em linhas de centro, linhas de simetria e trajetórias.
III. Traço longo e ponto estreita é uma linha aplicada em linhas de eixo.
Quais estão corretas?
Provas
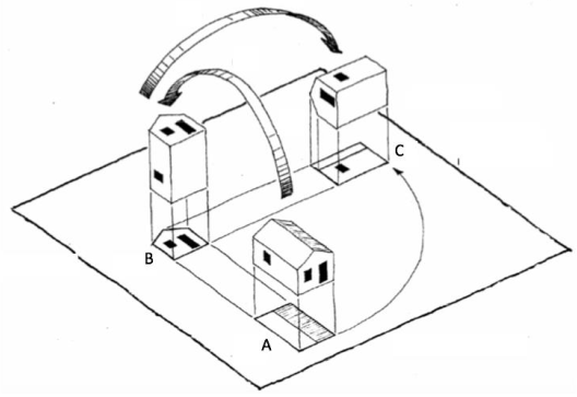
De acordo com Gildo Montenegro (1978), em “Desenho Arquitetônico”, as letras A, B e C da imagem abaixo apresentam, respectivamente, vistas do tipo:

Provas
Caderno Container