Foram encontradas 120 questões.
Acerca de arquiteturas de aplicações cliente-servidor e para
a Internet, julgue os próximos itens.
Para recuperar-se de falhas que afetam transações, um SGBD pode manter um log, de modo a controlar as operações da transação que afetem valores dos itens do banco de dados. Quando de uma falha, o SGBD deve buscar, no log, as transações T com registro [start_transaction,T], mas que não tenham o registro [commit,T]. Essas transações serão revertidas (rollback), de modo a possibilitar que seus efeitos sejam desfeitos no banco de dados.a Internet, julgue os próximos itens.
Provas
Questão presente nas seguintes provas
Com respeito a vulnerabilidades e ataques a sistemas
computacionais, julgue os itens que se seguem.
A técnica denominada SQL injection tem por objetivo o acesso a bancos de dados por meio de aplicações web. Ataques embasados nessa técnica podem ser evitados por checagem de dados de entrada no backend e frontend da aplicação.computacionais, julgue os itens que se seguem.
Provas
Questão presente nas seguintes provas
Acerca de arquiteturas de aplicações cliente-servidor e para
a Internet, julgue os próximos itens.
Gatilhos (triggers) podem ser usados para impor restrições de integridade semântica em um banco de dados relacional. Um gatilho pode especificar evento, condição e ação. A ação é executada se a condição for satisfeita quando ocorrer o evento. Se uma condição não for especificada, a ação será disparada pelo evento. Uma ação pode ser uma sucessão de declarações SQL.a Internet, julgue os próximos itens.
Provas
Questão presente nas seguintes provas
Acerca do modelo relacional e da normalização de dados, julgue os
itens a seguir.
A normalização é um processo no qual são analisados esquemas de relações, com base em dependências funcionais e chaves primárias, visando minimizar redundâncias e anomalias de inserção, exclusão e atualização. Na normalização, se ocorrer a decomposição de uma relação, cada dependência funcional existente antes da decomposição terá de ser representada em alguma relação existente depois da decomposição.itens a seguir.
Provas
Questão presente nas seguintes provas
Acerca do modelo relacional e da normalização de dados, julgue os
itens a seguir.
A partir das dependências funcionais apresentadas na tabela a seguir, é correto inferir que as relações estão na terceira forma normal, pois: as relações só contêm atributos atômicos; para as relações que possuem chaves primárias com vários atributos, nenhum atributo externo à chave é funcionalmente dependente de parte da chave primária; há dependência transitiva entre atributo não-chave e chave primária.itens a seguir.

Provas
Questão presente nas seguintes provas

O teste para a segunda forma normal envolve verificar se os atributos do lado esquerdo das dependências funcionais são parte da chave primária. Nas dependências funcionais apresentadas na tabela acima, as relações atendem aos requisitos da segunda forma normal.
Provas
Questão presente nas seguintes provas

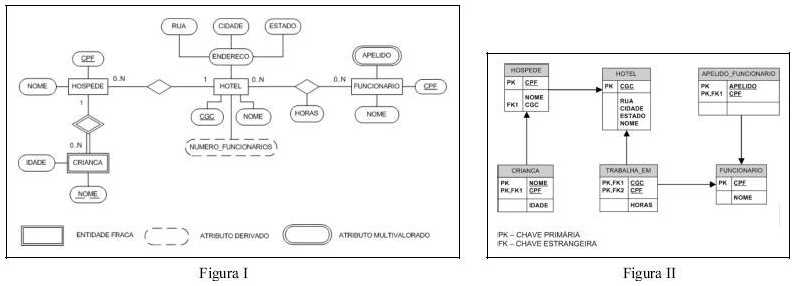
Considerando as figuras I e II acima, que apresentam, respectivamente, um modelo de entidades e relacionamentos e um esquema
resumido do banco de dados relacional, julgue os itens subseqüentes.
Provas
Questão presente nas seguintes provas

Considerando as figuras I e II acima, que apresentam, respectivamente, um modelo de entidades e relacionamentos e um esquema
resumido do banco de dados relacional, julgue os itens subseqüentes.
Provas
Questão presente nas seguintes provas

Considerando as figuras I e II acima, que apresentam, respectivamente, um modelo de entidades e relacionamentos e um esquema
resumido do banco de dados relacional, julgue os itens subseqüentes.
Provas
Questão presente nas seguintes provas
- Fundamentos de Sistemas OperacionaisKernelModos de Acesso (Kernel e Usuário)
- Gerenciamento de ProcessosThreadsConceito de Threads
- Gerenciamento de ProcessosThreadsMultithreading e Concorrência
Com relação a sistemas operacionais e sistemas distribuídos, julgue os
seguintes itens.
Há sistemas nos quais threads podem ser suportados no nível de usuário e no nível de sistema operacional. Se os threads no nível de usuário são mapeados para os threads no nível de sistema operacional, para se obter maior concorrência na execução dos threads no nível de usuário, em vez de mapear só um thread no nível de usuário para cada thread no nível de sistema operacional, tipicamente deve-se mapear mais de um no nível de usuário para cada um no nível de sistema operacional.seguintes itens.
Provas
Questão presente nas seguintes provas
Cadernos
Caderno Container