Foram encontradas 619 questões.
- Mecânica dos SólidosModelagem Estática e Dinâmica
- Mecânica dos SólidosElasticidade Linear, Plasticidade, Fratura, Fadiga e Flambagem

Considerando o mecanismo de quatro barras — L1, L2, L3 e L4 —, representado na figura acima, para que ocorra uma rotação completa, é necessário que
Provas
Questão presente nas seguintes provas
A manutenção cujo foco é a relação entre a manutenção e
a operação e que visa à melhoria da disponibilidade do
equipamento e de sua confiabilidade fundamenta-se em oito pilares:
manutenção autônoma, manutenção planejada, melhorias
específicas, educação e treinamento, manutenção da qualidade,
controle inicial, manutenção no administrativo e segurança, saúde
e meio ambiente.
Assinale a opção que corresponde à manutenção relativa à
descrição apresentada acima.
Provas
Questão presente nas seguintes provas
A árvore de manivelas de um motor ciclo diesel
estacionário é monitorada sistematicamente durante seu
funcionamento por um analisador de vibração que permite plotar
os tempos de funcionamento e os intervalos de tempo de
manutenção, sendo estabelecido, dessa forma, o tempo necessário
de planejamento para a intervenção e a correção do problema.
Na situação hipotética descrita, apresenta-se característica da
manutenção
Provas
Questão presente nas seguintes provas

Considerando a curva da falha funcional representada no gráfico acima, assinale a opção correta.
Provas
Questão presente nas seguintes provas

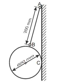
Um fio de 200 mm de comprimento sustenta um anel fino de 1.000 N de peso e 600 mm de diâmetro contra uma parede, conforme mostrado na figura acima. Para essa condição, a força de tração no fio e a reação da parede em C são iguais, respectivamente, a
Provas
Questão presente nas seguintes provas

Considerando a figura acima, que apresenta placa de identificação que contém as informações que determinam as características nominais e de desempenho dos motores, assinale a opção correta, conforme o disposto na NBR 7094.
Provas
Questão presente nas seguintes provas
A análise qualitativa ou quantitativa do sistema, realizada de forma
detalhada e com foco nos componentes, mediante a qual se podem
analisar as causas de falhas de um equipamento ou sistema e os
efeitos que consequentemente poderão advir para o sistema, para o
meio ambiente e para o próprio componente, refere-se à
Provas
Questão presente nas seguintes provas

Com base na figura acima, que representa os processos termodinâmicos principais de um compressor alternativo de dois estágios, assinale a opção correta.
Provas
Questão presente nas seguintes provas
Assinale a opção que apresenta o efeito físico utilizado para realizar
a medição de forças dinâmicas que variam rapidamente no tempo.
Provas
Questão presente nas seguintes provas
Na troca de calor entre uma superfície e um líquido, a quantidade
adimensional mais conveniente e direta para a estimativa do
coeficiente de transmissão de calor é o número de
Provas
Questão presente nas seguintes provas
Cadernos
Caderno Container