Foram encontradas 70 questões.
A barra rígida OB de um mecanismo é uma barra conduzida (não motriz).
A aceleração de seu centro de massa G, sua velocidade angular e sua aceleração angular são indicadas na Figura abaixo.

O equilíbrio dinâmico da barra é obtido de modo que o(a)
Provas
Provas
Um gás ideal é aquecido de 127°C a 727°C, sendo que seu calor específico a pressão constante, em base molar, é regido pela equação abaixo:
![]()
Sendo α = 3,5, β = -1,5 × 10-3 e
≅ 8 kJ/kmol.K, a variação de entalpia, em kJ/kg, para um gás de massa molecular
igual a 30 kg/kmol é
Provas
A qualidade do combustível é importante para uma queima eficiente. Para o diesel, é avaliada pelo número de cetano, NC, e para a gasolina, pelo índice de octano, IO.
O combustível de melhor qualidade tem que apresentar, no caso do diesel e no caso da gasolina, respectivamente,
Provas
Provas
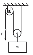
Uma carga de massa m = 200 kg é içada por meio de um sistema de roldanas, conforme mostrado na Figura abaixo.

Sabendo-se que a força F aplicada ao cabo vale 1,5 kN, e considerando-se g = 10m/s2 , a aceleração da carga, em m/s2 , será de
Provas
Provas
Dois cilindros concêntricos verticais possuem diâmetros de 2,0 cm e 2,4 cm. O cilindro interno possui 50 cm de comprimento e pode deslizar com velocidade constante de 2 m/s dentro do cilindro externo que está imóvel e possui comprimento considerado infinito. Um fluido Newtoniano com viscosidade dinâmica de 0,5 N.s/m2 preenche completamente o espaço anular entre os cilindros.
Admitindo-se a gravidade como 10 m/s2 e o perfil de velocidade no filme de óleo como linear, constata-se que a massa do tubo que desliza, em kg, é
Provas
Provas
Provas
Caderno Container