Foram encontradas 943 questões.
Atenção: Considere o esquema abaixo para responder às questões de números 58 a 60. O esquema unifilar contém um erro em um dos eletrodutos identificados por X, Y, Z e W.

Fazem parte dessa instalação:
Provas
Um sistema de aquecimento por resistência elétrica possui a especificação: 220 V / 25 kW. O seu consumo de corrente é de, aproximadamente,
Provas
Os sistemas eletrônicos de controle de temperatura usam normalmente como sensor um
Provas
NÃO corresponde a um dispositivo de sistema de aterramento para entrada de serviço
Provas
Uma máquina possui um motor elétrico com um sistema de transmissão por correia. O diâmetro da polia motora, que é conectada ao rotor, é de 200 mm, enquanto o diâmetro da polia movida é de 50 mm. Sendo a velocidade do rotor de 1200 RPM, a velocidade da polia movida vale
Provas
Atenção: As figuras I e II abaixo referem-se às questões de números 52 e 53 e representam, respectivamente, os circuitos de comando e de potência de um motor.
I Circuito de Comando

II Circuito de Potência

Trata-se de um sistema de partida
Provas
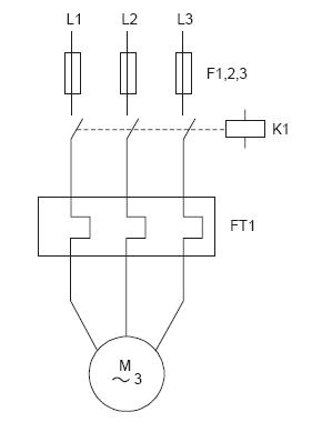
Atenção: As figuras I e II abaixo referem-se às questões de números 52 e 53 e representam, respectivamente, os circuitos de comando e de potência de um motor.
I Circuito de Comando

II Circuito de Potência

Identifique os dispositivos K1 e FT1:
K1 FT1
Provas
Com uma escala apenas em milímetro, mediu-se o diâmetro de um eletroduto, resultando em, aproximadamente, 19 mm. Nesse caso, o eletroduto tem diâmetro norminal de
Provas
O esquema abaixo representa a conexão de um motor monofásico com dois terminais de acesso à rede elétrica com uma chave de acionamento. Como o motor não está funcionando quando a chave é acionada, ele foi desconectado da rede e alguns testes foram realizados por um multímetro digital na escala de 2 k XXX

O provável problema da instalação é
Provas
Determinados equipamentos de aquecimento que utilizam resistência elétrica usam como isolador elétrico um tipo de material que possui baixa resistência térmica, como
Provas
Caderno Container