Magna Concursos

Foram encontradas 444 questões.

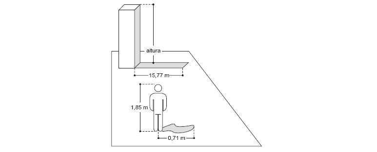
1759218 Ano: 2007
Disciplina: Engenharia Civil
Banca: FCC
Orgão: TRF-3

Considere o desenho abaixo.

Enunciado 1759218-1

Para instalar andaimes fachadeiros que serão utilizados na aplicação de chapisco e emboço optou-se por calcular a altura do edifício, acrescida de 85%, em função da altura do observador, de sua sombra e da sombra do edifício. Feitos os cálculos, o valor do comprimento de um dos cabos será

 

Provas

Questão presente nas seguintes provas
1759217 Ano: 2007
Disciplina: Engenharia Civil
Banca: FCC
Orgão: TRF-3

O desenho abaixo representa um levantamento topográfico.

Enunciado 1759217-1

O valor de BC, arredondado, sem casas decimais, é

 

Provas

Questão presente nas seguintes provas
1759216 Ano: 2007
Disciplina: Engenharia Civil
Banca: FCC
Orgão: TRF-3

Na execução de um edifício comercial de três pavimentos, com área de laje de 70 m2, totalizando 210 m2, o projeto especifica para a melhoria do isolamento térmico da cobertura e permitir que várias tubulações sejam escondidas e protegidas, facilitando futuras manutenções, que a laje de cobertura seja feita com vigas invertidas e caixão perdido. Para a construção da laje de cobertura, o caixão perdido será impermeabilizado com manta asfáltica, posteriormente preenchido com algum material leve e de fácil aplicação e, sobre ele, um contrapiso de proteção. O piso resultante ficará exposto às intempéries e servirá de passeio para um médio tráfego, pois a cobertura será a área de lazer do edifício comercial. Serão protegidos os tubos de água, esgoto, rede pluvial, drenagem, gás (em menor quantidade), eletricidade e comunicação (rede e telefonia). Os tubos têm diâmetros variando de 15 mm a 200 mm, assim, o caixão perdido deverá ser feito de material estável de até 250 mm.

De acordo com as características da obra, presentes e futuras, o tipo de material de preenchimento a ser utilizado no caixão perdido é

 

Provas

Questão presente nas seguintes provas
1759193 Ano: 2007
Disciplina: Engenharia Civil
Banca: FCC
Orgão: TRF-3

Considere os seguintes materiais:

I. isopor colado sobre a parede.

II. cortiça colada sobre a parede.

III. argamassa aplicada sobre chapisco.

IV. gesso aplicado diretamente sobre os blocos.

V. compensados de madeira colados sobre a parede.

VI. porcelanato aplicado com argamassa colante.

Considerando os materiais apresentados, no revestimento das paredes para isolamento térmico da cozinha de 80 m2 e o isolamento acústico do restaurante, com área de 200 m2, respectivamente, dentro de um prédio de escritórios, respeitadas as exigências de saúde e segurança, bem como a otimização de custos e a produtividade, é viável tecnicamente a utilização de

 

Provas

Questão presente nas seguintes provas
1759192 Ano: 2007
Disciplina: Engenharia Civil
Banca: FCC
Orgão: TRF-3

Durante os trabalhos de execução das vigas baldrame de uma edificação térrea de 100 m2, em alvenaria estrutural de bloco cerâmico vazado, um mestre-de-obras consultou o engenheiro sobre o tipo de impermeabilização a ser aplicado às vigas, antes da elevação da alvenaria. O mestre-de-obras apresentou as sugestões constantes na tabela abaixo, cada uma com um prazo possível de realização.

Enunciado 1759192-1

Considerando o tempo da obra, a qualidade da impermeabilização e o mínimo de manutenção futura, o engenheiro deverá optar pelo uso de

 

Provas

Questão presente nas seguintes provas
1759191 Ano: 2007
Disciplina: Engenharia Civil
Banca: FCC
Orgão: TRF-3

Durante a concretagem de uma estrutura de um muro de gravidade, de dimensões 12,0 m de comprimento, largura na base de 3,0 m e 1,5 m no topo, e altura de 5,0 m, foram necessárias providências com relação à cura do concreto. A obra ocorre em local frio (temperatura em torno de 5 °C sem chuva, garoa e vento). O muro será construído utilizando-se fôrmas de madeira compensada, devidamente escoradas por elementos de madeira e, quando necessário, tirantes de aço. O concreto apresenta traço 1:2:3 e fck mínimo de 250 MPa, com consumo mínimo de 400 kg de cimento por m3.

Nesse caso, em relação à cura do concreto, é correto afirmar:

 

Provas

Questão presente nas seguintes provas
1759190 Ano: 2007
Disciplina: Engenharia Civil
Banca: FCC
Orgão: TRF-3

Considere os desenhos abaixo referentes a um edifício com estrutura de concreto armado.

Enunciado 1759190-1

Na construção foram utilizados escoramentos de aço, reguláveis e reaproveitáveis, mostrados em linhas pretas espessas nos desenhos. O edifício está em sua quarta laje e contará com um total de dez lajes, além da cobertura, caixa d'água e barrilete. Os vãos entre os pilares são de 6,0 m. Não estão mostrados no desenho os pilares internos à obra por motivos de simplificação. O edifício contará com fosso de elevadores e escada de incêndio. A última laje dessa fase acabou de ser concretada.

De acordo com as normas de construção vigentes no país em relação às corretas técnicas de escoramento, está correto APENAS o escoramento representado

 

Provas

Questão presente nas seguintes provas
1759189 Ano: 2007
Disciplina: Engenharia Civil
Banca: FCC
Orgão: TRF-3

Considere a foto e o detalhe abaixo.

Enunciado 1759189-1

A foto mostra uma obra ainda em fase de elevação de alvenaria e finalização da estrutura. No detalhe da foto, aparece a parte superior do edifício. Trata-se de um edifício de apartamentos construído em estrutura de concreto armado e alvenaria comum de blocos cerâmicos vazados não-estruturais. A inclinação do edifício é apenas aparente, pois a foto foi tirada em ângulo desfavorável. De acordo com a foto, em relação à segurança do trabalho, é correto afirmar que

 

Provas

Questão presente nas seguintes provas
1759188 Ano: 2007
Disciplina: Engenharia Civil
Banca: FCC
Orgão: TRF-3

Durante a concretagem de uma estrutura serão utilizados 5 caminhões de 7 m3 de concreto usinado, com alto consumo de cimento (acima de 450 kg/m3). A obra está em uma área urbana, sujeita a ação de intempéries diretas, em local de clima quente e seco (acima de 28 °C e umidade relativa abaixo de 60%, com ventos constantes). O concreto utilizado para execução de uma laje de 12 cm de espessura, sem emendas ou juntas, com índice de slump-test solicitado situa-se na marca de (5 ± 2) cm.

Na chegada do último caminhão, um atraso ocorrido durante os trabalhos de lançamento do material gerou uma espera de 130 minutos, fazendo com que o concreto no interior do balão apresentasse sinais do processo de início de pega. Não foram utilizados aditivos na mistura de concreto e agregados.

Foram sugeridas três ações possíveis de solução:

I. Para evitar o retorno do concreto e, conseqüentemente, prejuízo à concreteira, adicionar uma pequena quantidade de sal (cerca de 1,0 kg) ao conteúdo do caminhão, evitando que o concreto seja desperdiçado.

II. Adicionar mais alguns litros d'água ao volume de concreto, cerca de 20 L/m3, fluidificando a massa com um novo ciclo de giros rápidos do balão do caminhão, agitando novamente o ligante com os agregados, permitindo mais alguns minutos de uso sem perda da qualidade.

III. Adicionar grande quantidade de açúcar, cerca de 1,0 kg/m3, ao concreto, evitando que o mesmo endureça dentro do balão do caminhão, e solicitar outro caminhão de concreto, mesmo com prejuízo ao caixa da obra.

Está correto o que se afirma APENAS em

 

Provas

Questão presente nas seguintes provas
1759187 Ano: 2007
Disciplina: Engenharia Civil
Banca: FCC
Orgão: TRF-3

Uma edificação térrea, construída, há cinco anos, com alvenaria comum de blocos cerâmicos vazados, possui boa fundação, estrutura adequada de concreto armado, laje de cobertura impermeabilizada, telhado de madeira com telhas de barro, revestimento de argamassa industrializada por dentro e por fora, massa fina e pintura em base acrílica. As portas e janelas são fabricadas em aço, por empresas que seguem as normas NBR. A argamassa para assentamento dos blocos também é industrializada. As paredes possuem pé-direito de 3,00 m e estão apoiadas em estruturas de concreto. Mas, a edificação apresentou rachaduras nos cantos de todas as janelas, em ângulos variados.

É correto afirmar que as rachaduras

 

Provas

Questão presente nas seguintes provas