Foram encontradas 20 questões.
A moto de um entregador possui 102 kg e, ao passar por um quebra molas, ela oscila em MHS. O entregador possui 40 kg e, ao subir na moto seu centro de gravidade, abaixa 2,0 cm. Fazendo uma modelagem simplificada do sistema de amortecimento da moto como sistema massa-mola corpo, onde a constante de elasticidade é k = 3,0 x 104 podemos dizer que o período e a frequência de oscilação da moto são aproximadamente:
Obs: Considere a aceleração da gravidade como sendo 10 ,0 m/s2
Provas
Um estudante constrói uma bobina contendo várias voltas de fio de cobre. Ele prende a bobina a uma espiral de caderno, formando um sistema massa mola na vertical, na base do sistema ele fixa um ímã cilíndrico e aos terminais da bobina liga uma pequena lâmpada de filamento. Quando o sistema é posto a oscilar, de forma que o ímã entra e sai do interior da bobina, a lâmpada acende com intensidade variável. Esse fenômeno é explicado por qual alternativa abaixo?

Provas
Um trabalhador transporta dois sacos de cimento, cada um com massa igual a 60,0 kg, do térreo até o segundo piso de uma obra por meio de uma rampa, conforme o desenho abaixo. Para o transporte, utiliza um carrinho de peso desprezível e muito bem lubrificado, de forma que se pode desprezar o atrito. O segundo piso está a 6 m em relação ao térreo e a aceleração da gravidade no local é igual a 10 ,0 m/s2. Nessas condições, podemos afirmar que o trabalho realizado pela força peso é igual a:

Provas
Um convidado de uma festinha de aniversário brinca com seu copo de refrigerante: ele preenche o canudo com o refrigerante e depois tampa com o dedo a extremidade superior do canudo. Observa, então, que o fluido não escoa nessa situação, mas quando ele tira o dedo da extremidade do canudo, o líquido escoa. Qual das afirmativas abaixo melhor explica o porquê desse comportamento do refrigerante?
Provas
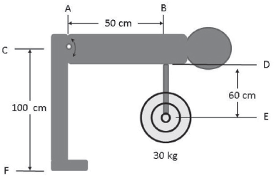
Em alguns exercícios de musculação, como no “Stiff” e na Remada, o movimento inicia com a pessoa em pé com as pernas paralelas e o tronco flexionado com os braços estendidos segurando a barra de alteres.Emprimeira aproximação, podemos considerar que as pernas e o tronco são barras fixas, podendo girar em torno de um ponto (pivô), como representado no desenho da figura abaixo pelo ponto vermelho. Para uma pessoa nessa posição, suportando estaticamente um alteres de massa 30 kg, qual seria o torque ou momento da força peso,emrelação à coluna lombar (pivô) provocado pelos alteres?
Obs: Considere a aceleração da gravidade como sendo 10 ,0 m/s2

Provas
Na figura abaixo, estão representados os gráficos da velocidade e da aceleração em função do tempo de um objeto que executa um movimento harmônico simples em condições ideais não dissipativas.As linhas verticais marcam os momentos em que o objeto está na posição de amplitude máxima positiva. Podemos afirmar que, nesses pontos, o objeto possui:

Provas
O multímetro é um instrumento utilizado para medir grandezas elétricas como: resistência, corrente, tensão (voltagem), capacitância, etc. Ao utilizar um multímetro para medição da diferença de potencial sobre um componente ligado a um circuito elétrico, é CORRETO afirmar que:
Provas
Um professor de física atrita um canudo de plástico em sua camisa e depois o encosta em uma parede onde ele fica grudado. Após algum tempo o canudo cai. Qual das afirmativas abaixo explica esse fenômeno?
Provas
Em algumas situações, para unir duas placas metálicas, são utilizados rebites, uma peça cilíndrica que é inserida em um orifício que perpassa as duas placas. É aconselhável que o diâmetro do furo seja um pouco menor que o do rebite, para que esse fique sempre ajustado ao orifício que une as duas peças quando ocorrer uma variação de temperatura. Qual das afirmações abaixo seria a mais CORRETA?
Provas
Em um experimento no laboratório, um estudante mede o intervalo de tempo e a distância percorrida por uma bolinha e anota os valores obtidos em uma tabela, apresentados abaixo.
|
medida |
Tempo, t (s) |
Distância percorrida, x (m) |
| 1 | 0,0000 |
0.002 |
| 2 | 0,0675 |
0,022 |
| 3 | 0,1350 |
0,087 |
| 4 | 0,2025 |
0,197 |
| 5 | 0,2700 |
0,351 |
| 6 | 0,3375 |
0,550 |
| 7 | 0,4050 |
0,789 |
| 8 | 0,4725 |
1,07 |
A partir dos dados apresentados, pode-se afirmar que:
Provas
Caderno Container