Foram encontradas 1.980 questões.
A ABNT determina a forma e as dimensões das pranchas de desenho de arquitetura, sendo necessário o dobramento de folhas das cópias de qualquer formato original, tendo como formato final sempre o A4.
Provas
Em um projeto de instalações hidrosanitárias, com reservatórios inferior e superior, a estrutura denominada de tubulação de recalque é aquela pela qual passa a água bombeada até o barrilete do reservatório superior.
Provas
Considere o diagrama de Givoni e a eficiência das estratégias:


O diagrama de Givoni é considerado um dos melhores instrumentos de avaliação das estratégias mais adequadas de projeto arquitetônico relativas às ofertas higrotérmicas, em nível de auxílio à decisão arquitetônica, segundo a maioria dos especialistas em conforto ambiental e arquitetura bioclimática.
Provas
Considere o diagrama de Givoni e a eficiência das estratégias:


O diagrama bioclimático de Givoni, exemplificado, desenvolvido por Baruch Givoni na década de 60 e readaptado às condições de uso atuais, foi, recentemente, objeto da criação de um software chamado Analysis Bio.
Provas
Segundo a NBR 6942/94, que trata da Representação de projetos de arquitetura, a planta de situação compreende o partido arquitetônico como um todo, em seus múltiplos aspectos, e pode conter informações específicas em função do tipo e porte do programa, assim como para a finalidade a que se destina. Além disso, em nota, complementa que, para aprovação em órgãos oficiais, essa planta deve conter informações completas sobre a localização do terreno.
Provas
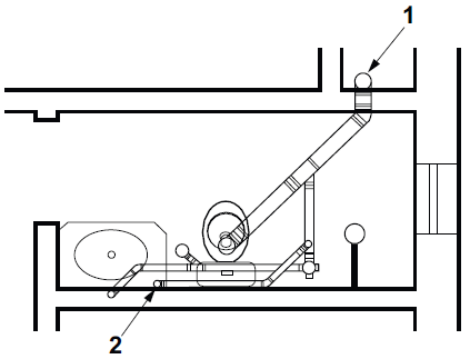
Considere a figura que mostra as instalações prediais de esgoto de um dos sanitários de um edifício.

Os números 1 e 2 representam, respectivamente, um tubo de queda de esgoto que conduz verticalmente os dejetos para a rede de esgoto primário e uma tubulação de ventilação disposta para evitar o retorno de odores dos gases provenientes da tubulação do sistema de esgoto secundário.
Provas
Uma estrutura é considerada hiperestática ou estaticamente indeterminada quando está em equilíbrio, mas as equações da estática resultam insuficientes para determinar todas as forças internas ou as reações; Assim, uma estrutura em equilíbrio estável que não é hiperestática é isoestática.
Provas
Considerando-se as diversas partes que compõem uma tesoura de telhado do tipo simples com asna, o frechal pode ser definido como a peça que se situa entre a parede e a tesoura e tem como função distribuir as cargas do telhado que estão dentro da área de influência da tesoura sobre a parede, enquanto o contrafrechal é a estrutura colocada imediatamente abaixo do frechal com a intenção de reforçar a resistência às cargas submetidas à parede.
Provas
Segundo a NBR 13532, de 1995, que trata da Elaboração de projetos de edificações – Arquitetura, são consideradas etapas de execução da atividade técnica do projeto de arquitetura, na sequência recomendada (incluídas as siglas), as seguintes:
a) levantamento de dados para arquitetura (LV-ARQ);
b) programa de necessidades de arquitetura (PN-ARQ);
c) estudo preliminar de arquitetura (EP-ARQ);
d) anteprojeto de arquitetura (AP-ARQ) ou de préexecução (PR-ARQ);
e) projeto legal de arquitetura (PL-ARQ);
f) memorial descritivo de arquitetura (MD-ARQ);
g) especificações de materiais (ESP-ARQ);
h) projeto básico de arquitetura (PB-ARQ) (opcional);
i) projeto para execução de arquitetura (PE-ARQ) (com detalhamento);
j) quantitativo para a realização de orçamento (QUANT-ARQ) (opcional);
k) orçamento da execução da obra (ORC-ARQ) (opcional);
l) assistência ou acompanhamento da execução (EXEC-ARQ) (opcional).
Provas
O conceito de “desenho universal”, derivado da expressão “desenho livre de barreiras”, foi adotado, inicialmente, nos Estados Unidos, para designar a sua utilização eficiente por qualquer pessoa e por ser fundamental para tornar possível a todos, mesmo àqueles com limitações físicas e mentais, atividades essenciais à vida cotidiana, o que, na verdade, é uma consolidação dos pressupostos dos direitos humanos. A norma que determina os parâmetros técnicos para ambientes acessíveis, no Brasil, é a NBR 9050 da Associação Brasileira de Normas Técnicas (ABNT), cujo título é “Acessibilidade a edificações, mobiliário, espaços e equipamentos urbanos”.
Provas
Caderno Container