Foram encontradas 60 questões.
São características das fibras ópticas:
I. Baixo peso, dimensões reduzidas e não são suscetíveis as interferências eletromagnéticas.
II. Facilidade de fazer conexões entre as fibras ópticas.
III. Elevada capacidade de transmissão de dados.
IV. Não permite grandes espaçamentos entre repetidores, com distância entre repetidores inferiores a algumas centenas de metros.
V. As fibras ópticas são produzidas exclusivamente de vidro.
II. Facilidade de fazer conexões entre as fibras ópticas.
III. Elevada capacidade de transmissão de dados.
IV. Não permite grandes espaçamentos entre repetidores, com distância entre repetidores inferiores a algumas centenas de metros.
V. As fibras ópticas são produzidas exclusivamente de vidro.
Assinale a opção em que TODAS as afirmações estão INCORRETAS.
Provas
Questão presente nas seguintes provas
De acordo com a NBR 5410, as dimensões internas dos eletrodutos e de suas conexões devem permitir que, após montagem da linha, os condutores possam ser instalados e retirados com facilidade, exceto quando não for possível evitar a passagem da linha por locais que impeçam a colocação de caixa intermediária. Com base nessa informação, marque a opção CORRETA.
Provas
Questão presente nas seguintes provas
Assinale a opção que contém a explicação CORRETA, entre parênteses, para o uso da expressão grifada:
Provas
Questão presente nas seguintes provas
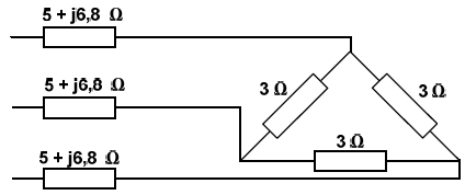
O circuito trifásico equilibrado, representado na figura abaixo, é alimentado por uma fonte trifásica senoidal equilibrada, com tensões fase-fase de 110 Vrms.

O circuito monofásico equivalente ao do sistema trifásico representado acima é:

Onde Vi e Z são:
Provas
Questão presente nas seguintes provas
Leia o texto a seguir e responda à questão:
Todo jornalismo é político, no sentido amplo da palavra. Se política é a ciência dos fenômenos relacionados com o Estado, e se o Estado é a nação politicamente organizada, quando um repórter escreve sobre qualquer fato ocorrido no país, mesmo sobre um assassinato no morro da Mangueira, está fazendo jornalismo político. Ainda que passional, um assassinato sempre envolverá relações entre indivíduos e autoridade. Vale a imagem para o esporte, pois ao reportar um jogo do Flamengo com o Vasco o jornalista estará, antes de mais nada, referindo-se a uma prática regulada em leis, portarias e sucedâneos, bem como a algo que apaixona a população inteira.
Convencionou-se, no entanto, que jornalismo político deve referir-se apenas à atividade dos poderes constituídos, dos partidos, das associações influentes no meio social, dos governos, oposições e instituições jurídicas afins. E até dos militares, hoje em dia. Dentro desse jornalismo político restrito atua-se sob diversas formas. Fazem-se entrevistas. Reportagens. Descrevem-se reuniões, sejam as formais, como do Congresso, sejam as informais, tipo comícios e passeatas. Há a cobertura de fatos específicos, como eleições, composição de governos, viagens de políticos, crises e até golpes e revoluções. Segue-se, também, o desenvolvimento de determinadas ideias, ou propostas, como a das eleições diretas ou a da convocação de uma assembleia nacional constituinte.
(CHAGAS, Carlos. Arte e artes da crônica política. Revista de Comunicação nº 1, p. 12. Grifos nossos)
O texto de Carlos Chagas evidencia a progressão que se faz por meio de sucessivos encadeamentos, assinalados por uma série de elementos linguísticos através dos quais se estabelecem, entre os enunciados que compõem o texto, determinados tipos de relação. Assinale a alternativa em que se encontram o elemento e a relação estabelecida CORRETAMENTE:
Provas
Questão presente nas seguintes provas
Motor de 30 cv, trifásico, de 220 Volts entre fases, com um fator de potência de 95% e rendimento de 75%. Qual a corrente aproximadamente?
Provas
Questão presente nas seguintes provas
A Constituição Federal de 1988 proíbe, como regra, a acumulação de cargos públicos. Todavia, existem exceções. Sobre esse ponto, assinale a alternativa CORRETA:
Provas
Questão presente nas seguintes provas
A norma NBR 5410 define que nas linhas aéreas externas podem ser utilizados condutores nus. Esses condutores devem ser instalados de forma que seu ponto mais baixo respeite as alturas mínimas em relação ao solo.
Marque a opção CORRETA:
Provas
Questão presente nas seguintes provas
O número de elementos do conjunto !$ \left \{ 1,2,3,...,300 \right \} \quad !$ que são divisíveis por 2 ou por 3, mas não são divisíveis por 5, é igual a:
Provas
Questão presente nas seguintes provas
A curva de demanda diária de uma instalação elétrica, com carga instalada de 600 kW, é indicada na figura abaixo.

O fator de demanda (fd) e o fator de carga (fc) dessa instalação são, respectivamente,
Provas
Questão presente nas seguintes provas
Cadernos
Caderno Container