Foram encontradas 50 questões.
Considerando os tipos de argamassas abaixo, assinale a alternativa em que consta somente tipo(s) de argamassa(s) empregado(s) na execução de reboco:
I. Argamassa tradicional virada em obra com areia fina.
II. Argamassa industrializada.
III. Argamassa colante.
IV. Argamassa tradicional virada em obra com areia grossa.
Provas
A(s) fase(s) para a construção de uma estrutura de concreto armado de uma edificação impõe(m) uma Resistência Característica do Concreto à Compressão (fck), sendo assim:
Provas
De acordo com a Figura 1 abaixo, temos as seguintes afirmativas:
I. A planta baixa da Figura 1 é um dos elementos que compõem o projeto arquitetônico. II. Pode-se presumir que existem três cortes nessa planta. III. Existe uma janela acima de cada porta dos banheiros. IV. Os banheiros não atendem pessoas com necessidades especiais.

Considerando as afirmativas, assinale a alternativa correta:
Provas
O formato da folha recortada da série “A” é considerado principal.
Das dimensões em mm relacionadas abaixo, qual não faz parte da serie “A”:
Provas
João Augusto, técnico em edificações da UFGD, foi ao campus da Unidade II realizar um levantamento da Incubadora de Empresas conforme o projeto abaixo.

Com uma régua, João realizou a medida do projeto impresso. Qual a medida em centímetros da maior dimensão cotada no projeto, sabendo que a escala do projeto é de 1:50?
Provas
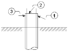
Observe a figura abaixo e identifique qual(is) a(s) melhor(es) posição(ões) para o arrasamento de uma estaca de concreto:

Provas
Atualmente, existem vários tipos de cimento para contornar situações de agressividade do meio, por razões de economia na utilização de uso de produtos aditivos, resistência, deformabilidade, formação de fissuras, entre outras razões. Com as adições de subtâncias, é possível a fabricação de vários tipos de cimento portland. Leia atentamente as afirmativas a seguir
I. Cimentos portland sigla E – contém adição de escória de alto forno.
II. Cimentos portland sigla Z – contém adição de material pozolânico.
III. Cimentos portland sigla F – contém adição de material com filer (enchimento) carbonáceo.
Assinale a alternativa correta
Provas
Considerando as figuras 1 e 2, identifique os elementos assinalados, respectivamente:

Provas
A NBR 13207/1994 “Gesso para Construção Civil – Especificação” relata quatro classificações de gesso. Assinale a alternativa que não corresponde a uma classificação do gesso para construção civil especificada na norma:
Provas
Para iniciar uma obra, é necessário estabelecer critérios para o planejamento da obra levando em consideração, imprevistos que podem acarretar atrasos no cronograma físico-financeiro da obra. A fim de evitar possíveis problemas de atrasos na obra e consequentemente prejuízos financeiros bem como garantir o seu cronograma, relacione o quadro de ações ao de consequências e marque a alternativa que corresponde a sequência correta.
Ações
1 Variação da capacidade produtiva
2 Falta de conhecimento das ferramentas de planejamento
3 Planejamento sem índices de produtividade
4 Estabelecimento de metas de produção fora da realidade
Consequências:
( ) Engenheiro de planejamento não trabalha com índices de produtividade determinados, de forma que pode subestimar ou superestimar a capacidade da mão de obra.
( ) O principal recurso utilizado é a mão de obra e sua produtividade apresenta alta variabilidade, além de problemas de saúde e/ou imprevistos.
( ) Dificuldade em estabelecer metas realistas, pois não se conhece a capacidade real dos funcionários.
( ) Engenheiro que toma a decisão rápida, tendo em base apenas suas experiências e intuições, sem desenvolver um planejamento adequado.
Provas
Caderno Container