Foram encontradas 45 questões.
- EletrônicaComponentes Eletrônicos em Eletroeletrônica
- EletrônicaEquipamentos Elétricos em Eletroeletrônica
Aplicou-se uma onda triangular de corrente em um indutor ideal de valor desconhecido e obteve-se uma tensão quadrada conforme mostrado na figura abaixo:

Fonte: Gerada em simulador próprio.
O valor CORRETO desse indutor é igual a:
Provas
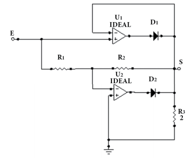
No circuito abaixo, U1 e U2 são amplificadores operacionais ideais, D1 e D2 diodos de silício e R1 = R2 .

A alternativa que mostra a característica de transferência CORRETA do circuito é:
Provas
Um motor de passo deve ser acionado com o controlador, gerando a tabela de estados seguinte, onde B3 , B2 , B1 e B0 são as saídas para as bobinas do motor:

Assinale a alternativa que identifica a estrutura típica do circuito do controlador:
Provas
O diagrama, a seguir, representa um mapa de aplicações de semicondutores de potência como função dos níveis de potência e da frequência de comutação desses componentes. No diagrama, estão identificadas algumas das tecnologias dos dispositivos e também setores de aplicação.

Fonte: Figura de domínio público.
Levando-se em conta os dois parâmetros definidores, os campos assinalados pelos números 1, 2, 3 e 4 correspondem, respectivamente, aos dispositivos de potência:
Provas
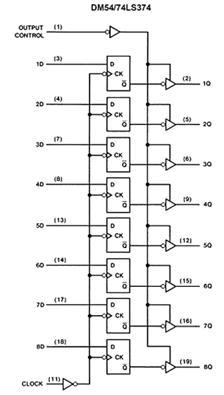
Analise a figura que mostra o diagrama interno do circuito integrado 74LS374:

A alternativa que indica a função lógica CORRETA do circuito é:
Provas
No circuito do retificador ideal U1 e U2 são amplificadores operacionais ideais, D1 e D2 diodos de silício e R1 = R2 . Considere que seja aplicado um sinal senoidal de entrada VE com 0,5V de tensão de pico.

No semiciclo positivo, as condições de D1 e D2 serão:
Provas
- EletrotécnicaAnálise de Circuitos Elétricos
- EletrônicaCircuitos de Corrente Contínua em Eletroeletrônica
Analise o circuito a seguir:

A tensão VXY no resistor R1 é igual a:
Provas
- EletrônicaComponentes Eletrônicos em Eletroeletrônica
- EletrônicaEquipamentos Elétricos em Eletroeletrônica
Provas
- EletrotécnicaEletrônica Digital em Eletricidade
- EletrotécnicaEletrônica Analógica em Eletricidade
- Eletrônica
Provas
- EletrônicaComponentes Eletrônicos em Eletroeletrônica
- EletrônicaEquipamentos Elétricos em Eletroeletrônica
Provas
Caderno Container