Foram encontradas 35 questões.
Analise o desenho a seguir:

Qual das vistas ortográficas está representada em corte nesse desenho?
Provas
Questão presente nas seguintes provas
Segundo a teoria das grandezas físicas do processo de corte, a velocidade de corte (Vc) é a velocidade
instantânea do ponto de referênciada aresta cortante, segundo a direção e o sentido de corte.
Considerando-se que a Vc é influenciada por diversos fatores, assinale a alternativa em que todos os
itens são fatores que a influenciam.
Provas
Questão presente nas seguintes provas
Na soldagem ao arco elétrico com gás de proteção (GMAW – Gas Metal Arc Welding), também conhecida
como soldagem MIG/MAG, um arco elétrico é estabelecido entre a peça e um consumível na forma de
arame. O arco funde continuamente o arame à medida que é alimentado à poça de fusão.
Assinale a alternativa que completa corretamente o enunciado a seguir:
O processo de soldagem MIG utiliza
Assinale a alternativa que completa corretamente o enunciado a seguir:
O processo de soldagem MIG utiliza
Provas
Questão presente nas seguintes provas
A válvula pneumática ou hidráulica é um componente do circuito pneumático que se destina a controlar
a direção, pressão e/ou vazão do ar comprimido. Elas podem ser de controle direcional, de vários
números de vias, reguladores de vazão ou pressão e de bloqueio, com diversos tipos de atuadores.
Observe a ilustração a seguir:
A opção que descreve corretamente a válvula do desenho é
Observe a ilustração a seguir:
A opção que descreve corretamente a válvula do desenho é
Provas
Questão presente nas seguintes provas
Em inúmeras aplicações industriais bem como em sistemas elevatórios de água ou esgoto, o campo de
variação da descarga e da altura manométrica pode ser excessivamente amplo, para ser abrangido pelas
possibilidades de uma única bomba hidráulica. As bombas hidráulicas recebem o trabalho mecânico
e o transformam em energia hidráulica. Em geral, elas podem ser associadas em série ou paralelo,
dependendo das características desejadas para o sistema. Em relação à associação de bombas, é
correto afirmar que
Provas
Questão presente nas seguintes provas
Duas tubulações paralelas escoam água e diesel, em estado líquido, em sentidos opostos, em tubos que
estão em contato. As tubulações são de aço galvanizado; enquanto a água flui a 85°C, a de óleo escoa
a 25°C. As transferências de calor entre os líquidos e a tubulação se dão através dos mecanismos de
Provas
Questão presente nas seguintes provas
Considere o sistema a seguir, formado por duas peças metálicas, I de aço e II de alumínio, presas em
duas paredes laterais, com temperatura ambiente a 10°C. A peça I tem comprimento igual a 15,0 m;
enquanto a peça II tem um comprimento total de 50,0 m. Ainda nessa temperatura, as peças estavam
afastadas por uma pequena distância igual a 5 cm.
Sabendo-se que o coeficiente de dilatação linear da peça I é igual a 1,2 x 10-5 °C-1 e que o coeficiente de dilatação linear da peça II é igual à 2,4 x 10-5 °C-1, qual deverá ser a temperatura do sistema, em graus Celsius, aproximadamente, para que as duas peças se encostem uma à outra?
Sabendo-se que o coeficiente de dilatação linear da peça I é igual a 1,2 x 10-5 °C-1 e que o coeficiente de dilatação linear da peça II é igual à 2,4 x 10-5 °C-1, qual deverá ser a temperatura do sistema, em graus Celsius, aproximadamente, para que as duas peças se encostem uma à outra?
Provas
Questão presente nas seguintes provas
Um corpo pode ter uma forma de falha que ocorre em estruturas submetidas a tensões dinâmicas e
flutuantes (por exemplo, pontes, aeronaves e componentes de máquinas). Sob tais circunstâncias, é
possível para a falha ocorrer num nível de tensão consideravelmente inferior ao limite de resistência à
tração ou ao limite de escoamento para uma carga estática.
Um sistema de eixo apoiado sobre dois mancais sofre carregamentos cíclicos e, após 50.000 ciclos, ocorrem ruptura e falha do eixo.
Com base no exposto, a alternativa que representa a denominação da falha desse eixo é
Um sistema de eixo apoiado sobre dois mancais sofre carregamentos cíclicos e, após 50.000 ciclos, ocorrem ruptura e falha do eixo.
Com base no exposto, a alternativa que representa a denominação da falha desse eixo é
Provas
Questão presente nas seguintes provas
A influência da composição da liga sobre a capacidade de um aço para se transformar à martensita através
de um particular tratamento de têmpera está relacionada a um parâmetro denominado temperabilidade,
termo que é usado para descrever a capacidade de uma liga para ser temperada pela formação de
martensita como um resultado de um dado tratamento térmico. Para todo diferente aço, existe uma
correlação específica entre as propriedades mecânicas e a taxa de resfriamento.
Ao se efetuar uma têmpera em aços-liga, tal procedimento altera as propriedades mecânicas desses aços.
Em relação à têmpera, é correto afirmar que ela
Ao se efetuar uma têmpera em aços-liga, tal procedimento altera as propriedades mecânicas desses aços.
Em relação à têmpera, é correto afirmar que ela
Provas
Questão presente nas seguintes provas
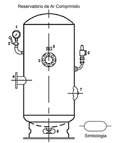
Num sistema pneumático, o reservatório de ar comprimido desempenha grandes funções junto a
todo o processo de produção. Em geral, o reservatório possui as seguintes funções: armazenar o ar
comprimido; resfriar o ar, auxiliando a eliminação do condensado; compensar as flutuações de pressão
em todo o sistema de distribuição; estabilizar o fluxo de ar; controlar as marchas dos compressores etc.
No Brasil, os reservatórios de ar comprimido seguem a especificação, conforme a norma PNB 109 da
A.B.N.T, a qual recomenda que, para a instalação, os reservatórios devem ser afixados, de modo que
todos os drenos, as conexões e as aberturas de inspeção sejam facilmente acessíveis.
Observe a imagem a seguir:
De acordo com as numerações indicadas nesse desenho, a correlação correta é:
Observe a imagem a seguir:
De acordo com as numerações indicadas nesse desenho, a correlação correta é:
Provas
Questão presente nas seguintes provas
Cadernos
Caderno Container