Foram encontradas 35 questões.
Considerando os procedimentos de reenergização, assinale a alternativa que não representa um procedimento estabelecido no subitem 10.5.2.
Provas
Provas
Sobre os dispositivos semicondutores de potência, numere a coluna II de acordo com a coluna I.
COLUNA I | COLUNA II |
1. GTO | ( ) A condução de corrente pode ser ativada para ambos os sentidos por meio de um pulso apropriado aplicado ao terminal porta. Muito usado na retificação controlada AC. |
2. DIAC | ( ) Possui condução de corrente unidirecional, sendo ativada por um pulso positivo no terminal porta. A interrupção da condução pode ocorrer quando é aplicado um pulso negativo na porta. |
3. TRIAC | ( ) Condução de corrente bidirecional. Possui apenas dois terminais. Para entrar no estado de condução, a diferença de potencial entre os seus terminais precisa superar a tensão de disparo. |
4. SCR | ( ) Condução de corrente unidirecional, que pode ser ativada com um pulso apropriado aplicado no terminal porta. Somente pode entrar no estado desligado quando a corrente de anodo é interrompida. |
A alternativa que apresenta a sequência correta que relaciona a coluna I e a coluna II é
Provas
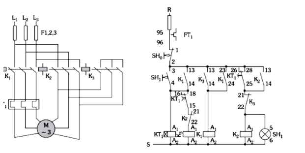
Observe o circuito da figura seguir:

Com base nesse circuito, é correto afirmar que ele representa um
Provas
FRANCHI, C. M. Sistemas de acionamento elétrico. 1. ed. São Paulo: Érica, 2013.
Considerando que o relé temporizador foi ajustado para o correto funcionamento do circuito, assinale a alternativa que corresponde à sequência correta de abertura e fechamento dos contatores K1 , K2 e K3 ao se pressionar o botão pulsador SH1 .
Provas
I. O inversor de frequência permite variar a velocidade de rotação do campo magnético girante do estator e, consequentemente, a rotação do motor de indução.
II. Em um sistema de partida direta, a corrente de partida do motor é significativamente menor em comparação com sistemas de partida mais complexos, como o sistema estrela-triângulo.
III. Os equipamentos conhecidos como soft-starters fazem o controle da tensão aplicada sobre o motor através do uso de circuitos tiristorizados controlados eletronicamente.
IV. Em um sistema de partida estrela-triângulo, a transição do modo estrela para o modo triângulo ocorre de maneira instantânea, sem qualquer impacto na corrente do motor.
V. A chave compensadora utiliza autotransformadores com derivações centrais que permitem partir o motor com uma tensão reduzida e então aumentá-la em passos progressivos até alcançar o seu valor pleno.
Estão corretas as afirmativas
Provas
Quanto aos dispositivos usados para comando e proteção de motores elétricos, é incorreto afirmar que
Provas
Considere que ZLT seja igual a (2 + j8) Ω e Zc seja (9 + j12) Ω. Se o voltímetro V2 está lendo uma tensão de 100 V RMS, então a tensão lida pelo voltímetro V1 é igual a
Provas
Analise o circuito a seguir:

A potência dissipada no resistor R1 é igual a
Provas
Assumindo que este circuito esteja em regime permanente, a tensão aplicada sobre o capacitor, com a polaridade indicada na figura, será igual a
Provas
Caderno Container