Magna Concursos

Foram encontradas 50 questões.

318283 Ano: 2017
Disciplina: Engenharia Mecânica
Banca: UFPA
Orgão: UFPA
Provas:
O processo de soldagem arame tubular autoprotegido utiliza
 

Provas

Questão presente nas seguintes provas
318282 Ano: 2017
Disciplina: Engenharia Mecânica
Banca: UFPA
Orgão: UFPA
Provas:

A roda dentada é usada em uma transmissão e está presa a um eixo de 20 mm de diâmetro por uma chaveta com uma seção transversal de 5 mm x 5 mm e comprimento de 40 mm, conforme mostrado na figura. No momento em que a engrenagem é acionada nos dentes por uma força de 7 kN, a tensão de cisalhamento (MPa) à qual a chaveta está submetida é

enunciado 318282-1

 

Provas

Questão presente nas seguintes provas
318280 Ano: 2017
Disciplina: Engenharia Mecânica
Banca: UFPA
Orgão: UFPA
Provas:
A expressão U.I.V¬1.cosα é bastante usada em operações de soldagem ao arco voltaico, em que U, I e V¬1 são, respectivamente, a tensão, a corrente e a velocidade de soldagem, e cosα é a componente útil entre U e I. Neste caso, o fator de potência da fonte está representado
 

Provas

Questão presente nas seguintes provas
318279 Ano: 2017
Disciplina: Engenharia Mecânica
Banca: UFPA
Orgão: UFPA
Provas:
O número de coordenação de uma estrutura cristalina é igual ao número de vizinhos mais próximos que um átomo possui no reticulado. Os reticulados CFC, CCC e HC têm, respectivamente, os seguintes números de coordenação:
 

Provas

Questão presente nas seguintes provas
318278 Ano: 2017
Disciplina: Engenharia Mecânica
Banca: UFPA
Orgão: UFPA
Provas:
Ao se comparar a máquinas a vapor e a turbinas a vapor, é CORRETO afirmar o seguinte:
 

Provas

Questão presente nas seguintes provas
318277 Ano: 2017
Disciplina: Engenharia Mecânica
Banca: UFPA
Orgão: UFPA
Provas:
O tratamento térmico empregado nos aços ferramentas é
 

Provas

Questão presente nas seguintes provas
318275 Ano: 2017
Disciplina: Engenharia Mecânica
Banca: UFPA
Orgão: UFPA
Provas:
O ensaio Charpy V, quando aplicado em materiais metálicos, tem por objetivo avaliar
 

Provas

Questão presente nas seguintes provas
318273 Ano: 2017
Disciplina: Engenharia Mecânica
Banca: UFPA
Orgão: UFPA
Provas:
Numa operação de soldagem, o fator de trabalho é
 

Provas

Questão presente nas seguintes provas
318272 Ano: 2017
Disciplina: Engenharia Mecânica
Banca: UFPA
Orgão: UFPA
Provas:

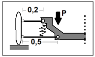
A figura abaixo mostra um sistema de suspensão de um veículo, o qual possui um peso P = 14 kN que se distribui uniformemente nas quatro rodas. Sendo a constante de rigidez da mola K = 43 kN/m e considerando que as barras têm o comportamento de um corpo rígido sem qualquer interferência inercial, a frequência natural (rd/s) para o sistema da figura, cujas dimensões estão em metro (g=9,81 m/s2), é

enunciado 318272-1

 

Provas

Questão presente nas seguintes provas
318271 Ano: 2017
Disciplina: Engenharia Mecânica
Banca: UFPA
Orgão: UFPA
Provas:
Os óleos lubrificantes representam um papel importante para o funcionamento de máquinas e equipamentos, no que diz respeito aos movimentos das peças e suas proteções. Por outro lado, sobre o seguinte: óleos lubrificantes, é CORRETO afirmar que
 

Provas

Questão presente nas seguintes provas