Foram encontradas 1.568 questões.
Para um estaqueamento de 20 metros, foram realizadas visadas por meio de um nivelamento geométrico, iniciando-se na estaca A, de altitude conhecida (385,00 m), obtendo-se os seguintes dados e informações: Estaca A: visada ré = 3,80 m; Estaca B: visada vante = 1,60 m; declividade BC = -3,0%. Qual a altitude da estaca C?
Provas
Se em uma planta topográfica na escala 1:200 a análise de uma área resultou em 3780 cm2, no terreno esta área corresponderá em m2 a:
Provas
Considere os seguintes dados:
- AB: rumo = N47°30’W; comprimento = 15 m
- BC: comprimento = 25 m
- AC: azimute = 222,5°
Tratando-se de uma poligonal fechada, qual o comprimento AC?
Provas
Um termo empregado para a técnica de “solo reforçado” para melhoria do terreno é:
Provas
A UFSCar construirá 2 edifícios (em concreto armado) com 3 pavimentos no campus Rural Lagoa dos Sinos. Uma campanha de sondagens de simples reconhecimento verificou que o subsolo apresenta as seguintes características: o nível de água é encontrado a 3 m abaixo do nível do terreno; o solo é arenoso até 15 m de profundidade; as sondagens foram paralisadas por impenetrabilidade à percussão com 15 m de profundidade; o valor do índice de resistência a penetração (NSPT) obtido foi menor que 5 (cinco), até 10 m de profundidade. Dentre os tipos de fundações relacionadas a seguir, escolha a mais adequada para uso nesses edifícios:
Provas
Considerando os comandos internacionais do AutoCAD e sua configuração padrão, para copiar parte de um desenho (Arquivo de desenho A) para outro arquivo vazio (Arquivo de desenho B), preservando as coordenadas originais dos elementos do desenho do Arquivo A, qual das alternativas seguintes descreve a melhor sequência da operação?
Provas
A figura seguinte representa o detalhe de um corte que identifica alguns elementos e componentes de uma edificação. Escolha qual a opção que denomina corretamente o conjunto deles.

Provas
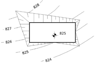
Para edificar um bloco de salas de aulas, será necessária a execução de serviços de terraplenagem para constituir um patamar retangular, com dimensões de 15 metros de largura e 45 metros de comprimento, na cota 825. Considerando as condições de implantação dispostas na figura seguinte, assinale qual a alternativa correta para representar a planta indicativa dos cortes e aterros que serão realizados.

Provas
O processo de trabalho pode ser decomposto em três elementos: objeto de trabalho, os meios e instrumentos do trabalho e a atividade adequada a um fim. Um dos instrumentos potentes do processo de trabalho gerencial consiste de quatro momentos que são interdependentes e articulados, denominados por: explicativo, normativo, estratégico e tático-operacional. Estes momentos compõem:
Provas
Sobre a Hipertensão Arterial, assinale a alternativa incorreta:
Provas
Caderno Container