Foram encontradas 620 questões.
A figura abaixo representa um trecho de uma rede coletora de esgoto.

Com base nesse desenho, assinale a alternativa correta:
Provas
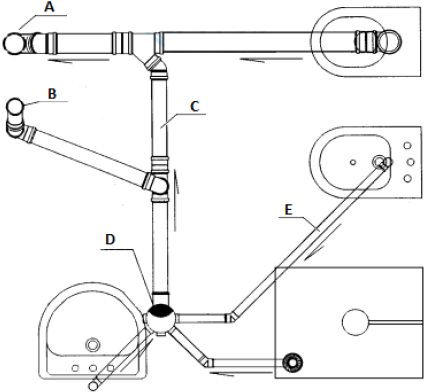
O desenho abaixo representa a instalação predial de esgoto sanitário de um banheiro. Nesse desenho estão indicados cinco componentes desse sistema, representado pelas letras A, B, C, D, E.

Figura: Instalação predial de esgoto sanitário de um banheiro.
Assinale a alternativa correta que define cada componente:
Provas
Um trecho de uma rede de distribuição de água é formado pela interligação dos pontos A e B, distantes de uma distância L entre si. A cota do terreno no nó A é 100,00m e a cota do terreno no nó B é 95,00m. A cota piezométrica do nó A está situada em 115,00m e a cota piezométrica do nó B está situada em 120,00m. Sabendo que as cotas mencionadas estão relacionadas a um mesmo referencial, assinale a alternativa que contenha a afirmação verdadeira:
Provas
Uma tubulação com seção transversal quadrada de lado a está conduzindo uma vazão Q de esgoto a meia seção. Sabendo que a tubulação foi assentada com declividade longitudinal I, está correto afirmar que:
Provas
As quatro figuras indicadas dentro do quadro a seguir representam, respectivamente (da esquerda para a direita),:

Provas
Segundo o Código de Trânsito Brasileiro (Lei nº 9503, 1997), uma via “caracterizada por acessos especiais com trânsito livre, sem interseções em nível, sem acessibilidade direta aos lotes lindeiros e sem travessia de pedestres em nível” pode ser denominada de:
Provas
A abordagem de dimensionamento de pavimentos pelo método mecanístico-empírico emprega a teoria da elasticidade. São mais gerais que os métodos empíricos, mas exigem o conhecimento dos modelos constitutivos (relação “tensão x deformação”) dos materiais, sendo possível a previsão do comportamento dos pavimentos a partir da determinação das tensões e deslocamentos. Nesta abordagem, a caracterização dos materiais é realizada a partir de:
Provas
É material empregado em revestimentos de pavimentos:
Provas
Segundo a NBR 15115: 2004 e o uso de agregados reciclados de resíduos sólidos da construção civil para execução de camadas de pavimentação, é correto afirmar:
Provas
Segundo a NBR 15115: 2004 que trata dos procedimentos para execução de camadas de pavimentação com o uso de agregados reciclados de resíduos sólidos da construção civil, e verdadeira a afirmação:
Provas
Caderno Container